kunstgeschiedenis

  • Period: 3500 BCE to 1450 BCE

    Minoïsche beschaving

    op Kreta, benoemt naar Minos
  • fresco
    1650 BCE

    fresco

    een fresco uit 1650 vC zijn boten met enkele mast en zeil afgebeeld, waarin handel werd gedreven. Deze schepen worden vergezeld door vrolijke dolfijnen. Ook het paleis van Knossos is gedecoreerd met dolfijnen.
  • Period: 1600 BCE to 1200 BCE

    Myceense beschaving

    in Griekeland vanuit de minoische cultuur
  • het paleis te Mycene
    1300 BCE

    het paleis te Mycene

  • Period: 1000 BCE to 500

    klassieke kunst

    de griekse en romeinse kunst
  • Period: 1000 BCE to 800 BCE

    geometrische stijl (schilderkunst)

    Deze kenmerkt zich door:
    • symmetrie
    • horizontale banen met meetkundige figuren als meanders, driehoeken en spiralen
    • mens- en dierfiguren werden afgebeeld als vereenvoudigde, gestileerde silhouetten
    • zwarte figuren
  • geometrische pot (schilderkunst)
    900 BCE

    geometrische pot (schilderkunst)

  • Period: 800 BCE to 500 BCE

    De Archaïsche periode (beeldhouwkunst)

    Het woord archaïsch betekent vrij vertaald 'uit het begin'. In deze tijd werden de eerste grote tempels gebouwd en ook de schilderkunst en monumentale beeldhouwkunst kwam tot ontwikkeling.
  • 776 BCE

    eerste olymische spelen

  • Period: 700 BCE to 600 BCE

    dorische orde (bouwkunst)

    De vroege Dorische bouwstijl is zwaar en simpel
    .
    de Dorische zuil heeft geen voetstuk
    de schacht van de zuil is opgebouwd uit trommels die naar beneden toe iets verbreden, de zuil 'bolt' een beetje
    de cannelures zijn spits, breed en ondiep
    het kapiteel bestaat uit een vierkante deksteen die rust op een rond kussen
    het fries vertoont afwisselend trigliefen (drie opstaande 'balkjes') en methopen (platen, vaak met beeldhouwwerk)
  • Archaïsch beeld (beeldnhouwkunst)
    650 BCE

    Archaïsch beeld (beeldnhouwkunst)

    Archaïsche kenmerken: Deze beelden hebben nog een statische en frontale houding
    de haren zijn zeer gestileerd weergegeven in vlechtpatronen
    de lichaamsvormen werden met lijnen aangegeven
  • doriche tempel (bouwkunst)
    650 BCE

    doriche tempel (bouwkunst)

  • Period: 650 BCE to 50 BCE

    de griekse oudheid

  • Period: 600 BCE to 300 BCE

    ionische orde (bouwkunst)

    De Ionische bouwstijl is slanker en fijn versierd. de zuilen zijn smaller en slanker
    kenmerkend zijn het basement en
    de spiraalvormige voluten aan het kapiteel
    Bij de Ionische orde is de fries doorlopend versierd met beeldhouwwerk in reliëf. Hier zijn dan geen trigliefen meer te zien, maar een voorstelling, van bijvoorbeeld een processie ter ere van de God of Godin.
    Op de architraaf worden horizontale lijnen aangebracht, zodat het optisch drie balken lijken.
  • Period: 600 BCE to 500 BCE

    de zwartfigurige stijl (schilderkunst)

    • zwarte silhouetten op oranjerode achtergrond, getekend op een archaïsche manier,
    • details werden na het bakken met harde stift ingekrast en bijgekleurd
    • de voorstellingen tonen nu mythologische scènes en taferelen uit het dagelijkse leven. Op de vaas rechts spelen Achilles en Ajax een bordspel.
  • ionische tempel (bouwkunst)
    550 BCE

    ionische tempel (bouwkunst)

  • zwartfigurige pot (schilderkunst)
    550 BCE

    zwartfigurige pot (schilderkunst)

  • Period: 500 BCE to 350 BCE

    De Klassieke periode (beelhouwkunst)

    n deze periode kwamen vrijwel alle denkbare cultuuruitingen tot grote bloei: filosofie, politiek, literatuur, muziek, schilderkunst, beeldhouwkunst en architectuur. De verworvenheden uit deze tijd zijn in de loop van de geschiedenis van zoveel betekenis en invloed gebleken, dat deze periode klassiek wordt genoemd.
  • Period: 500 BCE to 400 BCE

    de roodfigurige stijl (schilderkunst)

    • De silhouetten van de figuren werden uitgespaard, maar de details werden na het bakken met een fijn penseel ingevuld: dit liet een grotere precisie toe dan bij de zwartfigurige stijl.
    • de motieven en voorstellingen bleven dezelfde als bij de zwartfigurige stijl.
    • net als in beeldhouwkunst werd de lichaamshouding steeds natuurlijker uitgebeeld.
    ze gebruke ook witte kleu voor vrouwen.
  • roodfigurige pot (schilderkunst)
    450 BCE

    roodfigurige pot (schilderkunst)

  • klassiek beeld (beeldhouwkunst)
    400 BCE

    klassiek beeld (beeldhouwkunst)

    Klassieke kenmerken: het algemene schoonheidsideaal werd weergegeven
    toepassing van de contraposto
    perfecte weergave van de anatomie
    er was sprake van harmonie tussen spanning en ontspanning
    het beeld kon van alle kanten bekeken worden
    de archaïsche, strakke glimlach is vervangen door een natuurlijke uitdrukking
  • Period: 350 BCE to 50 BCE

    De Hellenistische periode (beeldhouwkunst)

    Deze tijd begint met de veroveringen van Alexander de Grote. Zijn rijk strekte zich uit van Griekenland tot ver in het Midden-Oosten. Na verloop van tijd nam de macht van de Grieken echter steeds verder af.
  • Period: 300 BCE to 150

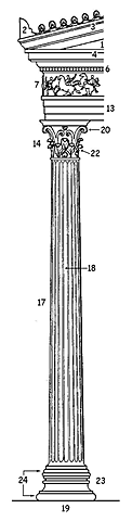
    Korinthische orde (bouwkunst)

    De latere Corintische bouwstijl is eigenlijk een variant op de Ionische. Het verschil zit hem voornamelijk in het rijk gedecoreerde kapiteel met acanthusbladeren. De architecten konden de tempels wel steeds hoger bouwen, met slankere zuilen.
  • Hellenistische beeld (beeldhouwkunst)
    100 BCE

    Hellenistische beeld (beeldhouwkunst)

    Hellenistische kenmerken: stevig, gespierde lichamen
    meer individualisme, portretten
    veel emotie en beweging: complexe theatrale beelden
    de dynamische beelden stonden vaak tegen een steunpunt, om het stabieler te maken
  • Corintische temple (bouwkunst)
    50 BCE

    Corintische temple (bouwkunst)

Plan projects on a visual timeline

Map milestones, phases, deadlines, and key events in one place so the sequence is easier to see and share. Timetoast is a timeline maker for work, school, research, and stories.