Radio through time

  • Tesla  granted a US patent

    Tesla granted a US patent

    Nikola Tesla is granted a US patent for "system of transmitting electrical energy" and "an electrical transmitter". Both his product took years od development in transmitting and receiving radio signals. This was the start of radio.
    http://www.greatachievements.org/?id=3659</a>
  • Marconi picks up the first transatlantic radio signal

    Marconi picks up the first transatlantic radio signal

    Guglielmo Marconi, waiting at a wireless receiver in St. John’s, Newfoundland, picks up the first transatlantic radio signal. Transmitted form Cornwell, England. Marconi’s engineers send a copper wire aerial skyward by hoisting it with a kite. Marconi builds a booming business using radio as a new way to send Morse code. http://www.greatachievements.org/?id=3659
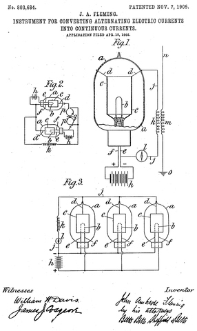
  • Fleming invents the vacuum diode

    Fleming invents the vacuum diode

    British engineer Sir John Ambrose Fleming invents the two-electrode radio rectifier; or vacuum diode, which he calls an oscillation valve. Based on Edison's lightbulbs, the valve reliably detects radio waves.Transcontinental telephone service becomes possible with Lee De Forest's 1907 patent of the triode, or three-element vacuum tube, which electronically amplifies signals.
  • Audion

    Audion

    lee De Forest expands on flemings invention by putting a third wire, or grid, into a vacuum tube, creating a sensitive receiver he calls it "Audion". Later in his Experimants the feeds the audion output back into its grid and finds that this regenerative circuit can transmit signals.
  • Christmas Eve 1906 program

    Christmas Eve 1906 program

    Professor Reginald Fessenden transmits a voice and music program in Massachusetts that is picked up as far away as Virginia!
  • Radio signal amplifier devised

    Radio signal amplifier devised

    Edwin Howard Armstrong devises a regenerative circuit for the triode that amplifies radio signals. By pushing the current to the highest level of amplification, he also discovers the key to continuous-wave transmission, which becomes the basis for amplitude modulation (AM) radio. He had a law suit with De Forest the courts sided with him but the scienrific communitty credits Armstrong as the inventor of the regenerative circuit.
  • Superheterodyne Circuit

    Superheterodyne Circuit

    Edwin Howard Armstrong invents the superheterodyne circuit, an eight-tube receiver that dramatically improves the reception of radio signals by reducing static and increasing selectivity and amplification.
  • First scheduled commercial radio programmer

    First scheduled commercial radio programmer

    Station KDKA in Pittsburgh becomes radio’s first scheduled commercial programmer with its broadcast of the Harding-Cox presidential election returns, transmitted at 100 watts from a wooden shack atop the Westinghouse Company’s East Pittsburgh plant.
  • Radiovisor

    Radiovisor

    Washington, D.C. Jenkins invented the radiovisor. Radiovisor is a multitube radio set with a special scanning-drum attachment for receiving pictures—cloudy 40- to 48-line images projected on a six-inch-square mirror. Jenkins’s system, like Baird’s, broadcasts and receives sound and visual images separately.
  • FM radio

    FM radio

    Edwin Howard Armstrong develops FM radio a solution to the static interference problem that plagues AM radio transmission. Rather than increasing the strength or amplitude of his radio waves, Armstrong changes only the frequency on which they are transmitted.
  • Transistor is invented!

    Transistor is invented!

    The future of radio and television is forever changed when John Bardeen, Walter Brattain, and William Shockley of Bell Laboratories co-invent the transistor.
  • First all-transistor radio

    First all-transistor radio

    Regency Electronics introduces the TR-1, the first all-transistor radio. It operates on a 22-volt battery and works as soon as it is switched on, unlike tube radios, which take several minutes to warm up. No larger than a package of cigarettes!
  • Integrated Circuit

    Integrated Circuit

    Jack S. Kilby and Robert Noyce working independently, create the integrated circuit, a composite semiconductor block in which transistor, resistor, condenser, and other electrical components are manufactured together as one unit.

Looking for a timeline maker?

Create timelines for projects, roadmaps, history, lessons, legal cases, and stories with Timetoast. Timetoast is a timeline maker for work, school, research, and stories.