Elevator

History of the Elevator

  • Ancient Elevators
    Sep 13, 1000

    Ancient Elevators

    The first elevators are described as hemp rope attached to cabs, pulled by hands or animals. These prototype elevators are based on hoists and pulley systems and were used to move heavy loads.
  • Screw Drive Elevator

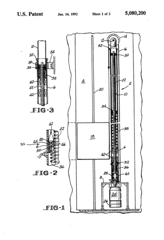
    Screw Drive Elevator

    The first screw drive elevator was installed in Winter Palace. This was the beginning of passenger elevation. The image shows a patent drawing of how the elevator works - the screwing mechanism carries the cab up or down.
  • Ascending Room

    A tourist attractioin was opened in London called "The Ascending Room" where people where raised very high to see a panorama of the downtown area.
  • Steam Elevator

    Steam Elevator

    Steam elevators were refined in this period.They were driven with conveyor-style belts, and had a counterweight piece for extra power. In general, they were used for moving raw materials. The image displays the conveyor system that is used to allow elevator movement.
  • Hydraulic Crane

    Hydraulic Crane

    This new crane utilizes Pascal's law, which describes how much more force can be used to raise and lower a much heavier load on a platform. It utilized counterweights and balances to further increase the power. Though not a passenger elevator, these machines are used to life vastly heavy loads.
  • Safety Elevator

    Safety Elevator

    A new design was made that has rollers that lock the elevator to its guides so that if the elevator descends too quickly, the cab does not derail.
  • Electric Elevator

    Electric Elevator

    Floor control, automatic acceleration control, and safety features are all added to elevators. Speed and efficiency were increased. The idea for multiple elevators in a single shaft was devised.
  • Vacuum Elevators

    Vacuum Elevators

    The first vacuum elevator was offered commercially. They do not require cables so are safer and are able to be installed quickly and more easily than alternatives. These are still not common, but increasing in popularity.
  • Elevators of Today

    Elevators of Today

    Virtually all elevators are automatic and computerized. They have precise scheduling, efficiency and are extremely safe. They are architecturally expressive as well as functional.

Want to make a timeline like this?

Use Timetoast to turn dates, events, milestones, and phases into a clear visual timeline you can build and share. Timetoast is a timeline maker for work, school, research, and stories.