The Industrial Revolution

By Aaronc
  • Coal Coke

    Abraham Darby uses coal coke to smelt iron to move the mass production of iron goods forward. Traditionally furnaces used charcoal form wood to power furnaces but the charcoal could not take the heat required for smelting and limited iron production. Darby used a product of coal called coal coke that could support the furnaces. If the coal had to much sulfur content the iron would be come to brittle for practical use, so Darby had to be picky when chosing his coal source.
  • John Kay's Flying Shuttle

    John Kay's Flying Shuttle

    Before John Kay's invention, a single cloth could only be woven as far as a man could reach because he had to hand the shuttle back and forth to himeself. The flying shuttle ended this by allowing the shuttle to move across a much wider area. It also enhanced the speed of the weaving process making weaving more practical.
    http://commons.wikimedia.org/wiki/File:Flying_Shuttle_Loom_in_Weaver%27s_Cottage_Museum_-_geograph.org.uk
  • The Watt Steam Engine

    The Watt Steam Engine

    Though James Watt did not invent the steam engine he made many significant improvements in the Watt steam engine that increased efficiency and usefulness. One of his steam engines was used in a London brewery for over 100 years. Its time at the brewery showed its many uses by allowing the machine to perform different tasks of different natures.
    http://commons.wikimedia.org/wiki/File:Watt%27s_condensing_engine_(New_Catechism_of_the_Steam_Engine,_1904).jpg
  • Cotton Gin

    Cotton Gin

    The cotton gin was invented by Eli Whitney as a way to quickly get the seeds out of the cotton plant. This was widely popular in rural communities that produced cotton because it made it easier and more efficient. Original cotton gins were hand cranked but soon became powered by water wheels or other mechanical devices. Like many inventions of the industrial revolution, the components of the machine were already in existance.
    http://commons.wikimedia.org/wiki/File:Cotton_gin_EWM_2007.jpg
  • Steam Locomotive

    Steam Locomotive

    On February 21, 1804, Richard Trevithick demonstrated his steam locomotive on the world's first railway journey. He took his steam locomotive 9 miles from Penydarren to the Merthyr-Cardiff canal in South Wales. This hourney cam e several years before steam locomotion was commercially viable which made Trevithick the father of railways. The machine had been rendered to heavy for the rails and had to be made lighter.
    http://commons.wikimedia.org/wiki/File:Locomotive_trevithick.svg
  • Fox Talbot Produces Photographs

    Fox Talbot Produces Photographs

    Fox talbot began experimenting with chemical compounded paper and salt as a preservative in making his first photographs. The paper would become darker when exposed to sunlight or any other light source going from white to black. Talbot placed an object over the paper and where it was covering remained white. The salt was used to stop the chemical process of the paper so the image could be preserved.
    http://commons.wikimedia.org/wiki/File:William_Henry_Fox_Talbot,_by_John_Moffat,_1864.jpg
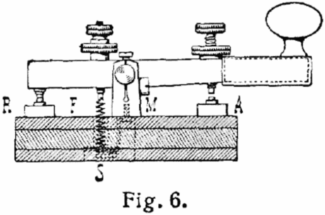
  • Telegraph and Morse Code

    Telegraph and Morse Code

    The invention of the telegraph was one of the largest steps foreward in communication in all of human history. Samuel morse invented the most practical and commercially marketable telegraph system using properties of electromagnetism. The system was based on a language of long taps and short taps on the transmitter device. These taps could be assembled in different orders to produce an alphabet or Morse code.
    http://commons.wikimedia.org/wiki/File:L-Telegraph1.png
  • Dynamite

    Alfred Nobel invented the first high explosive that could be safely handled and manipulated. He found out about nitroglycerin and how it was not very volatile in its regular liquid form. He mixed the liquid with silica to make a gel like material known as dynamite which was very malleble. He is also the namesake for the Nobel Prize given out yearly to those whose work helps humanity.
  • Bell Invents Telephone

    Alexander Graham Bell was a man on a mission to improve on the telegraph system when he realized he could here a ticking clock over the wire. He went on to experiment with this property to try and create a communication system. This system was very succesful, for it was much easier to talk to a person than to send them dots and dashes. On March 10, 1876, Bell said to his assisstant over his telephone,"Mr. Watson, come here. I want to see you."
  • Phonograph

    Thomas Edison was an inventor of many things, one of which was the phonograph. The phonograph was capable of taking messages inscribed as indentations on a cylinder and play them back as an audio recording. A needle was used to read the cylinder and produce vibrations that are amplified to be able to here. Edison's forst recording on his machine was the nursery rhyme Mary had a Little Lamb

Looking for a timeline maker?

Create timelines for projects, roadmaps, history, lessons, legal cases, and stories with Timetoast. Timetoast is a timeline maker for work, school, research, and stories.