The Invention of the Motorcycle

By Trotter
  • First Motorcycle

    First Motorcycle

    Sylvester Howard Roper invents the first motorcycle. It was a 2 cylinder, steam engine powered by coal.
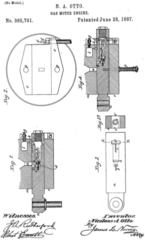
  • First 4 Stroke

    First 4 Stroke

    Nicolaus Otto creates the first four-stroke piston cycle internal combustion engine which was put into the first motorcycle.
  • First Gas Powered Motorcycle

    First Gas Powered Motorcycle

    Gottlieb Daimler creates the first gas engine powered motorycle attached to wooden bike
  • Pneumatic Tires

    Pneumatic Tires

    Alew Millet incorporated the use of pneumatic tires instead of heavy. solid rubber tired.
  • First Series Production

    First Series Production

    Hildebrand & Wolfmüller created the first series production motorcycle. Made Travel easier, just as the car did in later years.
  • DeDion-Buton Engine

    DeDion-Buton Engine

    French firm DeDion-Buton created an engine that was easy to produce and allowed mass production of motorcycles. used by many companies including Harley-Davidson.
  • Indian Motocycle Manufacturing Company

    Indian Motocycle Manufacturing Company

    First big motorcycle company originally known as Indian Hendee Manufacturing Company but renamed to Indian Motocycle Manufacturing Company in 1928.
  • Triumph

    Triumph

    Initially Bonneville Coventry Ltd, Triumph Motorcycles was one of the forefathers of invention. Huge part of creation and still a big influence to this day, with advancements engineering they remain as a big game changer,
  • Harley Davidson

    Harley Davidson

    William Harley and the Davidsons brothers launched the Harley-Davidson Motor Company, which is very popular today. Aided in creation of choppers the bigger street bikes, which are still popular today.
  • Pneumatic Suspension Forks

    Pneumatic Suspension Forks

    The Scott Motorcycle Company started to produce motorcycles with telescopic pneumatic suspension systems.
  • BMW Motorrad

    BMW Motorrad

    BMW Motorrad gets into the game as an expansion of BMW and becomes very popular throughout history. they incorperated the Boxer Engine into motorcycles paving the way for diffrent configurations in later years.
  • Boxer Engine

    Boxer Engine

    BMW created a motorcycle using a compact "boxer" engine that was enclosed with the transmission inside an aluminum housing.
  • Ducati

    Ducati

    Ducati started as an italian company for hoses, tubes, condesners, and radio components but created a motorcycle prototype in 1944. It was a hit with public and Ducati started producing motorcycles. They are a major influence in the racing industry, and with super/sport bikes today.
  • KTM

    KTM

    KTM is knnown for its off-road motorbikes. They were one of the first companies to make a more versitile motorcycle allowing it to go anywhere, but also built street bikes.
  • Hydrualic Suspension Forks

    Hydrualic Suspension Forks

    BMW started to mass produce motorcycles that were equipped with hydrualic teloscopic forks.
  • Kawasaki

    Kawasaki

    Originally known as Meguro Manufacturing Co, the oldest japanese motorcycle company. The Kawasaki Heavy Industries and Meguro Manufacturing Co merged in 1962 to form Kawasaki Motorcycle Co.
  • Suzuki

    Suzuki

    Suziki introduced their first models of motorcylces in 1952, and became a big infuence in motorsports still to this day.
  • Honda

    Honda

    Honda begins motorcycle production, and becomes one of the larger producers of today.
  • Yamaha

    Yamaha

    Yamaha launches their first production of motorcycles in 1955. They helped create larger advances in CC's of engines. Also a big influnce in motorsports to this day.
  • Disc brakes

    Disc brakes

    Honda introduced the first motorcycle, the CB750, with disc brakes.
  • Motorcycle Gear Shifter

    Motorcycle Gear Shifter

    Charles W. Lindquist patented an adjustable stirrup type motorcycle gear shifter allows the cyclist to slip his shoe into shifting position, either sidewardly or lengthwise, for safe retention during up and down gear shifting.
  • Buell

    Buell

    Ex- Harley Davidson engineer Erik Buell founds Buell Motorcycles. in 1993 Harley aquires 49% of Buell. In October 2009 Harley dicontinues Buell, In November Buell Racing is launched. Created lightweight tube-frame bikes, important for racing industry.
  • Anti-Lock Brakes

    Anti-Lock Brakes

    BMW was the first motorcylce company to introduce an anti-lock brake system to theie motorcycles.
  • Motorcycle Airbag

    Motorcycle Airbag

    Yasuhito Miyata patanted the first airbag designed for a motorcycle
  • Yamaha Hybrid

    Yamaha Hybrid

    Yamaha patents its hybrid system for better feul efficiency
  • Honda Hybrid

    Honda Hybrid

    Honda patents its hybrid motorcycle system for better fuel efficiency
  • Water-cooled Electric Engine

    Water-cooled Electric Engine

    Brammo Empulse Motorcycle is equipped with a water cooled electric elngine. never done before on electric bikes
  • Frameless Motorcycle

    Frameless Motorcycle

    Ducati designed a motorcycle with no skeletal frame to severely cut down weight and increase motorcycle performance

Plan projects on a visual timeline

Map milestones, phases, deadlines, and key events in one place so the sequence is easier to see and share. Timetoast is a timeline maker for work, school, research, and stories.