TIPOS DE ROBOTS INDUSTRIALES

  • Robot cartesiano

    Robot cartesiano

    Utiliza tres dispositivos deslizantes perpendiculares entre
    si, para generar movimientos de acuerdo a los tres ejes cartesianos X, Y y Z.
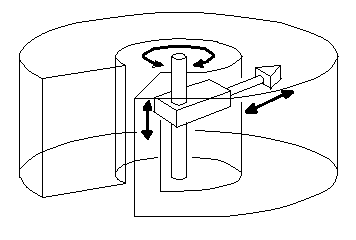
  • Robot cilindrico

    Robot cilindrico

    Se basa en una columna vertical que gira sobre la base. También tiene
    dos dispositivos deslizantes que pueden generar movimientos sobre los ejes Z e Y.
  • Robot esférico

    Robot esférico

    Utiliza un brazo telescópico que puede bascular en torno a un eje
    horizontal. Este eje telescópico está montado sobre una base giratoria. Las articulaciones
    proporcionan al robot la capacidad de desplazar el brazo en una zona esférica.
  • Robot de brazo articulado

    Robot de brazo articulado

    Se trata de una columna que gira sobre la base. El brazo contiene
    una articulación, pero sólo puede realizar movimientos en un plano.
  • Robot antropomórfico

    Robot antropomórfico

    Está constituido por dos componentes rectos que simulan el brazo
    o antebrazo humano, sobre una columna giratoria. Estos antebrazos están conectados mediante articulaciones que se asemejan al hombro y al codo.

A list shows items. A timeline shows sequence.

Use Timetoast to make dates, milestones, and turning points easier to understand in a clear visual format. Timetoast is a timeline maker for work, school, research, and stories.