Modelos atomicos 1 638

Proceso histórico del Desarrollo del modelo atómico

  • ÁTOMO DE HIDRÓGENO
    1913 BCE

    ÁTOMO DE HIDRÓGENO

    El físico danés Niels Bohr (1885-1962) se propuso explicar cómo podía ser estable el átomo de hidrógeno, considerando el modelo masivo en El Centro y el electrón moviéndose alrededor.
  • PROTÓN Y NEUTRÓN
    1911 BCE

    PROTÓN Y NEUTRÓN

    Rutherford fue quien descubrió el protón en 1911 y posteriormente su alumno Chadwick descubrió el neutrón, en 1932.
  • MASA DEL UN ELECTRÓN
    1909 BCE

    MASA DEL UN ELECTRÓN

    Robert Millikan (1868-1953) consiguió medir la masa del electrón.
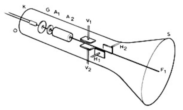
  • COCIENTES DE CARGA
    1897 BCE

    COCIENTES DE CARGA

    El científico inglés Joseph J. Thomson (1846-1940) utilizó un tubo de rayos catódicos para determinar el cociente de la carga q y la masa m de la partícula que necesariamente debía formar parte del haz de rayos.
  • CORRIENTE ELÉCTRICA
    1745 BCE

    CORRIENTE ELÉCTRICA

    Entre 1807 y 1808, el químico británico Humphrey Davy (1778-1829) descubrió cinco nuevos elementos químicos que logró aislar mediante la aplicación de una corriente eléctrica a compuestos que los contenían.
  • ÁTOMOS
    567 BCE

    ÁTOMOS

    Hace mas de dos mil años, se propuso que toda la materia estaba constituida por componentes elementales e invisibles denominados átomos.
  • Pila Eléctrica

    Pila Eléctrica

    El físico Alessandro Volta (1745-1827) mostró que una reacción química es capaz de producir una corriente eléctrica, la pila eléctrica en 1800.
  • REACCIONES QUÍMICAS

    REACCIONES QUÍMICAS

    El científico británico Michael Farady (1791-1867) aplicando una corriente eléctrica a ciertos compuestos continuó el estudio de las reacciones químicas.
  • PARTÍCULAS ATÓMICAS

    PARTÍCULAS ATÓMICAS

    Los electrones eran las únicas partículas atómicas que se conocían en 1909.
    El inglés Ernest Rutherford (1871-1937), alumno de Thomson, llevó a cabo la tarea de verificar experimentalmente si el modelo de su profesor era correcto.

Want to make a timeline like this?

Use Timetoast to turn dates, events, milestones, and phases into a clear visual timeline you can build and share. Timetoast is a timeline maker for work, school, research, and stories.