History of Electronic Games

  • Westinghouse Display

    Westinghouse Display

    Edward U. Condon designs a computer that plays the traditional game Nim in which players try to avoid picking up the last matchstick.Tens of thousands of people play it, and the computer wins at least 90% of the games.
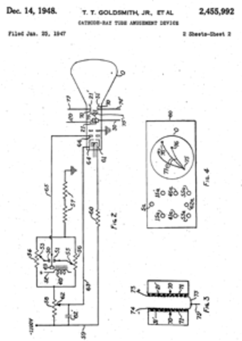
  • Cathode ray tube amusement device

    Cathode ray tube amusement device

    Thomas T. Goldsmith Jr. and Estle Ray Mann file a patent for a "cathode ray tube amusement device."
  • Claude Shannon lays out guidelines

    Claude Shannon lays out guidelines

    Claude Shannon lays out guidelines for programming a chess-playing computer in an article, "Programming a Computer for Playing Chess."
  • OXO

    OXO

    A.S. Douglas creates OXO (a game known as noughts and crosses in the United Kingdom and tic-tac-toe in the United States) on Cambridge's EDSAC computer as part of his research on human-computer interactions
  • First blackjack program

    First blackjack program

    Programmers at New Mexico's Los Alamos laboratories, the birthplace of the atomic bomb, develop the first blackjack program on an IBM-701 computer.
  • Hutspiel

    Hutspiel

    The long tradition of military wargaming enters the computer age when the U.S. military designs Hutspiel, in which Red and Blue players (representing NATO and Soviet commanders) wage war.
  • Computer Checkers

    Computer Checkers

    Arthur Samuel demonstrates his computer checkers program, written on an IBM-701, an national television.
  • First complete computer chess program

    First complete computer chess program

    Alex Bernstein writes the first complete computer chess program on an IBM-704 computer- a program advanced enough to evaluate four half-moves ahead.
  • Mouse in the Maze

    Mouse in the Maze

    Students at MIT create Mouse in the Maze on MIT's TX-0 computer.
  • Spacewar!

    Spacewar!

    MIT student Steve Russell invents Spacewar!, the first computer-based video game.
  • STAGE

    STAGE

    Months after the Cuban Missile Crisis, the U.S. Defense Department completes a computer war game known as STAGE (Simulation of Total Atomic Global Exchange) which "shows" that the United States would defeat the Soviet Union in a thermonuclear war.
  • Ralph Baer

    Ralph Baer

    Ralph Baer conceives the idea of playing a video game on television.
  • "Brown Box"

    "Brown Box"

    Ralph Baer develops his "Brown Box", the video game prototype that lets users play tennis and other games.
  • Oregon Trail is created

    Oregon Trail is created

    Minnesota college students Don Rawitsch, Bill Heinemann, and Paul Dillenberger create Oregon Trail, a simulation of pioneers' westward trek.
  • Odyssey

    Odyssey

    Magnavox releases Odyssey, the first home video game system, based on Ralph Baer's designs.
  • Pong

    Pong

    Atari introduces its home version of Pong.
  • Atari 2600

    Atari 2600

    Atari releases the Video Computer System, more commonly known as Atari 2600
  • Pac-Man

    Pac-Man

    A missing slice of pizza inspires Namco's Toru Iwatani to create Pac-Man, which goes on sale in July 1980.
  • Tron

    Tron

    Disney taps into the video game craze by releasing the movie Tron. An arcade game featuring many of the contests from the movie also becomes a hit.
  • Tetris

    Tetris

    Russian mathematician Alexey Pajitnov creates Tetris, a simple but addictive puzzle game.
  • NES system

    NES system

    The Nintendo Entertainment System (NES) revives an ailing United States video game industry two years after the Nintendo Corporation released it in Japan as Famicom.
  • Game Boy

    Game Boy

    Nintendo's Game Boy popularizes handheld gaming.
  • Genesis

    Genesis

    Sega needs an Iconic hero for its Genesis (known as Mega Drive in Japan) system and finds it in Sonic the Hedgehog.
  • Mortal Kombat

    Mortal Kombat

    Mortal Kombat prompts United States Senate hearings on video game violence.
  • PlayStation

    PlayStation

    Sony releases PlayStation in the United States, selling for $100 less than Sega Saturn.
  • Xbox

    Xbox

    Microsoft enters the video game market with Xbox and hits games like Halo:Combat Evolved.
  • Steam is released

    Steam is released

    Valve energizes PC gaming with its release of Steam. The digital distribution platform allows players to download, play, and update games.
  • Nintendo DS is released

    Nintendo DS is released

    Nintendo maintains its dominance of the handheld market with the Nintendo DS, an easy-to-use, portable gaming system packed with two processors, two screens, multiplayer capabilities, and a stylus for the touchscreen.
  • Xbox 360

    Xbox 360

    Microsoft's Xbox 360 brings high-definition realism to the game market, as well as even better multiplayer competitions on Xbox Live and popular titles such as Alan Wake
  • Nintendo Wii

    Nintendo Wii

    Nintendo Wii gets gamers off the couch and moving with innovative, motion-sensitive remotes.
  • Rock Band is released

    Rock Band is released

    Grab your guitar, microphone, bass, or drums, and start playing Rock Band. That's what millions of would-be musicians did with Harmonix's hit title.
  • World of Warcraft is released

    World of Warcraft is released

    More then 10 million worldwide subscribers make World of Warcraft the most popular massively multiplayer online (MMO) game.
  • Social games & mobile games shake up the industry

    Social games & mobile games shake up the industry

    Social games like Farmville and mobile games like Angry Birds shake up the games industry.
  • Minecraft

    Minecraft

    The indie game movement comes of age with the tremendous popularity of Minecraft, the addictive brick-building game from Swedish developer Markus Persson
  • Augmented-Reality games come to life

    Augmented-Reality games come to life

    Skylanders: Spyro's Adventure becomes the first augmented-reality hit by letting players place plastic figures on a Portal of Power to zap characters into the game.
  • "Free-to-play" dominates industry

    "Free-to-play" dominates industry

    "Free-to-play" becomes a dominant business model as blockbusters like Crossfire, League of Legends, World of Tanks, and even Kim Kardashian: Hollywood achieve sales in the hundreds of millions of dollars.