Historia de la robotica: De Arquitas de Tarento al Robot da Vinci.(Parte II)

  • H Roselund y W Pollard

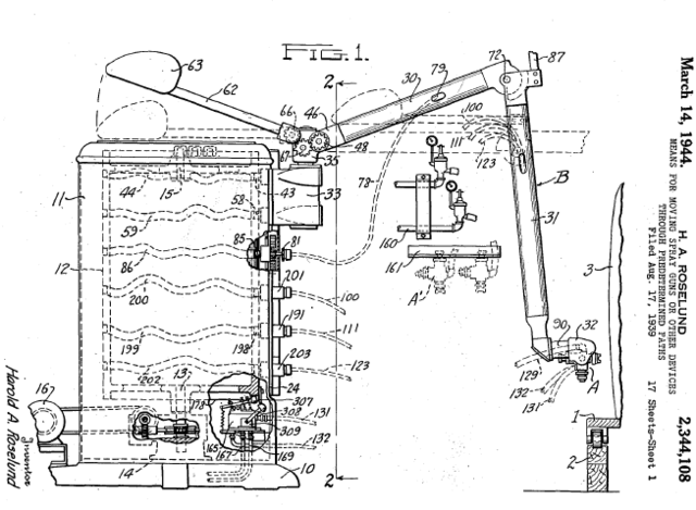
    H Roselund y W Pollard

    Construyen el primer brazo articulado
    (o manipulador) para pintura al spray4 lo
    que representó una nueva forma de entender la
    producción industrial al incorporar robots a las
    cadenas de producción,
  • Robot Humanoide

    Se presentan diversas novedades en robótica
    popular, como el robot humanoide Elektro,
    fabricado por Westinghouse, y el perro mecánico
    Sparko
  • Period: to

    H Goldstine, P Eckert y J Mauchly

    Construyen la primera
    computadora digital de la historia a la que
    denominan ENIAC (Electronic Numerical Integration
    and Calculador) con la que la computación
    contemporánea se consolida y se introduce en las
    empresas
  • DS Halder

    DS Halder

    La compañía automovilística Ford de Detroit, acuña el término
    “automatización” y pone en marcha, una
    estrategia para ir sustituyendo al ser humano de
    muchas de las tareas del proceso de fabricación
    de automóviles.
  • G Walter

    G Walter, de la Bristol University, presentó el primer robot autónomo electrónico.
  • Importantes sucesos para el devenir de la robótica

    Importantes sucesos para el devenir de la robótica

    AM Touring publica
    “Computing Machinery and Intelligence” y propone
    una prueba (test o máquina de Touring), en
    forma de entidad matemática abstracta, que demuestra
    la existencia de problemas computacionales
    irresolubles que ninguna máquina es capaz
    de solventar.
  • Period: to

    APT

    El lenguaje de programación tipo APT (Automatically
    Programmed Tooling) fue desarrollado
    en el MIT
  • Geometria espacial

    J Denavit y RS Hartenberg
    utilizan el álgebra matricial para describir y
    representar la geometría espacial de los elementos
    de un robot.
  • Sensores Tactiles

    Sensores Tactiles

    HA Enst publica un trabajo sobre sensores táctiles
    MH-1 aplicados a una mano robotizada de
    tipo ANL 8, dotada de 6 grados de libertad y de
    un procesador TX-0 que revoluciona el sector e
    inicia el desarrollo de los sensores y la retroalimentación,
    demostrando la conducta adaptativa
    de un robot por primera vez en la historia.
  • Robot Shakey

    Robot Shakey

    Aparece Shakey, del Stanford
    Research Institute, provisto de múltiples sensores
    y de medios para desplazarse por el suelo y
    de control remoto por radio.
  • Stanford y Agencia espacial Rusa

    Stanford y Agencia espacial Rusa

    La Universidad de Stanford crea el Stanford Cart, un robot que sigue “visualmente”, de forma autónoma,líneas en el suelo, con opción a control remoto por radio.
    La agencia espacial rusa consigue un alunizaje por control remoto y exploran la superficie lunar con un vehículo robotizado dotado de sensores, efectores y una unidad de telecomunicaciones, llamado Lunokhod
  • Microprocesadores

    Microprocesadores

    La aplicación de microprocesadores
    en robótica revoluciona este sector, logrando
    que mejore el tamaño y el precio de los robots.
  • Industria Automovil

    Industria Automovil

    El parque de robots aumenta un 25%
    a expensas de la industria del automóvil
  • Programas Graficos

    Programas Graficos

    Comienzan a funcionar los Robots 8 que responden a programas
    gráficos interactivos, preprogramados en
    una computadora personal y luego cargados en el
    robot. Ese mismo año D Lenat desarrolla el proyecto
    Cyc para dotar a los robots de órganos sensibles1
  • Titanic

    Titanic

    Un vehículo submarino guiado a control
    remoto participa en las tareas de rescate del
    avión de la Air Indian, siniestrado frente a las
    costas de Irlanda, y pocos meses después otro
    robot similar descubre los restos del Titanic a
    4.000 metros de profundidad.
  • Dante

    Dante

    D Cliff, I Harvey y P Husbands de la Universidad de Sussex introducen los robots evolucionarios, que presentan las secuencias de control del robot dentro de una estructura genómica, imitando la evolución que ha experimentado el ser humano y el robot de 8 patas Dante hace una exploracion al Monte Erebus y callo por un fallo del arnes, un año despues una version mas evolucionada consigue descender hasta el fondo del crater.
  • 700,000 Unidades

    700,000 Unidades

    El parque de robots industriales alcanza
    ya las 700.000 unidades, generando importantes
    volúmenes de negocio
  • Androide

    Androide

    Honda presenta el P-3, un androide de 1,60 m de altura y 130 Kg de peso, capaz de caminar con seguridad sobre dos piernas, imitando la marcha humana gracias a sensores de gravedad, visuales, de detección de ángulos y de aceleración. Entre sus habilidades figuran las de pasear por terreno llano, subir y
    bajar escaleras, abrir puertas, pulsar interruptores y empujar obstáculos.
  • Furby

    Furby

  • Proyecto AESOP

    Se perfeccionaron
    algunos mecanismos de giro y de articulación.
    El proyecto AESOP (Automated
    Endoscopic System for Optical Positioning) se
    remonta a 1994, con el modelo 1000, que fue el
    primer robot del mundo aprobado por la FDA

Plan projects on a visual timeline

Map milestones, phases, deadlines, and key events in one place so the sequence is easier to see and share. Timetoast is a timeline maker for work, school, research, and stories.