historia de la fotografía

  • MOZI
    400 BCE

    MOZI

    Se refiere a la cámara oscura como el "Tesoro enterrado". Entre sus experimentos se encontraron el realizar estenopos en habitaciones oscuras, lo que lo convierte en precursor de la cámara oscura y, por tanto, de la cámara fotográfica.
  • ARISTÓTELES
    300 BCE

    ARISTÓTELES

    Describió la cámara oscura.
  • 100 BCE

    ALHAZÁN DE BASORA

    Utilizó la cámara oscura para observar eclipses.
  • Period: 400 to

    historia de la fotografía

  • ABD EL KAMIR
    600

    ABD EL KAMIR

    Descubre una emulsión fotosensible (nitrato de plata) que tendía a oscurecerse con la luz. No conocía la cámara oscura.
  • ROGER BACON
    1277

    ROGER BACON

    En su "Ciencia Perspectiva" mejora la cámara oscura situando detrás del estenopo (orificio donde entra la luz) un espejo para poder proyectar las imágenes en forma horizontal.
  • LEONARDO DA VINCI
    1490

    LEONARDO DA VINCI

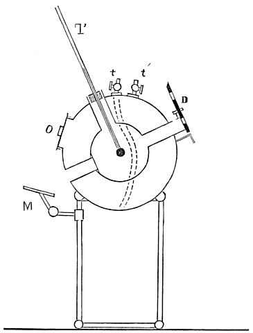
    Realiza la primera ilustración y descripción completa de la cámara oscura
  • GIAMBATTISTA DELLA PORTA

    GIAMBATTISTA DELLA PORTA

    Menciona el uso de la cámara oscura para la proyección de imágenes sobre un muro con el fin de obtener dibujos
  • HANS LIPPERSHEY

    HANS LIPPERSHEY

    Crea el primer telescopio
  • JOHANES KEPLER

    JOHANES KEPLER

    crea un sistema de lentes cóncavas y convexas para corregir aberraciones y distorsiones
  • ROBERT BOYLE

    descripción del ennegrecimiento del cloruro de plata es decidido a la acción de la luz
  • ISAAC NEWTON

    incluye espejos en el telescopio y un visor
  • JACQUES-ALEXANDER-CESAR CHARLES

    JACQUES-ALEXANDER-CESAR CHARLES

    obtiene la primera silueta impregnada sobre sales de plata
  • johann heinrich schulze

    johann heinrich schulze

    descubre la propiedad del ennegrecer a la luz que tiene una mezcla de tiza aguafuerte y nitrato de plata
  • RETRATOS DE SILUETA

    RETRATOS DE SILUETA

    las siluetas fueron formas de retrato economicos mas comunes en inglaterra, francia y alemania,fueron antecedentes importantes para la fotografia
  • JOHN DOLLOND

    comercializa los telescopios con lentes acromaticos
  • FISIONATRAZO

    louis cherentien invento un dispositivo similar al pontografo para traslador a una plancha de calcografia, el perfil del modelo
  • THOMAS WEDGWOOD

    THOMAS WEDGWOOD

    mejora los experimentos de jacques-alexandre-cesar charles, pero las imagenes solo pueden ser concentradas a la sombra y durante de escasos minutos y se les llamaba heliografias
  • ACTINÓMETRO

    Inventado por Sir John Herschel (quien acuñó el término "fotografía" años después.), era un instrumento para medir la intensidad de la luz.
  • PRIMERA FOTOGRAFÍA DE LA HISTORIA

    Hacia 1827 Niépce logra realizar la primera fotografía de la historia: una vista desde la ventana de su casa que tomó 8 horas de exposición para ser realizad.
  • JOSEPH NICÉPHORE NIÉPCE

    JOSEPH NICÉPHORE NIÉPCE

    Logra crear la primera fijación exitosa de una imagen producida con una cámara oscura. Se convierte en uno de los padres de la fotografía
  • CONTRATO NIÉPCE-DAGUERRE

    Louis Daguerre convence a Niépce de firmar un acuerdo de colaboración para trabajar juntos los esfuerzos para la fijación de imágenes obtenidas con la cámara oscura.
  • PRIMERA FOTOGRAFÍA POR DAGUERRE

    Louis Daguerre logra realizar su primera imagen permanente.
  • FECHA OFICIAL DE INICIO DE LA FOTOGRAFÍA

    El 19 de agosto de 1839 Louis Daguerre muestra su invento (llamado Daguerrotipo) en la Academia de Ciencias de París.
  • CALOTIPO

    William Henry Fox Talbot realiza su procedimiento denominada "Calotipo". Emplea papel en lugar de placas de metal y puede generar un negativo con múltiples copias.
  • PRIMERA CÁMARA COMERCIAL DE LA HISTORIA

    PRIMERA CÁMARA COMERCIAL DE LA HISTORIA

    Creada por Giroux en París. Pesaba 54kg y costaba 400 francos.
  • PRIMERA FOTOGRAFÍA CONSTRUIDA DE LA HISTORIA

    PRIMERA FOTOGRAFÍA CONSTRUIDA DE LA HISTORIA

    Hyppolite Bayard construye su imagen "El ahogado" como protesta al no ser reconocido como un padre de la fotografía.
  • CÁMARA QUE HACE DAGUERROTIPOS EN SEGUNDOS

    Se convierte en los primeros fotógrafos estadounidenses en obtener una patente y crean su estudio "Daguerrean Parlor" en la ciudad de Nueva York.
  • PRIMER ESTUDIO FOTOGRÁFICO EN LONDRES

    Richard Beard abre su primer estudio de retratos.
  • PRIMER MÁQUINA DE FACSÍMIL

    PRIMER MÁQUINA DE FACSÍMIL

    Alexander Bain creó ese dispositivo y en 1865 se abrió el primer servicio de fax entre París y Lyon (Francia).
  • PRIMER LIBRO DE FOTOGRAFÍAS

    Anna Atnkins publica "Pootographs of British Algae", primer libro ilustrado con fotografías.
  • DAVID OCTAVIUS HILL Y ROBERT ADAMSON

    Realizan retratos y son los primeros en documentar la realidad social en las villas de pescadores.
  • ROLLO CONDUCTOR SHELLAC

    Frederick Bakewell mejora, en Inglaterra, el diseño de Alexander Bain para crear facsímiles.
  • PRIMERA SOCIEDAD FOTOGRÁFICA EN INGLATERRA

    Se crea en Londres el "Calotype Club". Entre sus miembros estuvieron Frederick Scott Archer -inventor del colodión húmedo, Roger Fenton y Hugh Diamond, entre otros.
  • COLODIÓN HÚMEDO

    Frederick Scott Archer propone el uso del Colodión Húmedo para reducir los tiempos de obturación.
  • NEGATIVO DE VIDRIO USANDO ALBÚMINA

    Abel Niepce usa clara de huevo para unir las sales de plata.
  • MATHEW BRADY

    Abre su estudio en Washington D.C. y realizaba fotografías del presidente y su gabinete. Su trabajo de documentación durante la Guerra de Secesión sería fundamental.
  • EL RETRATO

    Para mediados del siglo XIX el retrato era la principal actividad de los estudios fotográficos.
  • IMPRESIÓN A LA ALBÚMINA

    Louis Desire Blanquart-Evrard inventa la impresión en papel a la albúmina y logra mayor profundidad y contraste.
  • NADAR

    Gaspard Félix Tournachon (Nadar) se convirtió en un retratista fundamental. Montó uno de los estudios fotográficos más importantes de París.
  • PRIMERA SOCIEDAD FOTOGRÁFICA EN FRANCIA

    Conocida como la Societé Héliographique, se convertiría en 1854 en la Sociétè Française de Photographie
  • GUSTAVE LEGRAY

    Uno de los pioneros de la fotografía artística. Dotaba a sus fotos de sentido estético.
  • FOTOGRAFÍAS DE EGIPTO

    Maxime du Camp realiza registros fotográficos en Egipto.
  • FOTOGRAFÍA ESTEREOSCÓPICA

    John Benjamin Dancer crea la primera cámara estereoscópica de la historia.
  • CARTES DE VISITE

    André-Adolphe-Eugène Disdéri patenta un sistema de positivado de diez fotos por hoja con imágenes individuales de 6x9cms.
  • IMPRESIÓN AL CARBÓN

    Alphonse Poitevin crea la impresión al carbono que permitió el desarrollo de la fotografía contribuyendo a facilitar su copia.
  • PRIMERA FOTOGRAFÍA DE GUERRA

    Roger Fenton, primer fotógrafo de guerra realiza "Valley of the Shadow of death"
  • FOTOGRAFÍA SUBMARINA

    William Thomson realiza las primeras fotografías submarinas.
  • PRIMERA FOTOGRAFÍA AÉREA

    Nadar hace en globo la primera fotografía de París.
  • PRIMERA CÁMARA PANORÁMICA

    Thomas Sutton inventa la "Sutton", primera cámara panorámica de la historia.
  • PRIMER LENTE GRAN ANGULAR

    Charles C. Harrison inventó el primer objetivo gran angular que cubría unos 75° equivalente a la longitud focal de 28mm (35mm equiv.)
  • JULIA MARGARET CAMERON

    Fotógrafa pictorialista, una de las grandes retratistas del S. XIX
  • PRIMERA FOTOGRAFÍA A COLOR

    James Clerk Maxwell demostró que era posible realizar fotografías en color utilizando una combinación de filtros rojo, verde y azul.
  • "FIEBRE" DEL REGISTRO FOTOGRÁFICO

    Fiebre de los viajeros que registraban territorios, personas y sujetos científicos. Durante esta época destacaron Francis Frith, Roger Fenton, Adolphe Braun, Timothy O'Sullivan o Carleton E. Watkins.
  • JULIA MARGARET CAMERON

    Recibe su primera cámara. Se convertiría en una de las más grandes retratistas del Pictorialismo y una figura fundamental en la fotografía del s. XIX
  • WOODBURYTIPIA

    Walter Bentley Woodbury patentó un proceso para realizar reproducciones fotomecánicas.
  • USO DEL MAGENSIO COMO FLASH

    Los hermanos Alfred utilizaron el magnesio como flash por primera vez para hacer fotografías subterráneas en minas.
  • P. H. EMERSON

    Realiza fotografía de paisaje y se rige como uno de los primeros naturalistas fotográficos.
  • MOVIMIENTO CONGELADO

    Eadweard Muybridge logra congelar el movimiento y registrarlo. Demostró que un caballo no apoya ningún casco en el suelo durante un trote largo o galope en la famosa polémica iniciada por Leland Stanford.
  • PRIMERA FOTO EN UN PERIÓDICO

    El diario New York Graphic publica la primera fotografía en medio tono "A Scene in Shantytown" por Stephen Hogan
  • TARJETAS DE NEGOCIO

    Los fotógrafos comienzan a utilizar tarjetas de negocios donde colocan su marca y estudio en el anverso y una imagen de muestra en el reverso.
  • PLACAS SECAS

    George Eastman comercializa las placas secas: ya no es necesario preparar la placa y procesarla "en húmedo" como el colodión.
  • TELEVISIÓN DE PAUL NIPKOW

    Desarrolla y patenta el primer sistema electromecánico de televisión. Fracasa porque la señal es demasiado débil y no puede amplificarla.
  • ROLLO DE PELÍCULA

    George Eastman crea la película en rollo utilizando gelatina sobre una tira de celuloide. Esta tecnología se usaría durante más de 100 años.
  • SE POPULARIZA LA FOTOGRAFÍA JUDICIAL

    Alphonse Bertillon sistematiza las propuestas teórico-prácticas para el uso de la fotografía en la Prefectura de Policía de París
  • FLASH ENCAPSULADO DE BOUTAN-CHAUFFOUR

    Se diseñó para para fotografía submarina. Contenía magnesio dentro de una bombilla de vidrio con oxígeno a presión. Un cable de platino se calentaba con una corriente eléctrica que encendía el magnesio.
  • FOTO-TELEGRAFÍA

    Arthur Kornk desarrolla la tecnología foto-telegráfica para enviar imágenes a través de un cable.
  • RAYOS X

    Wilhelm Conrad Roentgen descubre los rayos X.
  • ROTATIVA DE FOTOGRAVURE

    Primera rotativa que permite imprimir fotografías en revistas.
  • ALFRED STIEGLITZ

    impulsor de la Photo Secession, creó la revista "Camera Work" y la "Little Galleries of the Photo-Secession" en el 291 de la Quinta Avenida finalmente conocida como "La 291"o la 291
  • CAMERA WORK

    Alfred Stieglitz funda "Camera Work", revista de fotografía artística. Edward Steichen diseña las portadas y elige la tipografía.
  • AUTOCROMO

    Los hermanos Louis y August Lumiére inventan el proceso del Autocromo para lograr fotografías a color.
  • MAOSZ

    La Federación Nacional de Fotógrafos Aficionados de Hungría favoreció el desarrollo fotográfico.
  • AMPLIFICADOR DE LEE DE FOREST

    Crea el bulbo, dispositivo electrónico para amplificar señales eléctricas.
  • FOTOGRAFÍA DIRECTA

    Paul Strand se convierte en el iniciador de la fotografía directa y del retrato psicológico.
  • FOTOGRAFÍA ELECTRÓNICA DE A. A. CAMBPELL

    Desarrolla un tubo eléctrico para grabar imágenes que podían transmitirse por cable y luego reproducirse en un tubo de rayos catódicos.
  • AGUSTÍN VÍCTOR CASASOLA

    Realiza la cobertura fotográfica de la Revolución Mexicana
  • FOTOGRAFÍA FUTURISTA

    Una de las primeras manifestaciones de las vanguardias es el Futurismo, iniciado por Arturo Bragaglia.
  • TRANSMISIÓN INALÁMBRICA DE FOTOS

    Eouard Belin crea un sistema inalámbrico de transmisión de fotografías.
  • BAUHAUS Y FOTOGRAFÍA

    Importante escuela de Arquitectura fundada durante la República de Weimar. Destacaron entre los profesores que impartieron cursos de fotografía László Moholy-Nagy.
  • LEICA I

    Oskar Barnack logra convencer a Ernst Leitz de producir la "Leica I": usa una película de cine de 35mm y establece una norma de la industria. La Leica posibilita el fotoperiodismo de forma inusitada.
  • PELÍCULA INFRARROJA

    Kodak desarrolla la primera película infrarroja para usos científicos y militares.
  • PRIMER VÍDEO-TELÉFONO

    Dr. Herbert Ives crea un sistema para transmitir vídeo telefónicamente. La imagen era de baja resolución a 50 líneas a 16 cuadros por segundo.
  • MARTÍN CHAMBI

    Abre su primer estudio en Sicuani. Se convertiría en una de las figuras de la fotografía latinoamericana más importantes del s. XX
  • SE PATENTA LA TV

    Vladmir Zworykin patenta la televisión
  • TELEVISIÓN

    John Logie Bird demuestra la televisión en Londres.
  • FOTOGRAFÍA HUMANISTA

    La rama suave y poética del fotoperiodismo fue también conocida como realismo política. se basó en la filosofía del cambio social. Destacaron Henri Cartier-Bresson, Robert Doisneau, Izis, Willy Ronis, Édouard Boubat, entre otros.
  • LEICA II

    Primera cámara de 35mm con óptica intercambiable.
  • KALART SPEED FLASH

    Primer sincronizador de flash
  • BRASSAÏ

    Captura la vida parisina nocturna
  • HAROLD EDGERTON

    Creador del flash moderno Desarrolló un tubo de flash re-utilizable.
  • BRASSAÏ

    Publica "París de noche", con fotografías de escenas callejeras y la vida nocturna.
  • GRABACIÓN DE UN PROGRAMA DE TV

    Se graba por primera vez un programa de televisión comercial. Antes no existía la tecnología para la grabación audiovisual.
  • NACE CANON

    Con el nombre "Kwanon Camera" nace la empresa que se convertiría en el fabricante de cámaras Nº 1 del mundo.
  • CÁMARA EINSTEIN/BUCKY

    Primera cámara con un fotómetro incorporado que ayuda a regular la abertura del diafragma.
  • IHAGEE KINE EXAKTA

    Primera cámara réflex de 35mm
  • LA CÁMARA POLAROID

    Edwin H. Land inventa el sistema de cámaras con película instantánea "Polaroid"
  • HASSELBLAD

    Desarrolla en Suecia la primera cámara réflex de lente única de formato medio.
  • XEROX MODELO A}

    Primera fotocopiadora de la historia.
  • TV A COLOR

    El primer programa de Televisión a color fue el Show de Ed Sullivan.
  • PRIMERA IMAGEN DIGITAL DE LA HISTORIA

    Russel A. Kirsch inventa el primer scanner de tambor y obtiene la primera imagen digitalizada. Se trata de un retrato de su hijo bebé.
  • TRANSMISIÓN DE IMAGEN FIJA POR AUDIO

    Copthorne McDonald desarrolló el concepto de SSTV, para tranmsitir una imagen de video fijo por un canal de audio.
  • PREDICCIÓN DE LA FOTO DIGITAL

    L. A. Manheim en Photoguide Magazine escribe que querría un sistema de fotografía electrónica, no fotoquímica "Una cámara que cupiera en una mano, grabara una imagen eléctrica permanente en un disco de plástico y que pudiera imprimirse desde el propio disco."
  • AGFA OPTIMA

    Primera cámara totalmente automática para uso amateur.
  • PROYECTOR DE CARRUSEL

    Kodak inventa el proyector de diapositivas en carrusel.
  • LARRY BURROWS

    primer fotógrafo en captar una guerra entera (Vietnam) a color.
  • SE INVENTA EL TÉRMINO "PÍXEL"

    Lo publicó por primera vez Frederic C. Billingsley del Jet Propulsion Lab de la NASA para describir los elementos de una imagen de vídeo.
  • PRIMERA CÁMARA DE VIDEO ELECTRÓNICA

    En Bell Labs crean una cámara de estado-sólido (electrónica) para capturar imagen de video.
  • PHOTOSHOP

    Adobe lanza la primera versión de su software de edición de imágenes digitales Photoshop.
  • ANDROID

    Google adquiere el sistema operativo Android.

Looking for a timeline maker?

Create timelines for projects, roadmaps, history, lessons, legal cases, and stories with Timetoast. Timetoast is a timeline maker for work, school, research, and stories.