A9afd7d49

Electromagnetismo: De la ciencia a la tecnología.

  • Cargas iguales se repelen

    Francois du Fray descubre que los materiales con cargas iguales de repelen.
  • Descubrimiento de la Carga Eléctrica

    Sthepen Gray & Jean Desaguliers comprueban y descubren la carga eléctrica a la que denominan como "virtud" o "fluido".
  • Primer dispositivo para almacenar cargas eléctricas

    Pieter van Musschenbroek (Leiden, Holanda) construyó el primer dispositivo para almacenar cargas eléctricas producidas por las máquinas de fricción. Se trata de una botella de vidrio recubierta en su totalidad por una capa muy delgada de estaño.
    Con el tiempo se fueron mejorando y a estos se les llamó: Condensadores.
  • Pararrayos

    Pararrayos

    Benjamín Franklin, gracias a una tormenta, descubrió que la atmósfera tenía efectos eléctricos y que los rayos eran descargas eléctricas que partían de las nubes. Con ayuda de unas varillas muy largas y picudas puso juntas algunas cargas eléctricas.
  • Ley de Coulomb

    Ley de Coulomb

    Charles Augustin de Coulomb midió con su balanza la fuerza entre los polos de dos imanes. Descubrió que la magnitud de esta fuerza varía con la distancia aumenta al doble, la fuerza disminuye a la cuarta parte; si la distancia aumenta al triple, la fuerza disminuye a la novena parte y así sucesivamente.
  • Electricidad Animal

    Electricidad Animal

    Luigi Galvani unió una extremidad de la rana a un pararrayos y la otra la fijó a tierra por medio de un alambre metálico. Observó que los músculos de la rana se contraían debido a que la electricidad que atrapaba el pararrayos recorría los músculos hasta llegar a tierra. Después, sin tener que usar ninguna fuente eléctrica, en una pata conecto un alambre de  hierro y en la otra, cobre. al juntar los alambres, la pata contraía. A esto lo llamó elctricidad animal.
  • Pila Voltaica

    Pila Voltaica

    Alejandro Volta al enterarse de los experimentos de Galvani, decidió hacerlos por su cuenta. Cuando usó placas de zinc y cobre en un ácido, se dio cuenta de que la electricidad se debía a la acción química entre el líquido, llamado electrolito, y los dos metales. Así, Volta construye el primer dispositivo electro químico que sirvió como fuente de energía.
  • Electrólisis

    Electrólisis

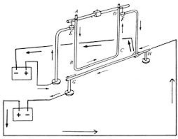
    William Nicholson y Anthony Carlisle construyeron en Londres una pila voltaica con el fin de conseguir una mejor conexión eléctrica, conectaron cada una de las terminales de la pila a un recipiente con agua. Fue así como descubrieron el fenómeno de la electrólisis, en el que, por medio de una corriente eléctrica, se separan los átomos que componen la molécula del agua.
  • Bases del Campo Magnético

    Bases del Campo Magnético

    Hans Christian Oersted descubrió, mientras daba una clase acerca de aparatos eléctricos, que la corriente eléctrica sí tiene efecto sobre un imán. Colocó un alambre por el que circulaba corriente eléctrica encima de una brújula y observó que la aguja se desviaba hacia el oeste. En seguida colocó este alambre debajo de la brújula y vio que la aguja también se desviaba, pero ahora, hacia el este.  Por lo tanto, una corriente eléctrica produce un efecto magnético.
  • Ley del Ampére y Galvanómetro

    Ley del Ampére y Galvanómetro

    Ampére dijo: Las fuerzas entre los alambres dependen de la magnitud de las corrientes que circulan por ellos. A mayor corriente en cada alambre, mayor corriente en cada alambre, mayor será la magnitud de la fuerza. A esto se conoce como la ley de Ampére.mY basándose en esta idea construyó un instrumento al que llamó galvanómetro, instrumento que mide corriente.
  • Descubrimiento del "Ampere"

    Descubrimiento del "Ampere"

    André-Marie Ampére investigó el efecto de Oersted y se percató de que Oersted no había tomado en cuenta el efecto del magnetismo terrestre, entonces, diseñó un experimento neutralizado donde encontró el verdadero efecto que tenía la corriente eléctrica sobre la aguja imantada: ésta siempre se alinea en una dirección perpendicular a la dirección de la corriente eléctrica.
  • Primer Electroimán

    Primer Electroimán

    El inglés William Sturgeon enrolló 18 espiras de alambre conductor alrededor de una barra de hierro dulce, que dobló para que tuviera la forma de una herradura. Al conectar los extremos del cable a una batería el hierro se magnetizó y pudo levantar un peso de 20 veces mayor que el propio. Este fue el primer electroimán, es decir, un imán accionado por electricidad. 
  • Segundo Electroimán

    Segundo Electroimán

    J. Henry construyó un mejor electroimán. Para ello enrolló en una barra de hierro dulce espiras de manera más apretada y en un número mayor; de esta manera logró una mayor intensidad magnética.
    El electroimán se comporta de forma equivalente a un imán permanente, con la ventaja de que su intensidad se puede controlar, ya sea cambiando la corriente que se le hace circular o variando el número de espiras de la bobina. Y cuando se le quita la corriente, este electroimán pierde el efecto magnético.
  • El Telégrafo

    El Telégrafo

    Joseph Henry construyó el primer telégrafo, sin embargo, Samuel Morse inventó el código que lleva su nombre. Dicho código consiste en una combinación de puntos y rayas, en donde la duración del punto es de una unidad y la raya, 3 unidades.
    El telégrafo es un aparato que transmite mensajes codificados a larga distancia mediante impulsos eléctricos que circulan a través de un cable conductor y consiste en una batería que tiene una de sus terminales conectada a un extremo de un manipulador o llave.
  • Inducción Electromagnética

    Inducción Electromagnética

    Michael Faraday enrolló un alambre conductor alrededor de un núcleo cilíndrico de madera y conectó sus extremos a un galvanómetro. Faraday descubrió que efectivamente se producen corrientes eléctricas sólo cuando el efecto magnético cambia, si éste es constante no hay ninguna producción de electricidad por magnetismo.
  • Flujo Magnético

    Flujo Magnético

    Después de muchos experimentos, Faraday definió el concepto de flujo magnético a través de una superficie de la siguiente forma: supongamos que un circuito formado por un alambre conductor es un círculo. Sea A el área del círculo. Consideremos que la dirección del efecto magnético sea perpendicular al plano que forma el círculo y sea B la intensidad del efecto. El flujo es, por tanto, igual a la magnitud del efecto magnético multiplicada por el área.
    LEY DE INDUCCIÓN DE FARADAY.
  • Motor Eléctrico

    Motor Eléctrico

  • Generador Eléctrico

    Generador Eléctrico

    Hippolyte Pixii se basó en el modelo de Faraday (motor eléctrico) para construir un generador de electricidad, sólo que en lugar de conectar los extremos del cable de la bobina a una batería como en el motor, se conectan entre sí y se intercala en el circuito un galvanómetro. Por medio de una manivela hizo girar la bobina dentro del imán permanente. De esta manera, el flujo magnético del imán permanente pasa a través del plano de cada espira, y este puede variar con el tiempo.
  • Primer lámpara incandescente

    Primer lámpara incandescente

    En octubre de 1879, después de muchas experiencias infructuosas y haber gastado mucho dinero, Alva Edison logró construir una lámpara incandscente en la que un filamento de carbón emitía luz al hacerle pasar una corriente eléctrica por más de 40 horas.