Fichaoersted

Electromagnetismo

  • 584 a.C. Tales de Mileto
    100

    584 a.C. Tales de Mileto

    Tales de Mileto y el ámbar. <a
    Froto con un pañuelo un tipo de resina llamada ambar, el cual en griego se dice "elektron", ésta adquiría la capacidad de atraer algunos objetos ligeros, como trozos de papel.
    Durante muchos siglos este tipo de experiencias no fueron sino meras curiosidades.
  • Period: 100 to

    ELECTROMAGNETISMO

    Línea del tiempo con los acontecimientos, experimentos e inventos más importantes a lo lago de la historia.
  • Shen Kua (1030-1090) d.C
    Jan 1, 1070

    Shen Kua (1030-1090) d.C

    Fue el primero que escribió acerca del uso de una aguja magnética para indicar direcciones, que fue el antecedente de la brújula. Este instrumento se basa en el principio de que si se suspende un imán en forma de aguja, de tal manera que pueda girar libremente, uno de sus extremos siempre apuntará hacia el norte.
  • William Gilbert (1544-1603)

    William Gilbert (1544-1603)

    Este personaje analizo diferentes posiciones de la brújula y propuso que la Tierra es un enorme imán, lo que constituyó su gran contribución. De esta forma pudo explicar la atracción que ejerce el polo norte sobre el extremo de una aguja imantada, se dio cuenta de que cada imán tiene dos polos, el norte (N) y el sur (S), que se dirigen hacia los respectivos polos terrestres.publicó un famoso tratado,
    publicó un famoso tratado "De Magnete".
  • Otto Von Guericke (1602-1686)

    Otto Von Guericke (1602-1686)

    Contruye el primer generador de electricidad. Producía cargas electricas por medio de fricción.
  • Stephen Gray (1696-1736) & Jean Desaguliers (1683-1744)

    Stephen Gray (1696-1736) & Jean Desaguliers (1683-1744)

    Encontraron que si unían por medio de un alambre metálico un tubo de vidrio previamente frotado con un trozo de corcho, éste se electrificaba, tambien comprobaron que el corcho se electrificaba ya que al acercarle trozos de papel éstos eran atraídos por él. Llegaron a la conclusión de que la electrificación era un efecto que se presentaba en la superficie de los cuerpos, en donde aparecía lo que llamaron una "virtud" o "fluido" eléctrico al que en la actualidad se le llama carga eléctrica.
  • François du Fay (1698-1739)

    François du Fay (1698-1739)

    Frotó con tela de seda dos tubos de vidrio iguales. Al acercar los tubos vio que siempre se repelían.
    Concluyó que dos materiales idénticos se repelen cuando se electrifican en formas idénticas, así como también cada uno de los tubos adquiere el mismo tipo de carga. Después de vario experimentos, afirmó que existen dos tipos de electricidad: vitrosa (la que aparece cuando se frota con seda el vidrio) y a la otra resinosa (la que aparece cuando se frota al hule con piel).
  • Benjamín Franklin (1706-1790)

    Benjamín Franklin (1706-1790)

    Según él, el vidrio electrificado había adquirido un exceso de fluido (carga) eléctrico, y le llamó a este estado positivo. Al estado de la seda con la que frotó el vidrio lo llamó negativo, pues consideraba que había tenido una deficiencia de fluido (carga) eléctrico.
  • Pieter van Musschenbroek (1692-1761)

    Pieter van Musschenbroek (1692-1761)

    Construyó el primer dispositivo para almacenar cargas eléctricas. Se trataba de una botella de vidrio que estaba recubierta, tanto interior como exteriormente, de una capa muy delgada de estaño. En esta famosa botella de Leiden se pudieron almacenar considerables cantidades de carga eléctrica, producidas por las máquinas de fricción. Posteriormente se diseñaron otros dispositivos más prácticos y cómodos para almacenar carga eléctrica, a los cuales se llamó condensadores.
  • Pararrayos de Franklin

    Pararrayos de Franklin

    Franklin logró juntar cargas eléctricas de la atmósfera por medio de varillas muy picudas. A la larga, esto dio lugar a la invención del pararrayos, que consistía en una varilla metálica picuda conectada a la tierra; las cargas eléctricas del rayo eran atraídas a la varilla y conducidas a la tierra.
  • Academia Electoral de Baviera.

    Academia Electoral de Baviera.

    Esta Academia ofreció un premio para la persona que resolviera la siguiente cuestión: ¿Hay una analogía real y física entre las fuerzas eléctricas y magnéticas?
  • Luigi Galvani (1737-1798)

    Luigi Galvani (1737-1798)

    Unió una extremidad de la rana a un pararrayos y la otra la fijó a tierra por medio de un alambre metálico. Descubrió que los músculos se estremecían cuando había tormenta, pues las cargas que recogía el pararrayos se transportaban a través del músculo hasta la tierra. Llegó a la conclusión de que si se formaba un circuito cerrado entre dos metales que pasara por la pata, se generaba una corriente eléctrica que circulaba por el circuito.
  • Charles Auguste Coulomb (l736-1806)

    Charles Auguste Coulomb (l736-1806)

    Este personaje midió con bastante precisión las características de las fuerzas entre particulas electricamente cargadas.
    "Entre más grande es cada una de las cargas, mayor es la magnitud de las fuezas entre ellas y entre más separadas esten las cargas, menor será la fuerza", el enunciado anterior responde a la Ley de Coulomb.
  • Alejandro Volta (1745-1827)

    Alejandro Volta (1745-1827)

    Volta se dio cuenta de que para lograr el efecto descubierto por Galvani se necesitaba cobre, hierro y el líquido del tejido muscular. Hizo una serie de experimentos muy cuidadosos, utilizando alambres de diferentes materiales; así descubrió que si usaba estaño y cobre lograba una corriente relativamente fuerte, mientras que si usaba hierro y plata el efecto era poco intenso. Construyó lo que posteriormente se llamó una pila voltaica.
  • William Nicholson (1753-1825) & Anthony Carlisle (1768- 1840)

    William Nicholson (1753-1825) & Anthony Carlisle (1768- 1840)

    Se dieron cuenta a través de experimentos con la pila voltaica que en una de las terminales aparecía hidrógeno y en la otra, oxígeno. Fue así como descubrieron el fenómeno de la electrólisis, en el que, por medio de una corriente eléctrica, se separan los átomos que componen la molécula del agua.
  • Humphry Davy (1778-1829)

    Descompuso por medio de la electrólisis otras sustancias, y así descubrió los metales sodio y potasio al descomponer electroquímicamente diferentes sales minerales, como la potasa cáustica, la soda fundida, entre otras. También obtuvo electroquímicamente los elementos bario, calcio, magnesio y estroncio.
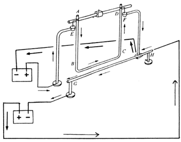
  • Hans Christian Oersted (1777-1851)

    Hans Christian Oersted (1777-1851)

    El experimento de Oersted fue el siguiente: colocó un alambre por el que circulaba corriente eléctrica encima de una brújula y observó que la aguja se desviaba hacia el oeste. En seguida colocó este alambre debajo de la brújula y vio que la aguja también se desviaba, pero ahora, hacia el este, entonces concluyó que para que la aguja imantada de la brújula se pudiera mover tuvo que experimentar una fuerza magnética, y que la corriente eléctrica del alambre tuvo que generarla.
  • André-Marie Ampère (1775-1836)

    André-Marie Ampère (1775-1836)

    Ampère presentó a la Academia la primera de una serie de memorias de gran importancia.
    Determinó también que estas fuerzas entre los alambres que conducían corriente eléctrica se debían a efectos magnéticos: un alambre que conduce electricidad crea un efecto magnético a su alrededor (un campo), y el otro alambre, que también conduce corriente eléctrica, experimenta una fuerza.
  • Invención del Galvanómetro

    Invención del Galvanómetro

    El galvanómetro inventado por Ampère se convirtió rápidamente en un instrumento vital en la investigación de fenómenos eléctricos y magnéticos. Posteriormente se mejoró y adicionó, pero las bases de su funcionamiento se han conservado.
  • William Sturgeon (1783-1850)

    William Sturgeon (1783-1850)

    Enrolló 18 espiras de alambre conductor alrededor de una barra de hierro dulce, que dobló para que tuviera la forma de una herradura. Al conectar los extremos del cable a una batería el hierro se magnetizó y pudo levantar un peso que era 20 veces mayor que el propio. Este fue el primer electroimán, es decir, un imán accionado por electricidad.
  • Publicación del libro de  Ampere

    Publicación del libro de Ampere

    En el año de 1826 publicó un libro, "Teoría de fenómenos electrodinámicos deducidos del experimento" en donde presenta, de manera muy elaborada, los resultados de sus investigaciones.
  • Joseph Henry (1797-1878)

    Joseph Henry (1797-1878)

    Construyó otra versión del electroimán, para ello enrolló en una barra de hierro dulce espiras en forma mucho más apretada y en un número mayor; de esta manera logró una mayor intensidad magnética. El electroimán se comporta de forma equivalente a un imán permanente, con la ventaja de que su intensidad se puede controlar, ya sea cambiando la corriente que se le hace circular o variando el número de espiras de la bobina.
  • Michael Faraday (1791-1867)

    Michael Faraday (1791-1867)

    Faraday realizó diferentes experimentos en los cuales el efecto magnético que producía y atravesaba una bobina daba lugar a que se produjera una corriente eléctrica en esta bobina.
    Faraday descubrió otra cosa muy importante. Lo que realmente debe cambiar con el tiempo para que se induzca una corriente eléctrica es el flujo magnético a través de la superficie que forma el circuito eléctrico.
  • Hippolyte Pixii  (1808–1835)

    Hippolyte Pixii (1808–1835)

    Construyó el primer generador de electricidad. Con este aparato la energía mecánica que se desarrolla al girar la bobina por medio de la manivela se ha convertido en energía eléctrica que tiene la corriente que se induce. Este aparato se llama generador (o dinamo) de electricidad.
  • L. C. Davenport

    L. C. Davenport

    Construyó el primer motor eléctrico para uso industrial.
  • Telégrafo eléctrico

    Telégrafo eléctrico

    El telégrafo eléctrico fue uno de los primeros inventos que surgieron de las aplicaciones de los descubrimientos de Ampère y Faraday.
    Es un aparato que transmite mensajes codificados a larga distancia mediante impulsos eléctricos que circulan a través de un cable conductor.
  • charles Wheaststone (1802-1875)

    charles Wheaststone (1802-1875)

    Reemplazó el imán permanente del motor por un electroimán, accionado por una batería externa. Así se logró un motor más efectivo. Posteriormente se fueron añadiendo diferentes mejoras, pero el principio básico de su funcionamiento es el descrito.
  • Samuel Morse (1791-1872)

    Samuel Morse (1791-1872)

    La persona que le dio gran impulso al telégrafo fue este personaje, el cual inventó un código que lleva su nombre. Este código consiste en una combinación de puntos y rayas, en donde la duración del punto es una unidad y la de la raya es de tres unidades. Cada letra o número es una combinación predeterminada de puntos y rayas. La transmisión de una unidad significa que durante ese tiempo el manipulador está conectado, cerrando el circuito eléctrico.
  • William Thomson (1824-1907)

    William Thomson (1824-1907)

    Hizo los estudios necesarios para instalar en 1866 el primer cable trasatlántico que conectó a Wall Street en Nueva York con la City en Londres.
  • Zénobe Théophile Gramme

    Zénobe Théophile Gramme

    Alcanzó voltajes muy altos en un generador eléctrico.
  • Alexander Graham Bell (1847-1922)

    Alexander Graham Bell (1847-1922)

    Inventó un dispositivo que transformara las ondas de sonido que se emiten cuando uno habla en variaciones de una corriente eléctrica, y que la corriente así generada siguiese fielmente las variaciones producidas por el sonido. Una vez lograda, esta corriente podía llegar al lugar receptor a través de un cable conductor. El receptor tendría un aparato que invirtiera el proceso: transformar las variaciones de una corriente eléctrica en sonido.
  • Thomas Alva Edison (1847-1931)

    Thomas Alva Edison (1847-1931)

    Logró construir una lámpara incandescente en la que un filamento de carbón emitía luz al hacerle pasar una corriente eléctrica por más de 40 horas. El famoso inventor colocó su filamento dentro de un bulbo de vidrio que estaba al vacío en su interior. Edison logró fabricar este tipo de focos de una manera muy eficiente y con este invento se abrió un campo extraordinario de aplicación que creó la necesidad de construir generadores eficientes de electricidad.
  • Charles Brush

    Charles Brush

    Logró que el voltaje del generador tuviese siempre un valor constante, sin importar cuánta corriente proporcionara el aparato.

Looking for a timeline maker?

Create timelines for projects, roadmaps, history, lessons, legal cases, and stories with Timetoast. Timetoast is a timeline maker for work, school, research, and stories.