2de571c799f971dadfe3d23586999ae6

Electromagnetismo: De la ciencia a la Tecnología

  • Aplicación del imán
    Mar 28, 1000

    Aplicación del imán

    Un matemático chino, Shen Kua fue el primero en hablar del uso de la aguja magnética para indicar direcciones que fue el antecedente de la brújula.
  • La brújula

    La brújula

    William Gilbert Definió a la tierra como un enorme imán para explicar la atracción que ejerce el polo norte sobre el extremo de una aguja imantada. Descubrió que cada imán tiene 2 polos : Norte y Sur, que se dirigen a los polos terrestres
  • Fluido eléctrico

    Fluido eléctrico

    Dos científicos ingleses, Stephen Gray y Jean Desaguliers dieron a conocer los resultados de experimentos eléctricos muy cuidadosos, con los que llegaron a la conclusión de que la electrificación era un efecto que se representaba en la superficie de los cuerpos, lo que llamaban “fluido” eléctrico al que en la actualidad se llama carga eléctrica.
  • Tipos de electricidad.

    Tipos de electricidad.

    Un científico francés, François du Fay afirmó gracias a un experimento que el mismo realizó, que dos cargas iguales se repelen, mismo que descubrió la existencia de dos tipos de electricidad: la vitrosa y la resinosa.
  • Primer dispositivo para almacenar cargas eléctricas.

    Primer dispositivo para almacenar cargas eléctricas.

    Pieter van Musschenbroek construyó el primer dispositivo para almacenar cargas eléctricas producidas por las máquinas de fricción.
    Se trata de una botella de vidrio recubierta en su totalidad por una capa muy delgada de estaño, posteriormente se les llamó Condensadores.
  • Pararrayos

    Pararrayos

    Benjamín Franklin descubrió que la atmósfera tenía efectos eléctricos y que los rayos eran descargas eléctricas que partían de las nubes.
    Lo que a la larga dio lugar a la invención de los pararrayos que consistían en una varilla metálica picuda conectada a la tierra; las cargas eléctricas del rayo eran atraídas a la varilla y conducidas a la tierra.
  • Ley de Coulomb

    Ley de Coulomb

    Charles Auguste Coulomb midió con su balanza la fuerza entre los polos de dos imanes. Descubrió que la magnitud de esta fuerza varía con la distancia entre los polos. Mientras mayor sea la distancia, menor es la fuerza.
  • Electricidad Animal

    Electricidad Animal

    Luigi Galvani unió una extremidad de la rana a un pararrayos y la otra la fijó a tierra por medio de un alambre metálico. Observó que los músculos de la rana se contraían debido a que la electricidad que atrapaba el pararrayos recorría los músculos hasta llegar a tierra. Pensó que si formaba un circuito cerrado entre dos metales y la pata de la rana se generaba corriente eléctrica. A esto le llamó "Electricidad animal".
  • Pila Voltaica

    Pila Voltaica

    Alejandro Volta al enterarse de los experimentos de Galvani, decidió hacerlos por su cuenta, comenzó a utilizar alambres de distintos materiales junto con líquidos.
    Cuando usó placas de zinc y cobre en un ácido, se dio cuenta de que la electricidad se debía a la acción química entre el líquido, llamado electrolito.
  • Electrólisis

    Electrólisis

    William Nicholson y Anthony Carlisle construyeron en Londres una pila voltaica con el fin de conseguir una mejor conexión eléctrica, conectaron cada una de las terminales de la pila a un recipiente con agua. Se dieron cuenta de que en una de las terminales aparecía hidrógeno y en la otra, oxígeno. Fue así como descubrieron el fenómeno de la electrólisis. .
  • Bases del campo magnético

    Bases del campo magnético

    Hans Christian Oersted descubrió, mientras daba una clase acerca de aparatos eléctricos, que la corriente eléctrica sí tiene efecto sobre un imán.
    Colocó un alambre por el que circulaba corriente eléctrica encima de una brújula y observó que la aguja se desviaba hacia el oeste. Por lo tanto, una corriente eléctrica produce un efecto magnético.
  • El Galvanómetro

    El Galvanómetro

    Ampére descubrió a mayor corriente en cada alambre, mayor será la magnitud de la fuerza. Y basándose en esta idea construyó un instrumento al que llamó galvanómetro, instrumento que mide corriente.
  • Descubrimiento de Ampére.

    Descubrimiento de Ampére.

    André-Marie Ampére investigó y diseñó un experimento neutralizado donde encontró el verdadero efecto que tenía la corriente eléctrica sobre la aguja imantada la cual siempre se alinea en una dirección perpendicular a la dirección de la corriente eléctrica. Observó entonces que cuando hacía pasar una corriente de electricidad en ambos alambres simultáneamente, se atraían cuando las corrientes tenían el mismo sentido y se repelían cuando tenían sentidos opuestos. 
  • Primer electroimán

    Primer electroimán

    William Sturgeon enrolló 18 espiras de alambre conductor alrededor de una barra de hierro dulce, que dobló para que tuviera la forma de una barra de hierro dulce, que dobló para que tuviera la forma de una herradura. Al conectar los extremos del cable a una batería el hierro se magnetizó pudo levantar un peso de 20 veces mayor que el propio.
  • Segundo electroimán

    Segundo electroimán

    Joseph Henry construyó un mejor electroimán. Para ello enrolló en una barra de hierro dulce espiras de manera más apretada y en un número mayor; de esta manera logró una mayor intensidad magnética. Y cuando se le quita la corriente, este electroimán pierde el efecto magnético.
  • El Telégrafo

    El Telégrafo

    Joseph Henry construyó el primer telégrafo, sin embargo, Samuel Morse inventó el código que lleva su nombre. Dicho código consiste en una combinación de puntos y rayas, El telégrafo es un aparato que transmite mensajes codificados a larga distancia mediante impulsos eléctricos que circulan a través de un cable conductor.
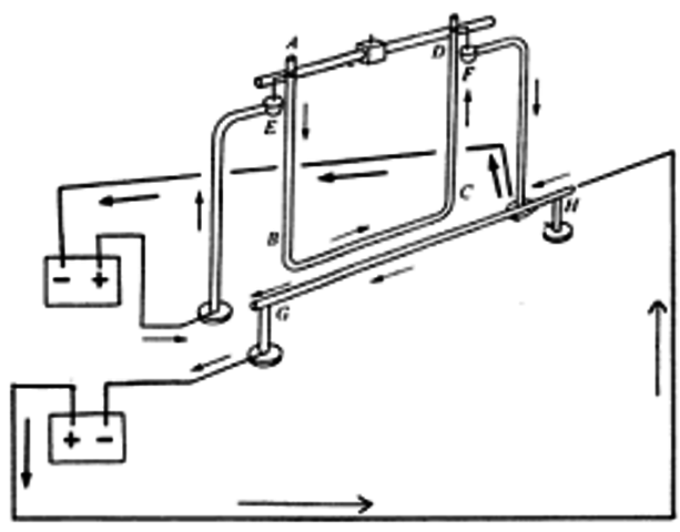
  • Inducción electromagnética

    Inducción electromagnética

    Michael Faraday enrolló un alambre conductor alrededor de un núcleo cilíndrico de madera y conectó sus extremos a un galvanómetro. Faraday descubrió que efectivamente se producen corrientes eléctricas sólo cuando el efecto magnético cambia, si éste es constante no hay ninguna producción de electricidad por magnetismo. 
  • Flujo magnético

    Flujo magnético

    Faraday definió el concepto de flujo magnético a través de una superficie por lo que define que el flujo es, por tanto, igual a la magnitud del efecto magnético multiplicada por el área. Por supuesto que si el efecto magnético cambia con el tiempo, entonces el flujo que produce también cambiará.
  • Motor eléctrico

    Motor eléctrico

    Gracias a las bases que sentó Ampére, Faraday pudo construir el primer motor eléctrico cuya finalidad era convertir energía eléctrica en energía mecánica puesto que si este motor eléctrico es usado de la manera correcta, se puede usar para generar trabajo mecánico mediante su conexión a poleas para mover cuerpos.
  • Generador de electricidad.

    Generador de electricidad.

    Hippolyte Pixii se basó en el modelo de Faraday para construir un generador de electricidad, sólo que en lugar de conectar los extremos del cable de la bobina a una batería como en el motor, se conectan entre sí y se intercala en el circuito un galvanómetro.
  • Linea de fuerza.

    Linea de fuerza.

    La idea de las líneas de fuerza viene de tiempo atrás. Antes de Faraday se definían como una fuerza entre dos partículas eléctricas. Así, a la trayectoria de la partícula de prueba se define como Línea de Fuerza.
  • El teléfono

    El teléfono

    El inventor “oficial” de este aparato, fue el estadounidense Alexander Graham Bell. La idea de Bell fue inventar un dispositivo que transformara las ondas de sonido que se emiten cuando uno habla en variaciones de una corriente eléctrica, y que la corriente así generada siguiese fielmente las variaciones producidas por el sonido. Sin embargo, al transcurrir el tiempo se fue mejorándolo hasta lograr los aparatos que conocemos hoy en día.