Electromagnetismo. De la ciencia a la tecnología.

  • Period: to

    Electromagnetismo. De la ciencia a la tecnología.

  • Tratado "De Magnete"

    Tratado "De Magnete"

    William Gilbert, publicó el famoso tratado "De Magnete", en el que publicó el conocimiento que se tenía en su época sobre los fenómenos magnéticos. Además, se dio cuenta de que cada imán tiene dos polos, el norte y el sur, que se dirigen hacia los respectivos polos terrestres.
  • Primer generador de electricidad por Otto von Guericke.

    Primer generador de electricidad por Otto von Guericke.

    Otto construyó el primer generador de electricidad, este producía cargas eléctricas por medio de fricción. Guericke, montó una esfera de azufre sobre un eje en un armazón de madera. Mientras con una mano hacía girar la esfera, con la otra la presionaba, así obtenía cargas eléctricas sobre la esfera.
  • Francois du Fay y las cargas iguales.

    Francois du Fay y las cargas iguales.

    Mediante un experimento, que consistió en frotar con tela de seda dos tubos de vidrio iguales y observar que al acercarlos se repelían; Francois, llegó a la conclusión de que dos materiales idénticos se repelen cuando se electrifican en formas idénticas.
  • Benjamin Franklin. Cargas positivas y negativas.

    Benjamin Franklin. Cargas positivas y negativas.

    Según las observaciones de Franklin, al frotar dos tubos de vidrio con tela de seda, el vidrio electrificado había adquirido un exceso de fluido eléctrico, a lo cual llamó estado positivo y al estado de la seda con la que frotó el vidrio lo llamó negativo.
  • Pieter van Musschenbroek

    Pieter van Musschenbroek

    Construyó el primer dispositivo para almacenar cargas eléctricas. Utilizó una botella de vidrio que estaba recubierta de una capa delgada de estaño, en ésta se pudieron almacenar considerables cantidades de carga eléctrica, producidas por las máquinas de fricción.
  • August Coulomb. Fuerza entre cargas.

    August Coulomb. Fuerza entre cargas.

    Mediante un péndulo de torsión, Coulomb pudo medir las fuerzas entre partículas eléctricamente cargadas. Encontró, que entre más separadas estén las cargas menor será la fuerza; por ejemplo, si la distancia aumenta al doble, la fuerza disminuye a la cuarta parte.
  • Pila voltaica

    Pila voltaica

    Volt usó placas de zinc y cobre en un ácido líquido, así fue como construyó lo que posteriormente llamó una "pila voltaica", que fue el primer dispositivo electroquímico que sirvió como fuente de electricidad.
  • Ampere y los alambres.

    Ampere y los alambres.

    Ampere encontró que las fuerzas entre los alambres dependen de la magnitud de las corrientes que circulan por ellos. A mayor corriente en cada alambre, mayor será la magnitud de la fuerza.
  • Invención del galvanómetro

    Invención del galvanómetro

    Ampere se dio cuenta de que una aguja de imán podía detectar una corriente eléctrica, y basándose en esta idea construyó un instrumento al que llamó "galvanómetro".
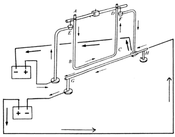
  • Hans Christian Oersted

    Hans Christian Oersted

    Oersted estudió los efectos de la electricidad en una aguja magnética de una brujula Concluyó que para que la aguja imantada de la brújula se pudiera mover tuvo que experimentar una fuerza magnética y que la corriente eléctrica de un alambre tuvo que generarla. Con esto dedujo que una corriente eléctrica produce un "Efecto  magnético".
  • Primer electroimán

    Primer electroimán

    William Sturgeon creó el primer electroimán al enrrollar 18 espiras de alambre conductor alrededor  de una barra de hierro dulce, que dobló para que tuviera forma de una herradura. Al conectar los extremos del cable a una batería el hierro se magnetizó y pudo levantar un peso que era 20 veces mayor que el propio.
  • Joseph Henry

    Joseph Henry

    Henry construyó el primer telégrafo.
  • Joseph Henry

    Joseph Henry

    Henry construyó una versión mejorada del electroimán. Para ello enrolló en una barra de hierro dulce, espiras en forma mucho más apretada y en un número mayor; de esta manera logró una mayor intensidad magnética.
  • Inducción electromagnética

    Inducción electromagnética

    Faraday descubrió la inducción electromagnética mediante un experimento, en el que utilizó alambres conductores, bobinas y un galvanómetro. Llegó a la conclusión de que se producen corrientes eléctricas sólo cuando el efecto magnético cambia, si éste es constante no hay ninguna producción de electricidad por magnetismo.
  • Samuel Morse

    Samuel Morse

    Morse inventó un código que lleva su nombre, éste consiste en una combinación de puntos y rayas, donde la duración del punto es una unidad y de la raya es de tres unidades. La transmición de una unidad significa que durante ese tiempo el maipulador está conectado, cerrando el circuito eléctrico.
  • Primer generador de electricidad.

    Primer generador de electricidad.

    Hippolyte Pixii en Francia, construyó el primer generador de electricidad.
  • Primer motor eléctrico

    Primer motor eléctrico

    L. C. Davenport construyó el primer motor eléctrico para uso industrial.
  • Primer central telefónica.

    Primer central telefónica.

    La primera central telefónica se instaló en 1878 en New Haven, Connecticut, EUA, con 21 abonados.
  • Lámpara incandescente

    Lámpara incandescente

    Thomas Alva Edison logró construir una lámpara incandescente, en la que un filamento de carbon emitía luz al hacerle pasar una corriente eléctrica por más de 40 horas.
  • Estación eléctrica

    Estación eléctrica

    Edison hizo una planta en la que se generaba electricidad y de allí se distribuía en muchas partes de la cuidad. Esto ocurrió en la ciudad de Nueva York.