2de571c799f971dadfe3d23586999ae6

Electromagnetismo: De la ciencia a la tecnología.

  • Primera aplicación práctica del imán.
    Mar 29, 1086

    Primera aplicación práctica del imán.

    El matemático chino, Shen Kua, fue el primero que escribió acerca del uso de una aguja magnética para indicar direcciones.
    La brújula se basa en el principio de que si se suspende un imán en forma de aguja, de tal manera que pueda girar libremente, uno de sus extremos siempre apuntará hacia el norte.
  • Tratado; "De magnete".

    Tratado; "De magnete".

    El inglés William Gilbert, publicó su tratado, en el que compendió los siguientes aspectos:
    *Propuso que la Tierra es un enorme imán.
    *Explico la atracción que ejerce el polo norte sobre el extremo de una aguja imantada.
    *Cada imán tiene dos polos, el norte (N) y el sur (S),
    *Polos iguales se repelen, y polos distintos se atraen.
    *Si un imán se calienta pierde sus propiedades magnéticas, las cuales vuelve a recuperar si se le enfria.
  • Primer generador de electricidad.

    Primer generador de electricidad.

    El alemán Otto von Guericke (1602-1686), construyó el primer generador de electricidad, el cual producía cargas eléctricas por medio de fricción.
    Sobre un armazón de madera montó una esfera de azufre sobre un eje y la hacía girar con una mano, mientras que con la otra la presionaba. Así obtenía cargas eléctricas sobre la esfera, que atraían objetos cercanos.
  • Primer dispositivo para almacenar cargas eléctricas.

    Primer dispositivo para almacenar cargas eléctricas.

    El holandes Pieter van Musschenbroek, construyó una botella de vidrio que estaba recubierta, tanto en sus paredes interiores como exteriores, de una capa muy delgada de estaño. Este dispositivo almacenaba cargas eléctricas, producidas por las máquinas de fricción.
  • Invención del pararrayos.

    Invención del pararrayos.

    Benjamín Franklin descubrió que los rayos eran descargas eléctricas que partían de las nubes. Sus experiementos dieron lugar a la invención del pararrayos, que consistía en una varilla metálica picuda conectada a la tierra; las cargas eléctricas del rayo eran atraídas a la varilla y conducidas a la tierra para evitar daños.
  • "La electricidad animal"

    "La electricidad animal"

    Luigi Galvani, realizó experiementos, conectando en un extremo de la pata de una rana un alambre de cobre, y en el otro extremo uno de hierro. Descubrió que los músculos se estremecían cuando había tormenta, y cuando juntaba los alambres la pata se contraía.
    Llegó a la conclusión de que si se formaba un circuito cerrado entre dos metales que pasara por la pata, se generaba una corriente eléctrica que circulaba.
    Pero NO ESTABA EN LO CIERTO pues creyo que existía fuente de la electricidad animal.
  • Ley de Coulomb.

    Ley de Coulomb.

    El ingenierio militar francés Charles Auguste Coulomb (1736-1806), utilizó un pendulo de torsión para medir las características de las fuerzas entre partículas eléctricamente cargadas.
    *Mientras más grande es cada una de las cargas, mayor es la magnitud de la fuerza entre ellas.
    *Mientras más separadas estén las cargas, menor será la fuerza.
  • Electrolisis.

    Electrolisis.

    En Londres, William Nicholson y Anthony Carlisle construyeron una pila y conectaron cada una de las terminales de la pila a un recipiente con agua. Se dieron cuenta de que en una de las terminales aparecía hidrógeno y en la otra, oxígeno.
    Este es el fenomeno de la electrólisis, en el que, por medio de una corriente eléctrica, se separan los átomos que componen la molécula del agua.
  • VOLTAJE

    VOLTAJE

    El descubrimiento de Volta se expandió rapidamente, y en muchos países europeos se construyeron pilas voltaicas de diferentes tipos, que fueron un gran estímulo para el estudio de la electricidad.
    En 1881 el Congreso Internacional de Electricistas decidió honrarlo dando su nombre a la unidad de diferencia de potencial: el volt o voltaje.
  • Pila voltaica (1er dispositivo electroquímico).

    Pila voltaica (1er dispositivo electroquímico).

    El profesor Alejandro Volta, realizó una serie de experimentos basados en los de Galvani, usando cobre, hierro y el líquido del tejido muscular, así como alambres de diferentes materiales, hizo distintas combinaciones y siempre encontraba el mismo efecto.
    De este manera refutó la teoria de Galvani y concluyó que el efecto se debía a una acción química entre el líquido (electrolito), y los dos metales (zinc y cobre).
    Así, Volta construyó su llamada pila voltaica.
  • Una corriente eléctrica produce un efecto magnético.

    Una corriente eléctrica produce un efecto magnético.

    Hans Christian Oersted, fue el 1ro en afirmarlo; colocó un alambre por el que circulaba corriente eléctrica encima de una brújula y observó que la aguja se desviaba hacia el oeste. En seguida colocó este alambre debajo de la brújula y vio que la aguja también se desviaba, pero ahora, hacia el este.
    Así concluyó que para que la aguja imantada de la brújula se pudiera mover tuvo que experimentar una fuerza magnética, y que la corriente eléctrica del alambre tuvo que generarla.
  • Galvanómetro.

    Galvanómetro.

    Ampère se dio cuenta de que una aguja de imán podía detectar una corriente eléctrica, y basándose en esta idea construyó un instrumento al que llamó galvanómetro. Esta invención ha sido primordial para la ciencia y tecnología del electromagnetismo.
  • Descubrimientos de Ampére.

    Descubrimientos de Ampére.

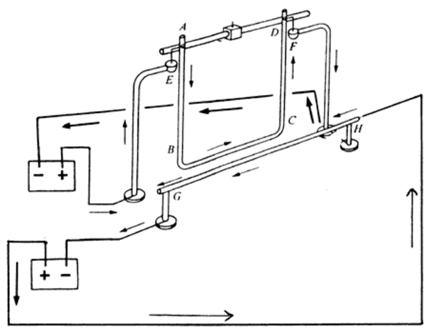
    Luego de los analisis de Oersted, André-Marie Ampère comenzó sus experimentos e hizo correciones:
    *La aguja imantada siempre está en dirección perpendicular a la corriente.
    *Si se hace pasar una corriente en ambos alambres, se atraen cuando la corriente tiene el mismo sentido y se repelen ccn sentido opuesto.
    *Un alambre que conduce electricidad crea un campo magnetico, y el otro, experimenta una fuerza.
    *LEY DE AMPÉRE: Calcula la fuerza electromagnética entre dos conductores de electricidad,
  • Primer electroiman.

    Primer electroiman.

    El inglés William Sturgeon creo un imán accionado por electricidad. enrollando 18 espiras de alambre conductor alrededor de una barra de hierro en forma de herradura.
    Al conectar los extremos del cable a una batería el hierro se magnetizó y pudo levantar un peso 20 veces mayor que el propio.
  • Electroimán de Joseph Henry.

    Electroimán de Joseph Henry.

    Este estadounidense, creó una versión mejorada del electroiman.
    Enrolló en una barra de hierro dulce espiras en forma mucho más apretada y en un número mayor; logrando mayor intensidad magnética.
    Sus ventajas son que la intensidad se puede controlar (cambiando la corriente que circula o variando el número de espiras). Además, al cesar la corriente, desaparece el efecto magnético.
  • Primer telégrafo eléctrico.

    Primer telégrafo eléctrico.

    Es un aparato que transmite mensajes codificados a larga distancia mediante impulsos eléctricos que circulan a través de un cable conductor.
    En1829, Josehp Henry construyó el primer telégrafo. Sin embargo, la persona que le dio gran impulso fue el estadounidense Samuel Morse, quien inventó un código que consiste en una combinación de puntos y rayas.
  • Aportaciones de Faraday.

    Aportaciones de Faraday.

    A partir de los descubrimientos de Oersted y Ampère, el inglés Michael Faraday inició sus experiementos utilizando la pila voltaica y el galvanómetro, de esta manera pudo llegar a distintas conclusiones muy importantes.
    Faraday descubrio que la manera de obtener fuentes de corrientes eléctricas intensas era por medio de generadores eléctricos.
    También formuló la ley de inducción de Faraday: Si el flujo neto cambia, se induce una corriente eléctrica.
  • Primer generador de electricidad.

    Primer generador de electricidad.

    En FRancia, Hippolyte Pixii, a sugerencia de Faraday, construyó el primer generador de electricidad.
    Con este aparato la energía mecánica que se desarrolla al girar la bobina por medio de la manivela se ha convertido en energía eléctrica que tiene la corriente que se induce. Este aparato se llama generador (o dinamo) de electricidad
  • Primer motor eléctrico.

    Primer motor eléctrico.

    L. C. Davenport construyó el primer motor eléctrico para uso industrial.
    De esta manera fue posible transformar la energía eléctrica que la batería entrega al hacer circular la corriente por la bobina, en energía mecánica para mover algún objeto
  • Teléfono.

    Teléfono.

    El inventor de este aparato fue el estadounidense Alexander Graham Bell.
    dispositivo que transforma las ondas de sonido que se emiten cuando uno habla en variaciones de una corriente eléctrica. Esta corriente podía llegar al lugar receptor a través de un cable conductor. El receptor tendría un aparato que invirtiera el proceso: transformar las variaciones de una corriente eléctrica en sonido.
  • Tranformador (generador secundario).

    Tranformador (generador secundario).

    El frances Lucien H. Gaulard, y el inglés John D. Gibbs, obtuvieron una patente para un dispositivo que llamaron generador secundario (y hoy conocemos como transformador). De esta manera incorporaron a un sistema de iluminación la corriente alterna.