112

Electromagnetismo -De la ciencia a la tecnología

  • Primer generador de electricidad

    Primer generador de electricidad

    Otto von Guericke de Magdeburgo, Alemania, construyó el primer generador de electricidad. Este aparato producía cargas eléctricas por medio de fricción.
  • Electrificación

    Electrificación

    Hacia principios del siglo XVIII se inició la investigación detallada de los fenómenos eléctricos por dos cientificos ingleses, Stephen Gray y Jean Desaguliers, quienes pudieron observar el fenomeno de la electrificación.
  • Cargas Iguales

    Cargas Iguales

    Un científico francés, François du Fay, frotó con tela de seda dos tubos de vidrio iguales. Al acercar los tubos vio que siempre se repelían. Así concluyó que dos materiales idénticos se repelan cuando se electrifican en formas idénticas. Los tubos al tener mismas cargas se puede concluir que cargas iguales se repelen.
  • Tipos de electricidad

    El mismo cientifico hizo muchos otros experimentos que le permitieron llegar a el descubrimiento de dos tipos de electricidad, a una la llamó vitrosa (la que aparece cuando se frota con seda el vidrio) y a la otra resinosa (la que aparece cuando se frota al hule con piel).
  • Pendulo

    Pendulo

    El ingeniero militar francés Charles Auguste Coulomb pudo medir con bastante precisión las características de las fuerzas entre partículas eléctricamente cargadas. Para ello utilizó un péndulo de torsión que consiste en una barra AB que está sujeta por medio de un alambre vertical.
  • Corriente electrica

    Corriente electrica

    Luigi Galvani descubrió que los músculos se estremecían cuando había tormenta, pues las cargas que recogía el pararrayos se transportaban a través del músculo hasta la tierra. Con un generador y unas ancas de rana hizo un experimento y se dio cuenta que si los metales hierro y cobre se unen, el anca de la rana se contrae debido al paso de una corriente eléctrica.
  • Pila voltaica

    Pila voltaica

    Alejandro Volta, profesor de la Universidad de Pavia, Italia, se enteró de los experimentos de Galvani y los volvió a hacer, usando lo que llamó ranas "galvanizadas". Volta construyó lo que posteriormente se llamó una pila voltaica, que fue el primer dispositivo electroquímico que sirvió como fuente de electricidad.
  • Fuerza magnetica

    Fuerza magnetica

    Hans Christian Oersted, profesor de filosofía natural en la Universidad de Copenhague, inició en 1807 sus investigaciones sobre los efectos de la electricidad en la aguja magnética de una brújula. Después de muchos años, en 1820, durante una clase en que estaba presentando a sus alumnos ciertos experimentos eléctricos, encontró que una corriente eléctrica sí tiene un efecto sobre un imán.
  • Galvanometro

    Galvanometro

    En la misma serie de experimentos del otoño de 1820 Ampère se dio cuenta de que una aguja de imán podía detectar una corriente eléctrica, y basándose en esta idea construyó un instrumento al que llamó galvanómetro, nombre que conserva hasta el día de hoy.
  • Experimento de Ampère

    Experimento de Ampère

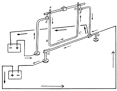
    Ampère diseñó un experimento en el que también se considerara el magnetismo terrestre. Así encontró el verdadero efecto que tenía la corriente eléctrica sobre la aguja imantada: ésta siempre se alinea en una dirección perpendicular a la dirección de la corriente eléctrica. A partir de sus experimentos encontró que las fuerzas entre los alambres dependen de la magnitud de las corrientes que circulan por ellos. A mayor corriente en cada alambre, mayor será la magnitud de la fuerza.
  • Experimento de Faraday

    Experimento de Faraday

    En 1825, Faraday hizo un experimento con el cual descubrió la induccion electromagnetica con el fin de comprobar si se podía obtener electricidad a partir del magnetismo.
  • 1825

    1825

    En 1825 el inglés William Sturgeon enrolló 18 espiras de alambre conductor alrededor de una barra de hierro dulce, que dobló para que tuviera la forma de una herradura y fue el primer electroiman construido.
  • Codigo Morse

    Este código consiste en una combinación de puntos y rayas, en donde la duración del punto es una unidad y la de la raya es de tres unidades inventado por el estadounidense Samuel Morse para el impulso del telegrafo.
  • Primer Transformador

    Primer Transformador

    El primer transformador fue, de hecho, construido por Faraday cuando realizó los experimentos en los que descubrió la inducción electromagnética.
  • Generador de electricidad

    Generador de electricidad

    Por otro lado, en 1832, o sea un año después del anuncio del descubrimiento de Faraday, Hippolyte Pixii en Francia, a sugerencia de Faraday, construyó el primer generador de electricidad.
  • Motor electrico

    Motor electrico

    El descubrimiento de Ampère sentó las bases para la invención del primer motor eléctrico. En 1837 L. C. Davenport construyó el primer motor eléctrico para uso industrial.
  • Telegrafo

    Telegrafo

    El telégrafo moderno, inventado por Ampère y Faraday, empezó a usarse a partir de 1837, es un aparato que transmite mensajes codificados a larga distancia mediante impulsos eléctricos que circulan a través de un cable conductor.
  • Sistema de distribución de electricidad

    Sistema de distribución de electricidad

    Edison hizo una planta con un generador de corriente continua en la que se generaba electricidad y de ahi se distribuia a varias partes de la ciudad gracias a una red de lineas.