Electromagnetismo De la ciencia a la tecnología

  • 1100

    Magnetismo

    Shen Kua escribio acerca del uso de una aguja magnética para indicar direcciones, tiempo despues Chu Yu informó que la brújula se utilizaba también para la navegación entre Cantón y Sumatra
  • Magnetismo

    Magnetismo

    William Gilbert analizó las diferentes posiciones de la brújula y propuso que la Tierra es un enorme imán. Igualmente se dió cuenta quqe cada imán tiene dos polos, el norte (N) y el sur (S).
  • Electricidad

    Electricidad

    Otto von Guericke construyó el primer generador de electricidad. Obtenía cargas eléctricas sobre la esfera, que atraían diversos objetos cercanos.
  • Electricidad

    Stephen Gray y Jean Desaguliers, encontraron que si unían por medio de un alambre metálico un tubo de vidrio previamente frotando con un trozo de corcho, éste se electrificaba.
  • Electricidad

    Electricidad

    Isaac Newton retomó el experimento de Guericke pero propuso usar una esfera de vidrio en lugar de una de azufre. Al pasar los años se diseñaron diferentes variantes, gracias a lo cual se construyeron máquias cada vez con mayor capacidad de producir carga eléctrica.
  • Electricidad

    Francois du Fayconcluyó que dos materiales idénticos se repelan cuando se electrifican en formas idénticas, al frotar con tela de seda dos tubos de vidrio iguales.Al acercar los tubos vio que siempre se repelían.
  • Electricidad

    Electricidad

    Benjamín Franklin y Franciscois concluyeron que existen dos tipos de cargas electricas: positiva y negativa. dos cargas del mismo tipo se repelen y dos cargas de diferentes tipos se atraen.
  • Electricidad

    Electricidad

    Pieter van Musschenbroek, construyo el primer dispositivo para almacenar cargas eléctricas, y asi se diseñaron dispositivos para almacenar carga electrica de manera mas práctica y cómoda.
  • Electricidad

    Electricidad

    Benjamín Franklin descubrio que los rayos eran descargas eléctricas que partían de las nubes y esto dio lugar a la invención del pararrayos
  • Electricidad

    Charles Auguste Coulomb pudo medir con bastante precisión las características de las fuerzas entre partículas eléctricamente cargadas y para esto utilizó un péndulo de torsión
  • Electricidad

    Electricidad

    Luigi Galvani unio una extremidad de la rana a un pararrayos y la otra la fijó a la tierra por medio de un alambre metálico. los músculos se estremecían cuando había tormenta, pues las cargas que recogía el pararrayos se transportaban a tráves del músculo hasta la tierra, Galvani creyó que la fuente de la electricidad estaba en lo que llamó "electricidad animal".
  • Electricidad y Magnetismo

    Hans Christian Oersted encontró que una corriente eléctrica si tieneun efecto sobre un imán; mientras estaba presentando a sus alumnos ciertos experimentos eléctricos.
  • Electricidad y Magnetismo

    André-Marie Ampére diseñó entonces un experimento en el que éste fuera neutralizado, ésta siempre se alinea en una dirección perpendicular a la dirección de la corriente eléctrica.
  • Electricidad y Magnetismo

    Electricidad y Magnetismo

    Ampére se dio cuenta de que una aguja de imán podía detectar una corriente eléctrica, construyó un instrumento al que llamó galvanómetro.
  • Electricidad y Magnetismo

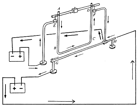
    Electricidad y Magnetismo

    André-Marie Ampére descubrió que dos alambres (el GH y el BC) que conducen electricidad ejercen fuerza entre sí.
  • Electromagnética

    Electromagnética

    Faraday retomó los experimentos de Orsted y Ampére, pero él se dió cuenta de muchas cosas más como que en el instante en que conectaba la batería ocurría una pequeña desviación de la aguja de galvanómetro. Pero lo que describió fue que se producen corrientes eléctricas solo cuando el efecto magnético cambia, si éste es el constante no hay ninguna producción de electricidad por magnetismo.
  • Period: to

    Electromagnética

    Faraday descubrió que si el flujo neto cambia entonces se induce una corriente eléctrica. Este descubrimiento lleva el nombre de ley de inducción de Faraday.
  • Electromagnética

    Electromagnética

    Faraday realizó otro experimento en el cual descubrió que solo habia movimiento de la aguja del galvanómetro cuando se conectaba y desconectaba la batería. Cuando fluía por la bobina B una corriente de valor constante, la aguja dle galvanómetro no se movía, lo que indicaba que por la bobina A no había corriente alguna. Tambien dijo que. El flujo es igual a la magnitud del efecto magnético multiplicada por el área efectiva
  • Electricidad

    Electricidad

    Alejandro Volta retomando los experimentos de Galvani, Volta se dio cuenta que para lograr el efecto necesitaban cobre, hierro y el liquido del tejido muscular, tambien se dio cuenta que si usaba estaño y cobre lograba una corriente relativamente fuerte, mientras que si usaba hierro y plata el efecto era poco intenso, descubrio que se debía a una accion química entre el líquido, llamado electrolito, no por la "electricidad animal". volta hizo el primer dispositivo electroquímico.