The Discovery of Alternating Current

By 29rose
  • AC Induction Is Born

    AC Induction Is Born

    Tesla creates a motor that is able to conduct alternative current electricity.
  • Tesla Creates the First AC Motor

    Tesla constructed a woking AC motor while in France. He tryied to get financing from investors however the project was rejected.
  • Tesla Electric Light Company

    Tesla Electric Light Company

    Investors approached Tesla and had asked him to develop an improved method for arc lighting. The group was willing to finance the Tesla Electric Company. Alas, all of the money made went to the investors and Tesla got valueless stock certificates. (Picture Shown: A Peice of Stock from the Tesla Electric Light Company)
  • Tesla Applies For Patents

    Tesla Applies For Patents

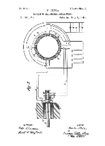
    In the winter of 1887, Tesla filed for seven U.S. patents dealing with his polyphase alternating current motors and power transmission. This was comprised of complete structures of generators, transformers, transmission lines, motors, and lighting.
    (Picture Shown: Patent 381,970 - System of Electrical Distribution)
  • George Westinghouse buys AC patent

    George Westinghouse buys AC patent

    George Westinghouse buys Telsa's AC patent making him the sole controller of AC transformers and motors.
  • Electric Chair Used

    The Electric Chair was used for the first time in what was later called, "an awful spectacle, far worse than hanging." (Picture Shown: One of the first electric chairs)
  • The Chicago World's Fair

    The Chicago World's Fair

    Tesla alongside with Westinghouse provide AC electricity to light up the world's fair in Chicago (Picture Shown: Alternating Current lamps lighting up the World's Fair)

Plan projects on a visual timeline

Map milestones, phases, deadlines, and key events in one place so the sequence is easier to see and share. Timetoast is a timeline maker for work, school, research, and stories.