Images

Television

By Mic135
  • Television y el nacimiento de esta idea

    Television y el nacimiento de esta idea

    Para la idea de crear la television nos podemos remontar hasta Galileo Galilei y su telescopio, Pero no fue hasta que en 1884, que con la invención del Disco de Nipkow de Paul Nipkow; cuando se hiciera un avance relevante para crear este medio
  • Nipkow a toda marcha.

    Nipkow a toda marcha.

    El diseño de Nipkow se lleva a cabo.
  • Imágenes muy crudas y sin movimiento

    Imágenes muy crudas y sin movimiento

    Rosing y Zworykin crea un sistema de televisión con imágenes muy crudas y sin movimiento.
  • Nace el iconoscopio

    Nace el iconoscopio

    Vladimir Zworykin desarrolla el iconoscopio, el primer tubo de cámara práctico.
  • Practica y acorde de la Tv?

    Practica y acorde de la Tv?

    El inventor escocés John Logie Baird efectúa la primera experiencia real utilizando dos discos, uno en el emisor y otro en el receptor, que estaban unidos al mismo eje para que su giro fuera síncrono y separados por 2 mm.
  • Primera emision.

    Primera emision.

    El japonés Kenjito Takayanagi realiza la primera transmisión de televisión usando tubo de -rayos catódicos-(son corrientes de electrones observados en tubos de vacío, es decir los tubos de cristal que se equipan por lo menos con dos electrodos, un cátodo o electrodo negativo y un ánodo o electrodo positivo en una configuración conocida como diodo).
  • Emiciones publicas

    Emiciones publicas

    La BBC hizo su primera transmision publica en Inglaterra.
  • Emisiones regulares

    Emisiones regulares

    comenzaron las emisiones regulares de Tv electronica en Francia y en el Reino Unido generando un desarrollo en la industria televisivay un aumento de telespectadores.
  • Disector de imagen

    Disector de imagen

    Philo Farnsworth realiza en San Francisco la primera demostración pública de su disector de imagen, un sistema similar al iconoscopio.
  • Nuevos metodos de transmision.

    Nuevos metodos de transmision.

    John Logie Baird transmite una señal 438 millas a través de una línea de teléfono entre Londres y Glasgow.
  • Transmision a distintos Lugares

    Transmision a distintos Lugares

    Baird Television Development Company consigue la primera señal de televisión transatlántica entre Londres y Nueva York.
  • Mas emisiones publicas

    Mas emisiones publicas

    CBC y NBC hacen sus primeras transmisiones en Estados Unidos.
  • El cambio a la Tv tal cual como al conocemos hoy en dia

    El cambio a la Tv tal cual como al conocemos hoy en dia

    Iconoscopio fue un antecesor de las cámaras de televisión, en la cual un rayo de electrones de alta velocidad explora un mosaico fotoemisor. Un grupo de investigadores de RCA, liderado por Vladimir Zworykin, introdujo el Iconoscopio luego que en 1930 examinaron una cámara de televisión electrónica.
  • Programacion

    Programacion

    Las emiciones con programacion nacen en Inglaterra y tres años despues en Estados Unidos coincidiendo con la Inauguracion de la Exposision Universal de Nueva York las emisiones programadas se cancelaron durante la Segunda guerra Mundial.
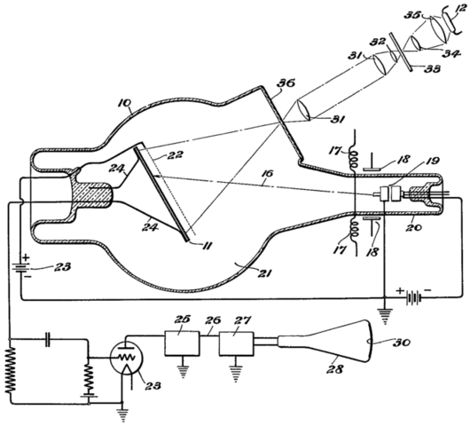
  • Rayos catodicos

    Rayos catodicos

  • ¿Camarena? ¿Color?

    ¿Camarena? ¿Color?

    Camarena- adaptador cromoscópico simplificado para la televisión y El Color
  • Eurovision

    Eurovision

    Ya que en el siglo xx la television se vuelve una bandera tecnologica y cada pais desarrolla sus propios sistemas nacionales de Tv y privados, nace en Europa una cadena que asocia a Europa y sus sistemas de Tv por medio de ondas microondas
  • Magnetoscopios

    Magnetoscopios

  • Uso de satelites geoestacionarios

    Uso de satelites geoestacionarios

    Se crea Mundovision, haciendo uso de satelites geoestacionarios cubriendo todo el mundo
  • Zoom

    Zoom

    En los años 70 se implementaron las ópticas Zoom y se empezaron a desarrollar magnetoscopios más pequeños que permitían la grabación de las noticias en el campo
  • Digitalizacion

    Digitalizacion

    Durante la decada de los 80's se empiezan a desarrollar sistemas de digitalizacion como en la produccion y en la transmision
  • 3d

    3d

    En la decada de los 90's aparece el efecto 3 D el cual ya en los años 2000 tubo su desarrollo
  • Tele-Vision

    Tele-Vision

    Periskyi acuña la palabra televisión.
  • SDI

    SDI

    Se aprueba la norma para la conexión en serie de equipos, el denominado SDI Serial Digital Interface. Sale el sistema D5 de Panasonic y el betacam digital de Sony.
  • Emisiones digitales

    Emisiones digitales

    Se aprueban las normativas para las emisiones digitales, por satélite la DVB-S, por cable la DVB-C basadas en la compresión MPEG-2.
  • El Día Mundial de la Televisión

    El Día Mundial de la Televisión

    El Día Mundial de la Televisión se celebra el 21 de noviembre en conmemoración de la fecha en que se celebró en 1996 el primer Foro Mundial de Televisión en las Naciones Unidas.
  • Television digital Terrestre

    Television digital Terrestre

    Nacen las plataformas digitales por satélite. Se aprueba la norma DVB-T para la televisión digital terrestre. En EEUU se aprueba la ATSC (Advanced Television System Committee) para la transmisión de televisión digital terrestre.

Looking for a timeline maker?

Create timelines for projects, roadmaps, history, lessons, legal cases, and stories with Timetoast. Timetoast is a timeline maker for work, school, research, and stories.