Subway

  • Первый проект Московоского метрополитена

    Первый проект Московоского метрополитена

    Инженерами путей сообщения А. И. Антоновичем, Н. И. Голиневичем и Н. П. Дмитриевым был разработан проект Московской городской железной дороги (метрополитена). Этот проект предусматривал надземную прокладку линий по грунту или на эстакадах. Планировалось построить несколько радиальных линий и одну кольцевую по Камер-коллежскому валу с пересадочными станциями.
  • Схема линий Московского метрополитена

    Схема линий Московского метрополитена

    В июне 1931 года первый секретарь Московского комитета ВКП(б) Л. М. Каганович продвигает на партийном пленуме решение срочно строить метро.
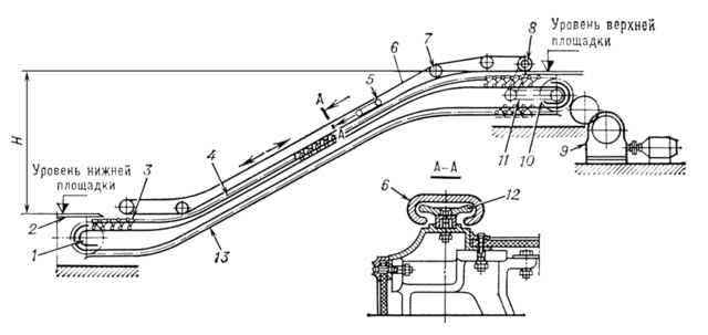
  • Первый в Москве

    Первый в Москве

    Чертёж первого Московского эcкалатора.
  • Открытие

    Открытие

    Московский метрополитен был открыт 15 мая 1935 года. В 5 часов 48 минут в метро был включён ток и через 4 минуты из депо вышел первый поезд. В 6 часов 45 минут открылись двери надземных вестибюлей. Пусковый комплекс включал в себя 11,5 км трассы, 13 станций и 14 поездов.
  • Московский метрополитен во время 2 Мировой войны

    Московский метрополитен во время 2 Мировой войны

    В первую же воздушную тревогу в ночь на 22 июля 1941 года в метро собралось 500 000 человек, причем люди прятались не только на станциях, но и в тоннелях. Осенью 1941 года метро использовалось как бомбоубежище. За время авианалётов в метро родилось 217 детей.
  • "Большое кольцо"

    "Большое кольцо"

    С 1958 - по 1969 в московском метрополитене строилось "Большое кольцо"
  • Первая станция за пределами МКАД

    Первая станция за пределами МКАД

    В декабре 2002 года была открыта первая станция Московского метрополитена за пределами МКАД — «Бульвар Дмитрия Донского».
  • Самый крупный теракт

    Самый крупный теракт

    В 8:30 по московскому времени прогремел взрыв в поезде, на перегоне между станциями «Автозаводская» и «Павелецкая». Взрывное устройство мощностью 4 килограмма в тротиловом эквиваленте привёл в действие террорист-смертник. В результате взрыва погиб 41 человек (не считая самого террориста) и свыше 250 получили ранения.
  • Перспективы

    Перспективы

    4 мая 2012 года Правительство Москвы приняло постановление № 194-ПП «Об утверждении Перечня объектов перспективного строительства московского метрополитена в 2012—2020 гг.». Согласно этой программе в 2013—2020 годах планируется построить 160 км новых линий метро и 79 станций.
  • WI - FI

    WI - FI

    С 2013 - по 2014 годы, Московский метрополитен был полностью оснащён WI -Fi.

Plan projects on a visual timeline

Map milestones, phases, deadlines, and key events in one place so the sequence is easier to see and share. Timetoast is a timeline maker for work, school, research, and stories.