-
Leo Fender makes the first solid body electric guitar
https://timpanogos.wordpress.com/2012/08/16/august-14-1951-leo-fenders-telecaster-guitar-patent-issued/ -
Supports for musical instruments while playing, e.g. cord, strap or harness.
https://patents.google.com/patent/US3323698A/en?q=guitar&oq=guitar -
General design of stringed musical instruments of guitars
https://patents.google.com/patent/US3474697A/en?q=guitar&oq=guitar -
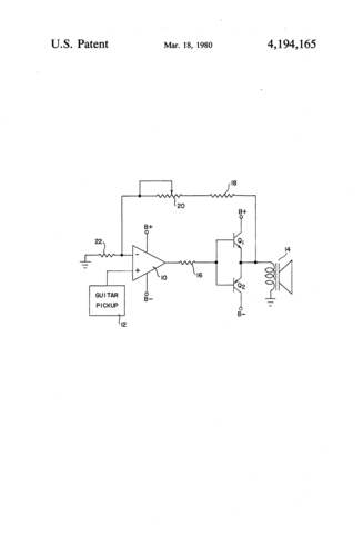
A miniature guitar amplifier, having at least one very small (13/4 inch) speaker driven by complementary transistors connected in an emitter-follower push-pull arrangement.
https://patents.google.com/patent/US4194165A/en?q=guitar+amplifier&oq=guitar+amplifier -
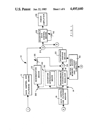
A programmable adjustable distortion amplifier circuit has a first channel having an adjustable gain and a filter for filtering high and low frequency components of signal processed by the first channel, a second channel having an adjustable gain and a filter for filtering high and low frequency.
https://patents.google.com/patent/US4495640A/en?q=guitar+amplifier&oq=guitar+amplifier -
An acoustic guitar has a folding, collapsible body and a folding neck for providing acoustic sounds from an easily stored instrument.
https://patents.google.com/patent/US4686882A/en?q=acoustic+guitars&oq=acoustic+guitars -
An improved acoustic guitar bridge having string intonation, height, and tilt adjustment and comprising an anchor joined to and protruding downwardly from a chassis housing a plurality of forwardly and rearwardly adjustable saddles.
https://patents.google.com/patent/US5208410A/en?q=guitar&q=bridge&oq=guitar+bridge -
An electromagnetic pickup device for use in an electrical string musical instrument
https://patents.google.com/patent/US5111728A/en?q=Single-coil&q=pickup&oq=Single-coil+pickup -
A guitar stand has a tripod device, a first adjustment device, a second adjustment device, a lower pipe, an upper pipe, a bracket device, and a clamping device.
https://patents.google.com/patent/US6209829B1/en?q=guitar&oq=guitar&page=4 -
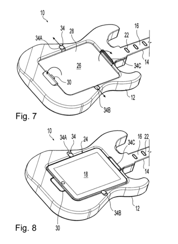
A synthetic guitar includes a body, a neck extending from the body, and at least one touch sensor at the neck for indicating finger position of a user. The body has a receptacle for removably securing a tablet computer to the body.
https://patents.google.com/patent/US8093486B2/en?q=guitar&oq=guitar&page=9