-
Herbs were depended to help cure sicknesses. They listed symptoms and remedies on clay tablets. Some prescriptions were made from milk, snakeskin, turleshells and other ingredients. About Traditional Chinese Medicine. (n.d.). Retrieved November 13, 2015, from http://www.truemindcenter.com/about-traditional-chinese-medicine/
-
When a peros was ill they saw disharmony in the body . A practitioner would restore balance & harmony by using herbs, acupuncture, & massaging the body
TIME:1600-2500 bc Wu, A. (2014, August 21). The History of Chinese Medicine. Retrieved November 13, 2015, from http://www.chinahighlights.com/travelguide/chinese-medicine/history.htm -
Like Babylonia Native American tribes used herbs around their surroundings . They would also use spiritual techniques About Traditional Chinese Medicine. (n.d.). Retrieved November 13, 2015, from http://www.truemindcenter.com/about-traditional-chinese-medicine/
-
When arriving to the New World (America) the British caught many diseases and died. An Indian tribe helped them by using the same method, Herbal medicine
1600s- early 1700s -
Doctors would withdrawal blood from a patient when they were sick, even if they had a cold. Erotomania and bodily decorum. (2013, September 29). Retrieved November 15, 2015, from https://parthenissa.wordpress.com/2013/09/29/erotomania-and-bodily-decorum/
-
Is the removal of a piece of bone from the skull by scrapping, grooving, cutting, and chiseling using the tool Trephine Trepanation Party. (n.d.). Retrieved November 15, 2015, from http://kxsc.org/trepanationparty/
-
Rene Laennec invented the 1st stethoscope which gave rise in a new concept of disease. Making the Modern World - Icons Of Invention - Medicine - 1820-1880. (n.d.). Retrieved November 16, 2015, from http://www.makingthemodernworld.org.uk/icons_of_invention/medicine/1820-1880/IC.100/
-
Ignaz Gruber invented the first otoscope
http://oto.cellscope.com/2013/08/14/the-brief-history-of-the-otoscope/ -
Francis Rynd created the Hollow needle syringe, after he created it he injected different drugs in patients to figure out a cure for neuralgia. Most read posts. (n.d.). Retrieved November 16, 2015, from http://ireland-calling.com/francis-rynd/
-
Arthur Leared was a physician who innovated the first stethoscope into a binaural stethocope Stethoscope - knowledge_technology_Discover. (n.d.). Retrieved November 16, 2015, from https://sites.google.com/site/anonymouslyanonymoussas/artefacts/stethoscope
-
Gearge Cammann innovated the binaural stethoscope Stethoscope - knowledge_technology_Discover. (n.d.). Retrieved November 16, 2015, from https://sites.google.com/site/anonymouslyanonymoussas/artefacts/stethoscope
-
Charles Pravaz & Alexander Wood created the hypodermic syringe but both made independently. Hypodermic syringe, English, c 1860. (2003, October 20). Retrieved November 16, 2015, from http://www.sciencemuseum.org.uk/images/I021/10284541.aspx
-
E. Siegle innovated the otoscope Pneumatic otoscopy: An old diagnostic tool revisited. (2007, June 1). Retrieved November 16, 2015, from http://www.healio.com/pediatrics/practice-management/news/print/infectious-diseases-in-children/{415f5e73-779e-48cb-96c9-2ea8adb0bf9d}/pneumatic-otoscopy-an-old-diagnostic-tool-revisited
-
Wilhelm Conrad Rontgon invented the X-ray, when everyone found out about the X-ray he was given a Nobel Prize. X RAYS - RONTGEN. (n.d.). Retrieved November 16, 2015, from http://www.akisrx.com/inglese/htm/roentgen.htm
-
In 20th century there were many improvements like reduced weight, imroved acoustic quality and filter out external noise. History of the Stethoscope. (n.d.). Retrieved November 16, 2015, from http://adctoday.com/learning-center/about-stethoscopes/history-stethoscope
-
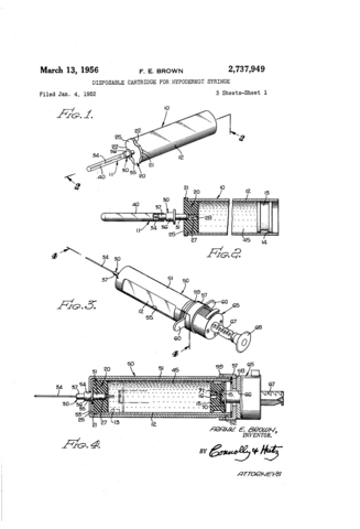
James T Greeley thought of creating disposable needles & he did. This invention is safe & healthy for patients.
-
Robert Ledley invented the first full body CT scanner. Robert S. Ledley, physicist who invented first full-body CT scanner, dies at 86. (n.d.). Retrieved November 16, 2015, from https://www.washingtonpost.com/local/obituaries/robert-s-ledley-physicist-who-invented-first-full-body-ct-scanner-dies-at-86/2012/07/26/gJQA0TxaCX_story.html
-
William Coolidge innovated the 1st huge X-ray into a smaller one. Coolidge's x-ray tube. (n.d.). Retrieved November 16, 2015, from http://www.rsc.org/chemistryworld/2013/01/classic-kit-coolidge-x-ray-tube
-
This is just some of the Health technologies invented & innovated. They have a Social impact because it helped people stay alive & not only determine if you were healthy but opened doors for people who want to help others.