Fisica

Historia del electromagnetismo

  • Period: 1000 to 1200

    Shuen Kua describe el uso de la brujula

    En el periodo comprendido entre los años 1000-1200 d.C. se hizo la primera aplicación práctica del imán. Un matemático chino, Shen Kua (1030-1090) fue el primero que escribió acerca del uso de una aguja magnética para indicar direcciones, que fue el antecedente de la brújula.
  • Primeros experimentos de Stephen Gray y Jean Desaguliers

    Primeros experimentos de Stephen Gray y Jean Desaguliers

    Dieron a conocer los resultados de una serie de experimentos eléctricos muy cuidadosos. Encontraron que si unían por medio de un alambre metálico un tubo de vidrio previamente frotado con un trozo de corcho, éste se electrificaba. Comprobaron que el corcho se electrificaba ya que al acercarle trozos de papel éstos eran atraídos por él. Este fenómeno persistía aun si el vidrio y el corcho se separaban a distancias de 300 metros.
  • Cargas que se repelen

    Cargas que se repelen

    Frotó con tela de seda dos tubos de vidrio iguales. Al acercar los tubos vio que siempre se repelían. Así concluyó que dos materiales idénticos se repelan cuando se electrifican en formas idénticas. Como cada uno de los tubos adquiere el mismo tipo de carga se puede afirmar que cargas iguales se repelen.
  • Efectos de la electricidad en la Brújula

    Efectos de la electricidad en la Brújula

    Hans Christian Oersted, profesor de filosofía natural en la Universidad de Copenhague, inició en 1807 sus investigaciones sobre los efectos de la electricidad en la aguja magnética de una brújula.
  • Faraday solicita empleo con Humphry Davy

    Faraday solicita empleo con Humphry Davy

    En 1812 Davy recibió una solicitud de trabajo de Faraday, cuyo empleo de aprendiz como encuadernador estaba por concluir. Mandó al profesor, como prueba de su capacidad, las notas que había escrito en el curso que el mismo Davy había dictado.
  • Inicios de Faraday

    Inicios de Faraday

    Faraday fue contratado como asistente de laboratorio en 1813, comenzando así una ilustre carrera en la Royal Institution, que duró hasta su retiro, en 1861
  • Faraday publica su primer trabajo cientifico

    Faraday publica su primer trabajo cientifico

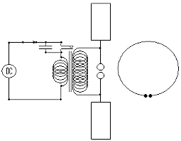
  • Creación del primer electroimán

    Creación del primer electroimán

    William Sturgeon enrolló 18 espiras de alambre conductor alrededor de una barra de hierro dulce, que dobló para que tuviera la forma de una herradura. Al conectar los extremos del cable a una batería el hierro se magnetizó y pudo levantar un peso que era 20 veces mayor que el propio. Este fue el primer electroimán, es decir, un imán accionado por electricidad.
  • Ampere publica un libro

    Ampere publica un libro

    En el año de 1826 Ampere publicó un libro, Teoría de fenómenos electrodinámicos deducidos del experimento en donde presenta, de manera muy elaborada, los resultados de sus investigaciones.
  • Royal Institution

    Royal Institution

    Faraday fué elegido miembro de la Royal Institution
  • Primer telégrafo

    Primer telégrafo

    Fue Joseph Henry quien en 1829 construyó el primer telégrafo. Sin embargo, la persona que le dio gran impulso fue el estadounidense Samuel Morse, quien inventó un código que lleva su nombre.
  • Motor Eléctrico

    Motor Eléctrico

    Davenport construyó el primer motor eléctrico para uso industrial.
  • Telégrafo moderno

    Telégrafo moderno

    El telégrafo moderno, que empezó a usarse a partir de 1837, es un aparato que transmite mensajes codificados a larga distancia mediante impulsos eléctricos que circulan a través de un cable conductor. No fue sino hasta el advenimiento de los descubrimientos electromagnéticos, hechos en el primer tercio del siglo XIX, que se dispuso de un método económico y seguro para la telecomunicación.
  • Lampara incandescente de Edison

    Lampara incandescente de Edison

    Logró construir una lámpara incandescente en la que un filamento de carbón emitía luz al hacerle pasar una corriente eléctrica por más de 40 horas.
  • Patente de Lucien H. Gaulard y John D. Gibbs

    Patente de Lucien H. Gaulard y John D. Gibbs

    Obtuvieron en 1882 una patente para un dispositivo que ellos llamaron generador secundario. De esta manera incorporaron a un sistema de iluminación la corriente alterna. El sistema que ellos patentaron fue una versión poco práctica de lo que hoy en día llamamos un transformador.
  • Instalación del primer cable transatlántico

    Instalación del primer cable transatlántico

    Fue gracias al gran talento de uno de los más eminente físicos de la época, el inglés William Thomson, lord Kelvin (1824-1907), que se hicieron los estudios necesarios para instalar en 1866 el primer cable trasatlántico que conectó a Wall Street en Nueva York con la City en Londres.
  • Medición de la propagación del campo magnético

    Medición de la propagación del campo magnético

    Faraday se preguntó si el cambio en el campo magnético producido ocurría instantáneamente o si tardaba en ocurrir, pero no pudo medir estos intervalos de tiempo ya que en su época no se disponía del instrumental adecuado. fue sino hasta el año de 1887 cuando se midió en un laboratorio por primera vez, y se comprobó que este tipo de propagación ocurre en un tiempo finito.
  • Patente de Tesla

    Patente de Tesla

    Nikola Tesla obtuvo una patente por un generador polifásico alterno que producía gran potencia eléctrica; muy pronto este tipo de máquina fue la más usada. Hoy en día se emplean generadores que son versiones muy mejoradas del generador polifásico de Tesla.
  • Cataratas del Niagara

    Cataratas del Niagara

    En las cataratas del Niágara, EUA, se instalaron generadores inmensos que iniciaron su servicio en 1895 y alimentaron de electricidad a lugares bastante lejanos, algunos situados a centenares de kilómetros. De esta manera muy pronto se establecieron sistemas de transmisión en muchos países, tendencia que continúa hasta la fecha.

Want to make a timeline like this?

Use Timetoast to turn dates, events, milestones, and phases into a clear visual timeline you can build and share. Timetoast is a timeline maker for work, school, research, and stories.