Golden age of television

Historia de la televisión.

  • Selenio

    Selenio

    Descubrimiento de las propiedades del selenio, elemento cuya conductividad eléctrica aumenta con la luz que recibe. Se uso tiempo después para el uso optimo del Iconoscopio.
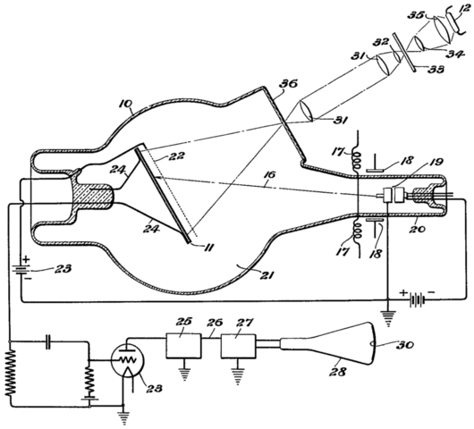
  • Iconoscopio

    Iconoscopio

    Fue un antecesor de las cámaras de televisión, en la cual un rayo de electrones de alta velocidad explora un mosaico foto-emisor, una base importante para la invención de las primeras televisiones.
  • kinetoscopio

    kinetoscopio

    Fue el precursor del moderno proyector cinematográfico y los modernos tubos de los receptores de televisión. Fue desarrollado por William Kennedy Laurie Dickson mientras trabajaba con Thomas Edison.
  • Primeras emisiones de la televisión.

    Primeras emisiones de la televisión.

    Las primeras emisiones públicas de televisión fueron efectuadas por la BBC en Inglaterra.
  • Las transmisiones crecen en las principales ciudades.

    Las transmisiones crecen en las principales ciudades.

    Los gobiernos y compañías televisivas de los países tecnológicamente más desarrollados se deciden por la televisión electrónica.
  • Los juegos olimpicos.

    Los juegos olimpicos.

    Fue la retransmisión en directo de los Juegos Olímpicos de Berlín cuya recepción se efectuó en lugares públicos.
  • Segunda Guerra Mundial

    Segunda Guerra Mundial

    Los avances experimentados en materia televisiva, así como las transmisiones, se vieron afectados en Europa durante la Segunda Guerra Mundial.
  • Televisión a color

    Televisión a color

    La primera retransmisión pública en color se realizó en Nueva York y los responsables fueron los técnicos de la cadena norteamericana CBS y posteriormente ABC.
  • Control remoto

    Control remoto

    La televisión comenzó a lucir como el modelo que conocemos hoy en día. Un cambio revolucionario fue el control remoto, que aunque era muy costoso, se convirtió en un importante complemento para la televisión de muchos hogares.
  • Señal Digital

    Señal Digital

    Comienza el auge de la digitalización de las señales para países como Estados Unidos, fue el último año de señales análogas para entrar a la era del Digital-only broadcasting.

A list shows items. A timeline shows sequence.

Use Timetoast to make dates, milestones, and turning points easier to understand in a clear visual format. Timetoast is a timeline maker for work, school, research, and stories.