Timeline of Video Games

  • First Video Game

    First Video Game

    It was a very simple tennis game, similar to the classic 1970s video game Pong, and it was quite a hit at a Brookhaven National Laboratory open house.
  • Spacewar

    Spacewar

    Spacewar, the first interactive computer game. It runs on a Digital PDP-1 mainframe computer, and the graphics are made up of ASCII text characters.
  • TV Game

    Ralph Baer, an engineer at Sanders Associates, receives support from his company (a military electronics consulting firm in NH) to explore his idea of creating interactive games using a television.
  • TV Game System

    TV Game System

    Baer and team are successful in creating two interactive TV games—a chase game and a tennis game. They are also able to manipulate a toy gun so that it detects spots of light on the TV screen.
  • Computer Space

    Computer Space

    Computer Space becomes first video arcade game ever released. 1500 games are distributed. Public consensus is that it is too difficult to play.
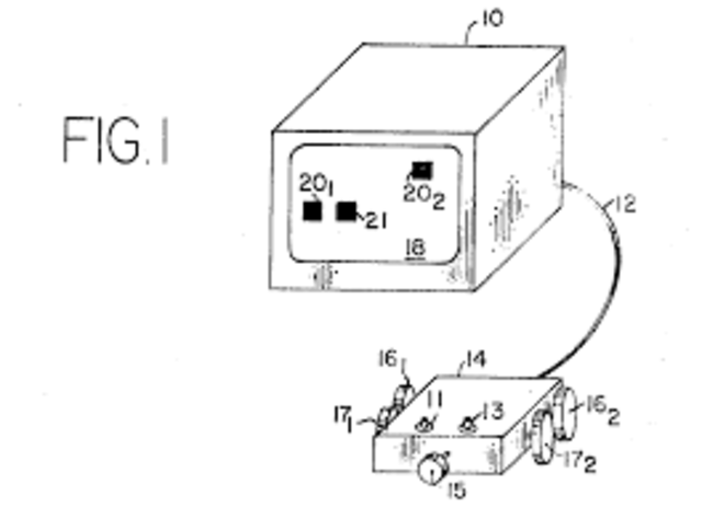
  • A Television Gaming Apparatus and Method

    A Television Gaming Apparatus and Method

    A U.S. patent is issued to Ralph Baer for "A Television Gaming Apparatus and Method"
  • first home video game system

    first home video game system

    Magnavox's Odyssey, the first home video game system, is showcased at a convention in Burlingame, CA, and is released to the public later that year. Bushnell and Dabney found Atari. "Atari" is equivalent to "check" in a chess game. Al Alcorn is hired by Atari to program video games. The first game created by Atari is Pong. Ping-Pong, the original name, is already copyrighted, so the makers name it Pong after the sound of a ball hitting the paddle.
  • Atari Pong

    Atari Pong

    Atari's Pong is released with help from Sears Roebuck, which finances the production of 150,000 units. It becomes the hottest selling Christmas present. Sears sells the product exclusively, with the Sears Tele-Games logo.
  • Gunfight Computer Game

    Gunfight Computer Game

    Gunfight, the first "computer" game is released. It is the first game to use a microprocessor instead of hardwired solid-state circuits.
  • Telstar 1976

    Telstar 1976

    Coleco releases its first home video-game console called Telstar.
  • Atari 2600

    Atari 2600

    Atari introduces its first cartridge-based home video system called the Video Computer System which later becomes known as the Atari 2600. It retails for $249.95.
  • Space Invaders

    Space Invaders

    Midway introduces Space Invaders into arcades. It is the first arcade game that tracks and displays high scores.
  • Atari Football

    Atari Football

    The trackball makes its entrance into the video-game industry as the controller in Atari's new arcade game Football.
  • Cosmos

    Cosmos

    Atari develops a handheld console that displays holograms. Named "Cosmos," this product was never released.
  • Asteroids

    Asteroids

    Asteroids is the first game to allow high scorers to enter three character initials to be stored in the machine.

A list shows items. A timeline shows sequence.

Use Timetoast to make dates, milestones, and turning points easier to understand in a clear visual format. Timetoast is a timeline maker for work, school, research, and stories.