Evolucion2

NMR Evolución de los Sistemas y el Internet

  • Period: to

    Primera Generación de los Computadores

    • Se empleaban bulbos o tubos de vacio para procesar la información.
    • Programación a través de lenguaje de máquina.
    • Las memorias eran construidas por finos tubos de mercurio liquído y tambores magnéticos.
    • Programación a través de tarjetas perforadas.
    • Almacenamiento interno con marcas magnéticas sobre el tambor.
    LINK de apoyo Informacion Adicional
  • Nacimiento de Internet

    Nacimiento de Internet

    Se crea A.R.P.A. (Agencia Gubernamental De Investigación)
  • Period: to

    Segunda Generación de las Computadoras

    • El transistor reemplaza el tubo de vacío.
    • Computadores más pequeños y rápidos, con menor calor.
    • Almacenamiento por redes de núcleos magnéticos.
    • Programas de computadora mejorados.
    • COBOL disponible comercialmente.
    • Transferencia de programas escritos, entre las máquinas, con mínimo esfuerzo.
    • Escritura de programas es independiente del hardware. LINK de apoyo <a href='http://www.youtube.com/watch?v=oUi_HfWVKrA' >Info Adicional<
  • Primer Correro Electrónico

    Primer Correro Electrónico

    Se envía uno de los primeros correos electrónicos en el MIT con un computador IBM 7094
  • Conmutación de Paquetes

    Conmutación de Paquetes

    Nace la Conmutación de Paquetes (Tecnología básica para la interconexión de Computadores). Creada por Len Kleinrock
  • Period: to

    Tercera Generación de las Computadoras

    • Circuitos Integrados (Pastillas de Silicio)
    • Multiprogramación
    • Minicomputadora
    • La IBM-360 una de las primeras computadoras con circuitos integrados
    Información Complementaria
  • Se crea ARPAnet

    Se crea ARPAnet

    El Departamento de Defensa de U.S.A. crea ARPAnet, la primera red científica del mundo. (Es el embrión de Internet)
  • Period: to

    Cuarta Generación de los Computadores

    • Microprocesador
    • Microminiaturización de los circuitos electrónicos
    • Intel presenta su microprocesador de 4 bits, el 4004
    • 1977 aparecen las primeras microcomputadoras
    • Nacen fabricantes como: APPLE Computer, Radio Shack, Comodores Business Machine
    • IMB lanza el Personal COmputer (PC) con sistema operativo estandarizado, el MS-DOS Link de Apoyo Info Adicional
  • CRECIMIENTO

    CRECIMIENTO

    Se realiza la primera demostración pública de ARPAnet, y se empieza a populariar el correo electrónico.
  • Protocolo TCP/IP

    Protocolo TCP/IP

    Se crea el Protocolo TCP/IP, por Vint Cerf y Robert Kahn.
    ARPAnet se divide y las funciones militares pasan a MILnet y se añaden a ARPAnet miles de ordenadores.
  • RONAL MAURICIO AGUIRRE GONZALEZ

    RONAL MAURICIO AGUIRRE GONZALEZ

    NACIMIENTO:
    11:15 am, en Buga, Valle.
    Llega la alegría de mis padres.
  • RM - Con Mis Hermanos

    RM - Con Mis Hermanos

    Luego de superar una dificultad de salud, con casi riesgo de muerte, llegamos a la casa, como si nada hubiera pasado
  • NORMAN YURINEIL SOTO RIVAS

    NORMAN YURINEIL SOTO RIVAS

    NACIMIENTO:
    Este dia nacio el gran Norman Yurineil Soto Rivas, hijo de Norma Margarita Rivas y Alvaro Soto
  • RM - Primer contacto con Tecnología

    RM - Primer contacto con Tecnología

    Una de las primeras veces en las que tuve un teléfono en mis manos, y pude escuchar a gente del otro lado de la línea.
  • NY - MIS PRIMEROS PASOS

    NY - MIS PRIMEROS PASOS

    Este bello niño aprendio a caminar.
  • Period: to

    Quinta Generación de los Computadores

    • La etapa de la Inteligencia Artificail (Capacidad de razonar)
    • en 1982 se crea la supercomputadora con capacidad de proceso paralelo
    • Grandes Acontecimientos: CADI, CAM, CAE, CASE
    • Sistemas expertos
    • Redes neuronales
    • Teoría del caos
    • Algoritmos genéticos
    • Fibras ópticas
    • Telecomunicaciones
    Link de Apoyo
  • NSFnet

    NSFnet

    NSF (National Science Fundation) crea la NSFnet, sustituta de ARPAnet.
  • NY - BAUTIZO

    NY - BAUTIZO

    Algo grandecito pero me butizaron por fin.
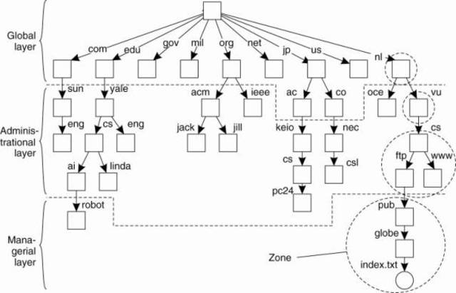
  • DNS se crea

    DNS se crea

    El número de HOSTs supera los 10.000.
    Paul Mockapetris crea el DNS (Domain Name System) sistema de nombres pára los dominios.
  • Primer virus

    Primer virus

    Internet se infecta con un virus tipo gusano que ocupa el 10% de la red. Creado por Robert Morris.
    Se crea la CERT.
    Hay 100.000 HOSTs.
  • Crecimiento de Internet

    Crecimiento de Internet

    Internet crece descomunalmente.
    Hay 50.000 redes, 4´000.000 de sistemas y 70´000.000 de usuarios.
  • NY - CALARCA

    NY - CALARCA

    Llegamos al pueblo de Calarcá en el Quindio provenientes de Buenaventura.
  • Desaparece ARPAnet

    Desaparece ARPAnet

    ARPAnet deja de existir.
  • Period: to

    Precursores de la Computación

    Recuento Cronológico de los hechos de más destacados de la historia de la humanidad, que nos llevaron a lo que hoy en día conocemos como informática y computación PRECURSORES DE LA COMPUTACION Y LA INFORMATICA
  • RM - Segundo Contacto

    RM - Segundo Contacto

    Cuando cumplía los 14 años, en 7° grado, tuve mi primer contacto con las computadoras, era una monocromática del colegio. Recuerdo un jueguito que se llamaba Acolade.
  • Creación de la WWW

    Creación de la WWW

    Tim Berners Lee crea la (World Wide Web) desde la CERN utilizando el lenguaje de hipertexto.
  • JORGE EDUARDO REYES GUERRERO

    JORGE EDUARDO REYES GUERRERO

    Nacimiento:
    7 de marzo, a las 2:30 pm. A los 3 meses es bautizado.
  • Nace MOSAIC

    Nace MOSAIC

    Marc Andreessen produce la primera versión de MOSAIC que luego se convertiria en NETSCAPE ( un navegador).
    Se crea INTERNIC primer centro administrativo para internet.
  • JR7

    JR7

    Creciendo sano:
    Ya camina y juega con el balón todo el dia junto a mi madre. Se como las velas de un pastel de cumpleaños.
  • RM - Grado del Colegio

    RM - Grado del Colegio

    Grado del Colegio.
    Celebración familiar y encunetro con uno de mis primeros amores.
  • Se crean  AMAZON

    Se crean AMAZON

    Jezz Bezos crea AMAZON, tineda online de libros.
  • Se crea YAHOO

    Se crea YAHOO

    Jerry Yang y David Filo crean YAHOO.
  • JR7

    JR7

    Primeras palabras:
    Mi primer palabra fue gol, seguida de mamá y papá.
  • RM - Mayoría de edad

    RM - Mayoría de edad

    Con la mayoría de edad, empezó una nueva vida. Trabajo, estudio, amigos y conocer al mundo tal y como es.
  • Nacen los BLOGs

    Nacen los BLOGs

    Justin Hall crea uno de los primeros blogs en el mundo.
  • JR7

    JR7

    Aprendí a pintar con colores. Viví con mi abuelo Nahun Guerrero en el Cauca antes de entrar a la guardería.
  • RM - Uno de mis Hobbies

    RM - Uno de mis Hobbies

    Una de las tantas veces que tuve la suerte de vestir un uniforme de fútbol, y disfrutar de mis grandes pasiones.
  • Nace EBAY

    Nace EBAY

    Se funda en California el primer sitio de subastas por internet, llamado EBAY.
  • JR7

    JR7

    Viviamos en Ciudad Jardín. El hecho que me marcó fue que casi me ahogo en la piscina de la casa y de no ser por niña llamada Mayerling no estuviese contando esta historia-
    Luego de eso, con mi padre salimos a pasear en la bicicleta y nos accidentados a mi padre se le partió el tabique y a mí se me raspó el lado izquierdo de la cara.
  • JR7

    JR7

    Entro a la escuela. El primer día de escuela a mi madre le tocó quedarse conmigo en el colegio porque me quedaba llorando.
  • NY - El colegio

    NY - El colegio

    El colegio donde pase quizas los mejores años de mi vida.
  • NY - Mi grado

    NY - Mi grado

    Recibo mi carton de bachiller.
  • Nacimiento de GOOGLE

    Nacimiento de GOOGLE

    Larry Page y Sergi Brin crean el buscador GOOGLE.
  • JR7

    JR7

    Nacimiento de Erica Reyes:
    Llego la reina de la casa y a mi personalmente me llegó la personita con quien compartir mis alegrías. Tambien mi primer grado.
  • Se crea NAPSTER

    Se crea NAPSTER

    Shawn Fanning crea NAPSTER
  • NY - Terremoto

    NY - Terremoto

    El terremoto de Armenia nos trajo muchas dificultades ya que mi mamá lo perdio todo en calacá.
  • JR7

    JR7

    Mi segundo grado:
    Institución Educativa Juan Pablo II Conocí a la profesora mas bonita del mundo y mi primer amor (platónico)
  • JR7

    JR7

    Tercer grado: La situación económica no era muy buena y llegamos a vivir a Nápoles, tuve mi primera bicicletas y me gustaba ir en ella a la biblioteca.
  • Se crea BITTORRENT

    Se crea BITTORRENT

    Bram Cohen crea la pagina de intercambio de archivos llamada BITTORRENT.
  • Creacion de WIKIPEDIA

    Creacion de WIKIPEDIA

    Jimmy Wales y Larry Sanger crean el mas famoso diccionario de la red, llamandolo WIKIPEDIA.
  • NY - Viaje de mamá

    NY - Viaje de mamá

    Este dia pario mi mamá con rumbo a la madre patria donde estaria 11 años.
  • JR7

    JR7

    Cuarto grado: Campeón, en este año las cosas de fútbol ya eran para mi, MI VIDA. Gané el primer campeonato del colegio.
  • FRIENDSTER

    FRIENDSTER

    Jonathan Abrams crea la primera red social del mundo virtual, bautizándola FRIENDSTER.
  • JR7

    JR7

    Quinto grado: Cambio de jornada.
    Me cambian el horario de clase para la tarde fue muy maluco cambio.
  • RM - La Música

    RM - La Música

    Mi graduación como Disck Jockey.
    El evento que marcó el inicio de la práctica en profesional de otra de mis pasiones.
  • JR7

    JR7

    Sexto grado: Cambió de casa, en este año por fin después de pagar arriendo ya tenemos casa propia en la loma.
  • Nace FACEBOOK

    Nace FACEBOOK

    Mark Zuckerberg funda la red social FACEBOOK.
  • ECLOSION

    ECLOSION

    GOOGLE crea ORKUT, una red social popularizada en Brasil y la India.
  • Lanzamiento de YOUTUBE

    Lanzamiento de YOUTUBE

    Chad Hirley, Steve Chen y Jawed Karim fundan en California la principal pagina de videos por internet, llamándose YOUTUBE
  • JR7

    JR7

    Séptimo grado: Aprendí hacer pan con mis compañeros de curso lo hicimos para vender en el salón fue muy chistoso también tuve mi primer novia vanessa fernandes la niña más bonita del curso, mona de ojos verdes y una piel blanca como un copo de nieve y los labios rojos como una manzana.
  • MEGAUPLOAD

    MEGAUPLOAD

    Con sede en Hong Kong nace una pagina de transferencia de archivos bajo el nombre de MEGAUPLOAD.
  • NY - VALENTINA

    NY - VALENTINA

    Nace mi primera hija VALENTINA SOTO
  • JR7

    JR7

    Octavo grado: Susto en la casa. Un día de lluvia se levantó el techo de la casa y se nos mojó todo, el tv y la grabadora se dañaron.
  • JR7

    JR7

    Noveno grado: Salgo del colegio.
    en este año por un suceso traumático me salgo de estudiar.
  • TWITTER

    TWITTER

    Jack Dorsey crea la primera página de microblogging, con el nombre de TWITTER.
  • Millones de usuarios en Internet

    Millones de usuarios en Internet

    La red mundial llega a 1.100 millones de usuarios.
    Para noviembre YOUTUBE es adquirido por GOOGLE por una cifra cercana a 1.650 millones de dolares.
  • KINDLE

    KINDLE

    AMAZON lanza al mercado el lector de ebooks llamado KINDLE.
  • JR7

    JR7

    Año el que trabajo con mi padre. Ya que no estaba estudiando me fui a trabajar con mi papá y aprendí a instalar drywall.
  • IPHONE

    IPHONE

    En junio aparece el IPHONE, primer dispositivo multimedia con conexion a internet.
  • NY - Pilar

    NY - Pilar

    La primera cita con la que hoy es mi esposa y compañera en las buenas y en las malas.
  • Primer millón en EBAY

    Primer millón en EBAY

    Jack Sheng es el primero en ganar us $1´000.000 en EBAY.
    Se llega a un estimado de 63.000 millones de páginas web.
  • JR7

    JR7

    Décimo grado: Fue una mezcla de sentimientos, feliz porque vuelvo al colegio pero mal por la muerte de mi abuelo.
  • NY - Matrimonio

    NY - Matrimonio

    Me case con Pilar Camacho una gran mujer que amo mucho.
  • JR7

    JR7

    Grado 11: Lo hice en el Colegio General José María Córdoba, y lo mejor lo termine con mi madre, fue acelerado.
  • RM - La boda de mi mejor amigo

    RM - La boda de mi mejor amigo

    La despedida de soltero de mi mejor amigo, terminó en una celebración que incluyó... a la novia.
    Noche espectacular.
  • Incremento de usuarios

    Incremento de usuarios

    En este año el número de usuarios de internet incrementó a 1.966 millones.
  • NY - Ashley Mishell

    NY - Ashley Mishell

    Nace mi segundo angelito
  • JR7

    JR7

    Mi primer computador: Inicié una carrera de Técnico en Sistemas y mi padre me compró un pc portátil, también me presenté al ejército y me aplazaron.
  • RM - Mi gran amor

    RM - Mi gran amor

    Después de 13 años, nos reencontramos con mi madre, que vivía en el exterior.
    Familia feliz
  • Explosión de FACEBOOK

    Explosión de FACEBOOK

    La mayor red social de internet llega a los 600 millones de usuarios.
    En junio se inician las pruebas para cambiar a protocolo IPv-6.
  • RM - Punto de Quiebre

    RM - Punto de Quiebre

    Mi cirugía bariátrica, la que cambió mi vida para siempre.
  • RM - Llega Francesca

    RM - Llega Francesca

    Llegó a mi vida, Paquita, una perrita de 15 años de edad, con el alma mas hermosa que haya visto en un animalito.
    Cambió mi vida.
  • RM - Resultados

    RM - Resultados

    Los primeros resultados de la cirugía.
  • RM - Reencuentro

    RM - Reencuentro

    Luego de 18 años, después del grado del colegio, volver a ver a los compañeros de colegio fue genial
  • RM - Llegó mi otro amor

    RM - Llegó mi otro amor

    La primera cita con Maria Elssy, quien dos años y medio después, aún es mi novia y cómplice de tantas y tantas.
  • JR7

    JR7

    Trámites de la libreta militar: 22 de agosto me lleva el ejército a Bogota pero me hacen pruebas y no era apto y me devuelven a casa.
  • NY - Casa nueva

    NY - Casa nueva

    Nos hacen entrega a Pilar y a mi de nuestra casa propia un sueño hecho realidad.
  • JR7

    JR7

    Campeón de torneo comunal. Y pensando estudiar electricidad en el SENA.
  • NY - Llega mamá

    NY - Llega mamá

    Por fin llega mi mamá de España despues de tantotiempo sin verla.
  • RM - Mi primer escalón

    RM - Mi primer escalón

    Uno de los pasos definitivos en mi proyecto de vida, fue recibir el reconocimiento como uno de los mejores del SENA.
    Motivación en estado puro
  • RM - Los más reciente

    RM - Los más reciente

    Cumpleaños numero 37:
    Con mi novia, familia y amigos.
    Epoca especialmente linda de mi vida.
  • RM - Playa, brisa y .... Mar

    RM - Playa, brisa y .... Mar

    Una especie de luna de miel, en Cartagena.
    Una semana de amor, confort y renovación.
  • JR7

    JR7

    Iniciando mi proyecto de vida: El SENA me brinda la oportunidad de formarme como profesional y como persona.
  • RM - Una alianza histórica

    RM - Una alianza histórica

    El día que mi madre y mi novia se conocieron por primera vez. Segundo viaje de mi madre a Colombia, y un encuentro lleno de mucha espectativa. Por suerte, todo salió bien.
  • RM - Mi primer ahijado

    RM - Mi primer ahijado

    Nacimiento del hijo de mi mejor amigo, aquel que se casó en 2009.
    Bienvenido Juan Sebastián.