Woodsgr

Granville Tailer Woods

  • Born

    Born

    Born in Columbus, Ohio
  • Drop Out

    Drop Out

    He dropped out of school at 10 to get a job in a machine shop to help his family.
  • Woods electric company

    Woods electric company

    he started his own company called Woods Electric Company
  • Telegraphony

    Telegraphony

    The invention allowed a telegraph company to send voice and telegraph messages over the same line
  • Railway telegraph system

    Railway telegraph system

    He patented the Synchronous Multiplex Railway Telegraph, a system that allowed crew on moving trains to communicate with each other and stations. It helped prevent collisions.
  • Galvanic Battery

    Galvanic Battery

    Patented the Galvanic battery
  • Electric Railway supply system

    Electric Railway supply system

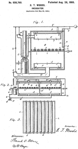
  • Incubator

    Incubator

    Patented the egg incubator
  • Automatic Air Brake

    Automatic Air Brake

  • Dead

    Dead

    Buried in New York City, New York, following a stroke

Plan projects on a visual timeline

Map milestones, phases, deadlines, and key events in one place so the sequence is easier to see and share. Timetoast is a timeline maker for work, school, research, and stories.