Timeline of electromagnetism

  • Tales de Mileto es registrado como el primero en hacer experimentos frotando ámbar
    580

    Tales de Mileto es registrado como el primero en hacer experimentos frotando ámbar

    En griego, ámbar se dice elektron y de esta palabra se deriva electricidad. Durante muchos siglos este tipo de experiencias no fueron sino meras curiosidades.
  • Period: 1000 to 1200

    Uso práctico de lo que se conoce como imán.

    Un matemático chino, Shen Kua fue el primero que escribió acerca del uso de una aguja magnética para indicar direcciones, que fue el antecedente de la brújula. Este instrumento se basa en el principio de que si se suspende un imán en forma de aguja, de tal manera que pueda girar libremente, uno de sus extremos siempre apuntará hacia el norte. Más tarde, después del año 1100, Chu Yu informó que la brújula se utilizaba también para la navegación entre Cantón y Sumatra.
  • William Gilbert publicó D megnete, que trataba sobre el conocimiento que se tenía sobre los fenómenos magnéticos.

    William Gilbert publicó D megnete, que trataba sobre el conocimiento que se tenía sobre los fenómenos magnéticos.

    Analizó las diferentes posiciones de la brújula y propuso que la Tierra es un enorme imán, lo que constituyó su gran contribución. De esta forma pudo explicar la atracción que ejerce el polo norte sobre el extremo de una aguja imantada. Asimismo, Gilbert se dio cuenta de que cada imán tiene dos polos, el norte (N) y el sur (S), que se dirigen hacia los respectivos polos terrestres. Descubrió que polos iguales se repelen, mientras que polos distintos se atraen.
  • Otto von Guericke construye el primero generador de electricidad.

    Otto von Guericke construye el primero generador de electricidad.

    ste aparato producía cargas eléctricas por medio de fricción. Sobre un armazón de madera Von Guericke montó una esfera de azufre sobre un eje. Mientras con una mano hacía girar la esfera, con la otra la presionaba. Así obtenía cargas eléctricas sobre la esfera, que atraían diversos objetos cercanos. El funcionamiento de esta máquina estaba basado en el experimento arriba descrito en que se frotaba una sustancia con otra.
  • Existencia de máquinas que producían cargas eléctricas por medio de fricción

    Existencia de máquinas que producían cargas eléctricas por medio de fricción

    Funcionaban esencialmente a base de discos que se hacían girar por medio de manivelas. Al girar friccionaban con otra superficie y se cargaban, de la misma forma en que un trozo de vidrio se carga al frotarlo con un paño. Estas máquinas producían cantidades respetables de carga y al acercarlas a otras superficies se producían chispas. Era frecuente encontrar estas máquinas en salones de juegos, hacían que los cabellos de las señoras se pusieran de punta al ser atraídos por las cargas generadas.
  • Period: to

    Descubrimiento de la electrificación de un alambre metálico con un vidrio previamente frotado con un trozo de corcho

    Dos científicos ingleses, Stephen Gray y Jean Desaguliers dieron a conocer los resultados de una serie de experimentos eléctricos muy cuidadosos. Este fenómeno persistía aun si el vidrio y el corcho se separaban a distancias de 300 metros. Si en lugar de efectuar la unión con un alambre metálico empleaban un hilo de seda, el corcho no se electrificaba. Además descubrieron que si la línea de transmisión hacía contacto con el suelo, o sea con la tierra, el corcho dejaba de electrificarse.
  • Francois du Fay descubre que dos objetos cargados de igual manera, se repelen.

    Francois du Fay descubre que dos objetos cargados de igual manera, se repelen.

    Frotó con tela de seda dos tubos de vidrio iguales. Al acercar los tubos vio que siempre se repelían. Así concluyó que dos materiales idénticos se repelan cuando se electrifican en formas idénticas. Como cada uno de los tubos adquiere el mismo tipo de carga se puede afirmar que cargas iguales se repelen.
  • Franklin por medio de experimentos deduce que existe carga positiva y negativa.

    Franklin por medio de experimentos deduce que existe carga positiva y negativa.

    Según él, el vidrio electrificado había adquirido un exceso de fluido (carga) eléctrico, y le llamó a este estado positivo. Al estado de la seda con la que frotó el vidrio lo llamó negativo, pues consideraba que había tenido una deficiencia de fluido (carga) eléctrico. Esta terminología de Franklin es la que se utiliza hasta hoy en día, aunque no se acepten las ideas con que la concibió este científico.
  • Franklin descubre que los rayos contienen cargas eléctricas

    Franklin descubre que los rayos contienen cargas eléctricas

    Franklin logró juntar cargas eléctricas de la atmósfera por medio de varillas muy picudas. A la larga, esto dio lugar a la invención del pararrayos, que consistía en una varilla metálica picuda conectada a la tierra; las cargas eléctricas del rayo eran atraídas a la varilla y conducidas a la tierra. Con esto se evitaba que un rayo cayera sobre una casa, pues era conducido a tierra sin causar ningún daño. Ésta fue la primera aplicación práctica de la investigación científica de la electricidad.
  • Galvani utilizó una rana para determinar lo que creía que era la "electricidad animal"

    Galvani utilizó una rana para determinar lo que creía que era la "electricidad animal"

    La conexión la realizó de la siguiente manera: en un extremo de la pata conectó un alambre de cobre, mientras que en el otro extremo conectó uno de hierro. Así llegó a la conclusión de que si se formaba un circuito cerrado entre dos metales que pasara por la pata, se generaba una corriente eléctrica que circulaba por el circuito. Con el tiempo se comprobó que sus hipótesis no eran correctas.
  • Alejandro Volta retoma el experimento de Galvani y demostró algo más...

    Alejandro Volta retoma el experimento de Galvani y demostró algo más...

    Volta se dio cuenta de que para lograr el efecto descubierto por Galvani se necesitaba cobre, hierro y el líquido del tejido muscular. Hizo una serie de experimentos muy cuidadosos, utilizando alambres diferentes; así descubrió que si usaba estaño y cobre lograba una corriente relativamente fuerte, mientras que si usaba hierro y plata el efecto era poco intenso. Siguiendo esta línea de pensamiento dejó de usar ranas y puso su propia lengua entre los metales, logrando el mismo efecto.
  • Charles Auguste Coulomb pudo medir con bastante precisión las características de las fuerzas entre partículas eléctricamente cargadas.

    Charles Auguste Coulomb pudo medir con bastante precisión las características de las fuerzas entre partículas eléctricamente cargadas.

    Para ello usó un péndulo de torsión, consiste en una barra AB que está sujeta por un alambre vertical. Cuando un extremo experimenta una fuerza, la barra gira y el alambre se tuerce. Midiendo el ángulo que gira el alambre se determina la magnitud de la fuerza que experimentó el extremo.Él colocó en el extremo A una carga y acercó otra carga C. Cambió los valores de carga y dejó la distancia entre AC, encontró que mientras más grande es cada cargas, mayor es la magnitud de la fuerza entre ellas.
  • Coloumb midió con su balanza las fuerzas entre los polos de dos imanes.

    Coloumb midió con su balanza las fuerzas entre los polos de dos imanes.

    Descubrió que la magnitud de esta fuerza varía con la distancia entre los polos. Mientras mayor sea la distancia, menor es la fuerza: si la distancia aumenta al doble, la fuerza disminuye a la cuarta parte; si la distancia aumenta al triple, la fuerza disminuye a la novena parte y así sucesivamente, ¡igual que en el caso de las cargas eléctricas que él mismo había descubierto!
  • william Nicholson y Anthony Carlisle descubren el fenómeno de la electrólisis.

    william Nicholson y Anthony Carlisle descubren el fenómeno de la electrólisis.

    Para ello construyeron en Londres una pila voltaica, con el fin de conseguir una mejor conexión eléctrica, conectaron cada una de las terminales de la pila a un recipiente con agua. Se dieron cuenta de que en una de las terminales aparecía hidrógeno y en la otra, oxígeno. Fue así como descubrieron el fenómeno de la electrólisis, en el que, por medio de una corriente eléctrica, se separan los átomos que componen la molécula del agua.
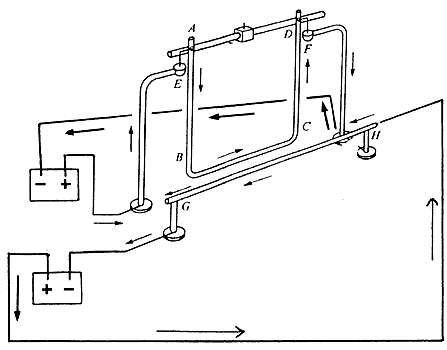
  • André-Marie Ampère hizo un experimento para demostrar la relación de la electricidad con el magnetismo.

    André-Marie Ampère hizo un experimento para demostrar la relación de la electricidad con el magnetismo.

    Arreglé dos partes rectas de dos alambres conductores que están unidos en sus extremos con dos pilas voltaicas, en direcciones paralelas. Un alambre estaba fijo y el otro suspendido sobre puntos, de manera que pudiera moverse hacia el alambre fijo o separarse de él, pero siempre paralelo a él. Vi entonces que cuando hacía pasar una corriente de electricidad en ambos alambres simultáneamente, se atraían cuando las corrientes tenían el mismo sentido y se repelían cuando tenían sentidos opuestos.
  • Hans Christian Oersted realiza un experimento y se da cuenta de la relación entre electricidad y magnetismo.

    Hans Christian Oersted realiza un experimento y se da cuenta de la relación entre electricidad y magnetismo.

    Colocó un alambre por el que circulaba corriente eléctrica encima de una brújula y vio que la aguja se desviaba hacia el oeste.
    En seguida colocó este alambre debajo de y vio que la aguja también se desviaba, pero , hacia el este. Concluyó que para que la aguja imantada de la brújula se pudiera mover tuvo que experimentar una fuerza magnética, y que era por corriente eléctrica. Esta fue la primera vez que alguien mencionó la idea de que el efecto magnético debe estar disperso en todo el espacio
  • William Sturgeon realizó un experimento, el primer electroimán

    William Sturgeon realizó un experimento, el primer electroimán

    Él enrolló 18 espiras de alambre conductor alrededor de una barra de hierro dulce, que dobló para que tuviera la forma de una herradura (Figura). Al conectar los extremos del cable a una batería el hierro se magnetizó y pudo levantar un peso que era 20 veces mayor que el propio. Este fue el primer electroimán, es decir, un imán accionado por electricidad.
  • Ampere publicó un libro sobre la electricidad y el magnetismo y los fenómenos que manifestaban.

    Ampere publicó un libro sobre la electricidad y el magnetismo y los fenómenos que manifestaban.

    Teoría de fenómenos electrodinámicos deducidos del experimento en donde presenta, de manera muy elaborada, los resultados de sus investigaciones.
  • Creación del telégrafo

    Creación del telégrafo

    Fue Joseph Henry quienconstruyó el primer telégrafo. Sin embargo, el estadounidense Samuel Morse le dio impulso, fue quien inventó un código que lleva su nombre. Este código consiste en una combinación de puntos y rayas, en donde la duración del punto es una unidad y la de la raya es de tres unidades. Cada letra o número es una combinación predeterminada de puntos y rayas. La transmisión de una unidad significa que durante ese tiempo el manipulador está conectado, cerrando el circuito eléctrico.
  • Period: to

    Se añaden diferentes dispositivos al motor y al generados para meterlos al mercado

    Sin embargo, el uso de estos aparatos en forma masiva no se dio sino hasta la década de 1880. El motivo principal no fue técnico sino económico. La posibilidad de utilizar el motor eléctrico dependía de que se contara con una amplia red de abastecimiento de energía eléctrica, la cual solamente se pudo construir cuando se creó una necesidad más fuerte que la pura demanda industrial. Esta necesidad surgió con la evolución de los servicios domésticos, en particular el de la iluminación eléctrica
  • Faraday obtuvo indicios dela relación de la electricidad creada a partir del magnetismo

    Faraday obtuvo indicios dela relación de la electricidad creada a partir del magnetismo

    Faraday pudo hacer su descubrimiento porque tenía a su disposición dos elementos fundamentales: la batería o pila voltaica, inventada por Volta no muchos años antes, y el galvanómetro, inventado por Ampère hacía poco tiempo. Sin estos aparatos no hubiera podido hacer ningún descubrimiento. En segundo lugar, Faraday pudo plantearse la pregunta acerca del efecto del magnetismo sobre la electricidad después de que entendió los descubrimientos tanto de Oersted como de Ampère.
  • Hippolyte construyó el primer generador de electricidad.

    Hippolyte construyó el primer generador de electricidad.

    En efecto, se puede observar que la aguja del galvanómetro se empieza a mover. De esta manera se produce electricidad que se puede, por así decirlo, recoger de los extremos del alambre de la bobina, por ejemplo, conectándolos a un foco. Con este aparato la energía mecánica que se desarrolla al girar la bobina por medio de la manivela se ha convertido en energía eléctrica que tiene la corriente que se induce. Este aparato se llama generador (o dinamo) de electricidad.
  • Davenport construyó el primer motor eléctrico para uso industrial.

    Ampère sentó las bases para la invención del primer motor eléctrico. Su funcionamiento es el siguiente. Supóngase que se enrolla una bobina alrededor de un cilindro de hierro y que ésta se fija en un eje LL, alrededor del cual puede girar. De esta manera es posible transformar la energía eléctrica que la batería entrega al hacer circular la corriente por la bobina, en energía mecánica para mover algún objeto. Al dispositivo que funciona de esta forma se le llama motor eléctrico.
  • Faraday propuso la idea de que la  línea de fuerza tenía realidad física.

    Faraday propuso la idea de que la línea de fuerza tenía realidad física.

    Con ello demostró tener una gran intuición física para entender los fenómenos electromagnéticos. Hay que mencionar que debido a que no tenía preparación matemática adecuada, por no haber asistido a una escuela de enseñanza superior, Faraday no pudo desarrollar la teoría matemática del campo electromagnético, hecho que tuvo que esperar hasta Maxwell. Sin embargo, tuvo el genio extraordinario para describir esta idea de manera gráfica.
  • Alva Edison construye una lámpara incandescente

    Alva Edison construye una lámpara incandescente

    En la que un filamento de carbón emitía luz al hacerle pasar una corriente eléctrica por más de 40 horas. El famoso inventor colocó su filamento dentro de un bulbo de vidrio que estaba al vacío en su interior. Edison logró fabricar este tipo de focos de una manera muy eficiente y con este invento se abrió un campo extraordinario de aplicación que creó la necesidad de construir generadores eficientes de electricidad.
  • Edison inventa la estación eléctrica.

    Edison inventa la estación eléctrica.

    O sea, una planta en la que se generaba electricidad y de allí se distribuía. Esto ocurrió en la ciudad de Nueva York. De su estación, que contenía un generador de corriente continua, salió una red de líneas que distribuyeron la electricidad en muchas partes de la ciudad, tal como en ese entonces ya se hacía con el gas y el agua. Al ofrecer el servicio de la luz eléctrica al público, Edison dejó atrás a todos sus competidores.
  • el Congreso Internacional de Electricistas decide nombrar la diferencia de potencial "Volt"en honor a Volta.

    el Congreso Internacional de Electricistas decide nombrar la diferencia de potencial "Volt"en honor a Volta.

    La posibilidad práctica de construir pilas voltaicas produjo una revolución en el estudio de la electricidad. Hemos de mencionar que en muchos laboratorios era muy poco factible construir las máquinas de electricidad por fricción, ya que eran bastante caras; sin embargo, las pilas eran relativamente baratas. Permitieron el avance de la ciencia química ya que estaban al alcance de muchos laboratorios; de otra manera no se hubieran podido realizar muchas investigaciones científicas.
  • Lucien H. Gaulard y John D. Gibbs obtienen otra patente

    Lucien H. Gaulard y John D. Gibbs obtienen otra patente

    Para un dispositivo que ellos llamaron generador secundario. De esta manera incorporaron a un sistema de iluminación la corriente alterna. El sistema que ellos patentaron fue una versión poco práctica de lo que hoy en día llamamos un transformador.
  • Nikola Tesla obtiene patente por un generador polifásico alterno.

    Nikola Tesla obtiene patente por un generador polifásico alterno.

    Que producía gran potencia eléctrica; muy pronto este tipo de máquina fue la más usada. Hoy en día se emplean generadores que son versiones muy mejoradas del generador polifásico de Tesla. Los primeros generadores fueron diseñados para que produjeran corrientes que tenían diferentes valores de sus frecuencias: los de 25, 33.5, 40, 50, 60, 90, 130, 420 Hz fueron los más usados. Con el tiempo se ha convenido en utilizar 60 Hz.

Plan projects on a visual timeline

Map milestones, phases, deadlines, and key events in one place so the sequence is easier to see and share. Timetoast is a timeline maker for work, school, research, and stories.