Línea del tiempo de la automatización Mendez Marquez Esteban 5-D MAI

  • Autómatas
    300 BCE

    Autómatas

    Los botes a vela sustituyeron a los botes de remos. Todavía después, algunas formas de automatización fueron controlados por mecanismos de relojería o dispositivos similares utilizando algunas formas de fuentes de poder artificiales algún resorte, un flujo canalizado de agua o vapor para producir acciones simples y repetitivas
  • Las primeras máquinas
    200 BCE

    Las primeras máquinas

    Las primeras máquinas simples que sustituían una forma de esfuerzo en otra forma que fueran manejadas por el ser humano, tal como levantar un peso pesado con sistema de poleas o con una palanca. Posteriormente las máquinas fueron capaces de sustituir formas naturales de energía renovable, tales como el viento, mareas, o un flujo de agua por energía humana.
  • Muñecos mecánicos

    Muñecos mecánicos

    En 1744 Europa se construyeron muñecos mecánicos muy ingeniosos que tenían características de robots. En el mismo año Jacques de Vauncansos construyó varios músicos de tamaño humano. Se trataba de robots mecánicos diseñados para un propósito en específico: la diversión.
  • Tarjeta perforada

    Tarjeta perforada

    Las tarjetas perforadas fueron usadas por primera vez alrededor de 1745 por Basile Bouchon y Jean-Baptiste Falcon como una forma más robusta de los rollos de papel perforados usados en ese entonces para controlar telares textiles en Francia.
  • Máquina de vapor

    Máquina de vapor

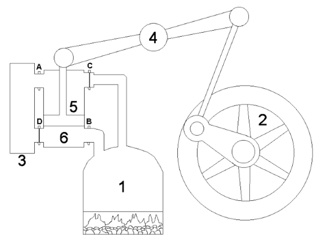
    En 1768 James Watt construyo el primer modelo de la máquina de vapor. Surgió como uno de los principales inventos de la revolución industrial, ya que esta permitía levantar locomotoras, bombas y muchos aparatos. También ayudo a expandir el comercio de una manera más rápida, pues trabajaba con menos cantidad de personas y en menor tiempo.
  • Telar automático

    Telar automático

    La patente de un telar automático utilizando tarjetas perforadas fue dada a Joseph Marie Jacquard, quien revolucionó la industria del textil.
  • Maquinas

    Maquinas

    Se hicieron avances muy importantes como el diseño de las máquinas de corte especiales en metal para minimizar tiempos, después el Sir.Joseph Whitworth enfatiza la necesidad de piezas intercambiables
  • Máquina de control

    Máquina de control

    La primera máquina de control numérico computarizado fue desarrollada y probada en el Instituto Tecnológico de Massachussets
  • Ensamblaje

    Ensamblaje

    Se han contribuido varios avances muy importantes que han sido de gran ayuda, por ejemplo Henry Ford mecanizó el ensamblaje de automóviles
  • Programables

    Programables

    Hacia la fecha se han contribuido muchos avances como se muestran a continuación: Los armarios de distribución de conexiones se sustituyen por redes de control que comunican los autómatas programables entre sí y con los dispositivos de campo.
  • Autómatas programables

    Autómatas programables

    Nacieron los primeros autómatas programables(APIs o PLCs) por la consultora Bedford Associates, denominado al primer PLC como MODICON 084, uno de los que contribuyeron fue Richard E. Morley quien es considerado en la actualidad el padre del PLC.
  • Robótica

    Robótica

    La parte más visible de la automatización actual puede ser la robótica industrial.

A list shows items. A timeline shows sequence.

Use Timetoast to make dates, milestones, and turning points easier to understand in a clear visual format. Timetoast is a timeline maker for work, school, research, and stories.