Historia de la TC

  • William Morton

    William Morton

    William Morton, obtuvo por primera vez una imagen del esqueleto completo usando RX
  • Dr. Karol Mayer

    Dr. Karol Mayer

    La Dr. Karol, realizo las primeras imagenes usando un tubo de rayos x en movimiento.
  • J. Radón

    J. Radón

    Radón describe de forma matemática la reconstrucción de un objeto a partir de sus proyecciones.
  • Escáner de cabeza

    Escáner de cabeza

    James Ambrose y Louis Kreel realizaron el primer prototipo de escáner de cabeza.
  • Imagen del cráneo.

    En EUAA se instala el primer equipo de tomografía computarizada especializado en imágenes craneales.
  • Primera Generación.

    Primera Generación.

    Sir Godfrey Newbold Hounsfield publicó un artículo en la Revista British Journal of Radiology, donde describía una técnica basada en rayos X, llamada tomografía computarizada.
    Hounsfield creo una escala la cual lleva su mismo nombre que es para medir la radiosidad de los tejidos en un voxel o pixel. Se producían rayos paralelos gracias a un movimiento de traslación a largo del objeto, y este proceso se repetía con pequeños incrementos rotacionales hasta barrer 180 grados
  • Segunda Generación.

    Segunda Generación.

    El tiempo de exploración se redujo a 20 segundos. El numero de detectores aumento de 30 a 100. Aumenta la cobertura del haz. Los equipos de segunda generación funcionaban bajo un principio de traslación-rotación ademas, podían realizar el proceso un poco más rápido, gracias al uso de un mayor número de detectores, y una fuente que emitía rayos en forma de abanico , además, aprovechaban mejor la potencia de los rayos X emitidos
  • Period: to

    Empresas distribuidoras.

    GE y Philips comienzan a comercializar.
  • Tercera Generación.

    Tercera Generación.

    Se elimino el movimiento de traslación para mayor velocidad. El tubo de rayos X y el detector rotan simultáneamente, cubriendo el paciente con un haz de rayos X en forma de abanico. Los primeros prototipos de tercera generación contaban con arreglos (unidimensionales) de hasta 250 detectores y permitían tiempos de adquisición de sólo 5 segundos
  • Escáner haz de abanico

    Escáner haz de abanico

    Se desarrolló el primer escáner de haz de abanico. Giraba 360° en una dirección, tomaba imagen, y 360° en otra dirección, y tomaba otra imagen. Se detenía entre cada imagen.
  • Cuarta Generación.

    Cuarta Generación.

    Los tomógrafos de esta generación consistían en un arreglo estacionario de detectores en forma de anillo, que rodeaban completamente al paciente, de modo que la rotación se limita al tubo de rayos X. Cada detector podía medir rayos que se encontraran a cualquier distancia del centro de rotación y podía ser calibrado dinámicamente. Se detenía entre cada imagen. Cambiaba las direcciones mientras la mesa del paciente avanzaba.
  • Premio Nobel

    Godfrey N. Hounsfield y Allan Cormack ganaron el premio Nobel en fisiología y medicina por crear la TC
  • Proyección de intensidad máxima

    Proyección de intensidad máxima

    a) Estructuras oseas se ven como lineas blancas.
    b) Se proyecta cada vóxel con el mayor valor de atenuación en cada vista.
    c) Visuliazacion de estructuras densas como vasos contrastados.
  • Principio de Hounsfield

    Principio de Hounsfield

    Es el coeficiente de atenuación lineal que es la atenuación que sufre un haz de rayos X, al atravesar una determinada longitud de una sustancia. Este coeficiente es diferente de cada sustancia. Lo que permite la diferenciación de tejidos en el estudio.
  • Quinta Generación

    Quinta Generación

    Se introdujo la tomografía por rayo de electrones EBCT (del inglés Electron Beam CT). El EBCT utiliza una arquitectura estacionaria (sin rotación), donde un rayo de electrones hace un barrido a lo largo de cuatro placas semicirculares que rodean al paciente. Alata resolucion temporal(33 ms a 100 ms). Tenían una alta resolución temporal adquiriendo hasta 60 cortes por segundo.
  • Period: to

    Pocas Innovaciones.

    Durante casi todos lo ochentas no se creo alguna innovación importante en el área de tomografía computarizada.
  • Proyección de intensidad máxima de rotación

    1.- Es una reconstrucción de MIP enfocada en una dirección.
    2.- Crea una serie de imágenes MIP rotando la vista de la reconstrucción MIP.
    3.-Resulta en un conjunto de imágenes que si se unen, da la impresión de rotación.
  • Sexta Generación.

    Sexta Generación.

    Kalender y sus colaboradores inventaron la tomografía en espiral. La cual utiliza la arquitectura de tercera generación pero que tiene movimiento continuo de la camilla a través del gantry. El gantry es la parte del tomógrafo en continua rotación que contiene el tubo de rayos X y los detectores del tomógrafo,
    Permite tomar imágenes de órganos y regiones anatómicas continuamente en un periodo corto de tiempo.
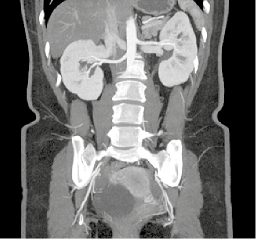
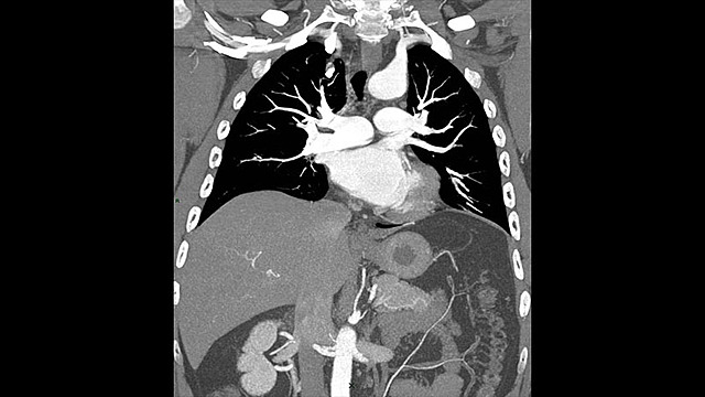
  • TC en tórax

    TC en tórax

    Se utiliza para detectar:
    1)Hemorragia intratorácica.
    2)Enfermedades del corazón.
    3) Émbolos pulmonares.
  • Números obtenidos de la TC.

    Números obtenidos de la TC.

    Cuando se reconstruye la imagen al procesar los datos con la computadora obtenemos los números CT que se relacionan con el coeficiente de atenuación.
    Para hacer la imagen un tono de gris se le asigna a cada numero CT . Si se selecciona un pequeño grupo de números CT se pueden diferenciar mejor las estructuras que se quieren estudiar ya que se genera un buen contrate entre cada numero CT.
  • Radiación Recibida.

    Radiación Recibida.

    Existen diferentes formas de medir la radiación recibida:
    1)CTDI: es la medida de dosis que depositada en un corte axial.
    2)CTDI vol: En la cual se debe tomar en cuenta el tamaño del cuerpo que se esta escaneando.
    3)DLP: Se relaciona con el indice de dosis CTDI vol y representa la longitud de la salida de radiación a lo largo del eje z.
  • Period: to

    Escáner espiral de múltiples rebanadas.

    Es la combinación del haz en forma de cono y movimiento deslizante. Realiza muchas imágenes en un periodo corto de tiempo.
  • Windowing

    Windowing

    Es la técnica que modifica los niveles de gris de la imagen para ver diferentes tejidos
  • Norma Mexicana

    Norma Mexicana

    Crean la "Norma Oficial Mexicana Salud ambiental"(NOM-158-SSA1-1996). la cual menciona las especificaciones técnicas para equipos de diagnóstico médico con rayos “X”
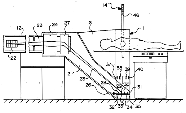
  • Componentes del tomógrafo.

    Componentes del tomógrafo.

    Proyector interno.
    Generador de alta tensión (0-75 keV).
    Anillos colectores.
    Unidad de Potencia.
    Controlador de temperatura del detector.
    Tubo de Rayos X.
    Unidad de control de rotación.
    Motor de pórtico de transmisión directa.
    Filtro de ruido de línea.
    Sistema de adquisición de datos(DAS).
    Filtros, colimador y detector de referencia.
    Intercambiador de calor de tubo de rayos X.
    Generador de temperatura del detector.
  • Uso de bario.

    Uso de bario.

    El bario comenzó a ser usado como medio de contraste.
  • Norma europea.

    Norma europea.

    Surge la norma IEC 60601-2-44 Ed. 2.1 en: Equipo Médico Eléctrico. Menciona los requerimientos particulares para la seguridad de los equipos de tomografía computarizada por rayos x.
  • Uso de yodo

    Uso de yodo

    Se empieza a administrar Yodo por via intravenosa en humanos para ayudar a resaltar vasos sanguineos, para mejorar la estructura tisular de de varios organos como cerebro, higado y riñones.
  • AQUILION ONE

    AQUILION ONE

    Se introduce el escáner dinámico volumétrico de TC de una amplitud de 160 mm y un detector de 320 filas (comúnmente tienen 64 filas).
  • Proyecciones de Imagen.

    Proyecciones de Imagen.

    Una imagen rápida de TC requiere de 30 a 60 proyecciones.
    Una imagen de alta resolución requiere de al menos 200 proyecciones.