Edad moderna

  • Máquinas

    Máquinas

    Siglo XV
  • Bombilla eléctrica

    Bombilla eléctrica

  • Armas de fuego

    Armas de fuego

    siglo xv
  • telescopio

    telescopio

    Siglo xvi
  • Alto horno

    Alto horno

    siglo xvii
  • Máquina de vapor

    Máquina de vapor

  • Pila de volta

    Pila de volta

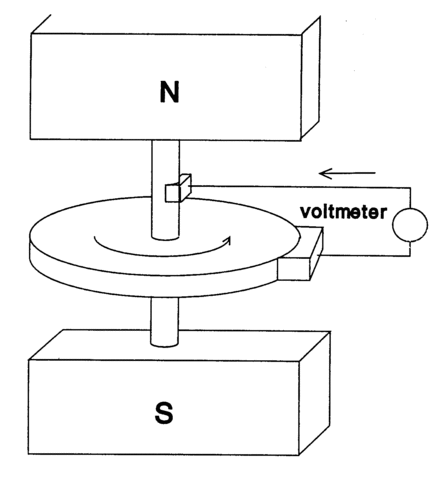
  • Motores electricos

    Motores electricos

  • Locomotora de vapor

    Locomotora de vapor

  • Fotografia

    Fotografia

  • Dinamo

    Dinamo

  • telégrafo

    telégrafo

  • Neumático

    Neumático

  • Dinamita

    Dinamita

    Alfred Noble
  • Primer plastico

    Primer plastico

  • telefono

    telefono

    Meucci y bell

Looking for a timeline maker?

Create timelines for projects, roadmaps, history, lessons, legal cases, and stories with Timetoast. Timetoast is a timeline maker for work, school, research, and stories.