Criptografía

By CCeja
  • Jeroglíficos no estándares
    4500 BCE

    Jeroglíficos no estándares

    Uno de los primeros textos que se considera de criptografía. Sin embargo, se piensa que no fueron intentos serios de comunicación secreta, sino un pasatiempo para los egipcios.
  • 650 BCE

    Cifrados por sustitución

    Eruditos hebreos, primeros en hacer uso de sencillos cifrados por sustitución
  • Cifrados por transposición
    500 BCE

    Cifrados por transposición

    Uno de los primeros instrumentos hechos fue la escitala
  • Cifrado César
    76 BCE

    Cifrado César

    Emperador romano Julio César inventó e instauró el cifrado César como parte de comunicación militar secreta. Otras variantes de ROT se inventarían en esta época
  • Análisis de frecuencias
    866

    Análisis de frecuencias

    Criptógrafo Abu Yusuf Yaqub ibn Ishaq al-Sabbah Al-Kindi inventó la técnica de análisis de frecuencias para romper los cifrados por sustitución monoalfabética
  • Cifrado polialfabético
    1465

    Cifrado polialfabético

    Inventado por Leon Battista en 1465, es el primer cifrado que no quedó vulnerable a la técnica inventada por Al-Kindi
  • Cifrado Vigenére
    1553

    Cifrado Vigenére

    Uno de los cifrados inspirados de César, fue mencionado por primera vez por Giovan Battista Bellasso, incorrectamente atribuido más tarde a Blaise de Vigenére
  • Nov 17, 1558

    Era oscura de la criptografía

    Durante la época medieval, pocos fueron los avances en la criptografía. Los "cifrados avanzados" de la época no eran más avanzados que los de Alberti, y sus creadores tenían un entendimiento pobre de la criptoanalítica. Estos cifrados, al ser rotos, provocaron la muerte de agentes y mensajeros traidores durante el reinado de Isabel I de Inglaterra
  • Criptoanálisis de los cifrados polialfabéticos

    Criptoanálisis de los cifrados polialfabéticos

    Charles Babbage, logró romper la cifra auto llave de Vigenére y el cifrado de Vigenére con sus avances en cifrados polialfabéticos
  • Métodos sistemáticos para resolverr cifrados

    Métodos sistemáticos para resolverr cifrados

    Edgar Allan Poe, intrigado por la criptografía, realizó ensayos y colocó anuncios sobre los métodos criptográficos que resultaron útiles para descifrar códigos alemanes durante la Primera Guerra Mundial. Entre ellos están las cifras de 4 cuadros, doble cuadros, ADFGX y ADGCVX
  • Primer uso de matemáticas en la criptografía

    Primer uso de matemáticas en la criptografía

    Previo a la Segunda Guerra Mundial, proliferaron métodos matemáticos para realizar cifrados. William F. Friedman utilizó técnicas estadísticas en el desarrollo de estos métodos
  • Enigma

    Enigma

    El matemático Marian Rejewski, de la Oficina de Cifrado polaca, reconstruyó en diciembre de 1932 la máquina Enigma del ejército alemán, utilizando la matemática y la limitada documentación proporcionada por el capitán Gustave Bertrand, de la inteligencia militar francesa. Este fue el mayor avance del criptoanálisis en más de mil años.
  • Typex y SIGABA

    Typex y SIGABA

    Máquinas de cifrado aliadas usadas durante la Segunda Guerra Mundial, estas fueron producto de hacer ingenieria inversa a Enigma. Personas importantes, como Gordon Welchman y Alan Turing, fueron colaboradores en la mejora de la tecnología
  • El padre de la criptografía matemática

    El padre de la criptografía matemática

    Claude Shannon publicó el artículo Communication Theory of Secrecy Systems en la Bell System Technical Journal, y poco después el libro Mathematical Theory of Communication, con Warren Weaver. Estos trabajos, junto con los otros que publicó sobre la teoría de la información y la comunicación, establecieron una sólida base teórica para la criptografía y el criptoanálisis moderno hasta ahora.
  • Criptosecretismo

    NSA acaparó y bloqueó cualquier avance sobre criptografía, con el motivo de usarlo para espionaje y contraespionaje, desde la década de los 50s hasta los 70s
  • Data Encryption Standard

    Data Encryption Standard

    Se publica el borrador del Data Encryption Standard en el Registro Federal estadounidense el 17 de marzo de 1975. La propuesta fue enviada por IBM, en un esfuerzo por desarrollar sistemas de comunicación electrónica segura para las empresas como los bancos y otras organizaciones financieras grandes.
  • Clave pública

    En 1976 se hizo público el artículo New Directions in Cryptography, de Whitfield Diffie y Martin Hellman. Introdujo un método radicalmente nuevo para distribuir las claves criptográficas, dando un gran paso adelante para resolver uno de los problemas fundamentales de la criptografía: la distribución de claves
  • Cifrado fuerte para uso público

    Cifrado fuerte para uso público

    Phil Zimmermann, con la publicación de PGP, provocó una batalla con el Departamento de Justicia por la supuesta violación de no crear puertas traseras en su cifrado. Finalmente, se abandonaron los cargos contra Zimmermann y PGP se distribuyó libre y mundial
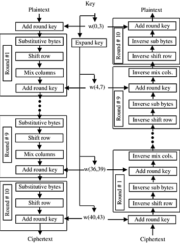
  • Advanced Encrypton Standard

    Advanced Encrypton Standard

    DES fue suplantado oficialmente por el Advanced Encryption Standard (AES) en 2001, cuando el NIST anunció el FIPS 197. Tras una competición abierta, el NIST seleccionó el algoritmo Rijndael, enviado por dos criptógrafos belgas, para convertirse en el AES.
  • Criptoanálisis moderno

    Aunque los cifrados modernos como el AES están considerados irrompibles, todavía siguen adoptándose malos diseños, y en las décadas recientes ha habido varias roturas criptoanalíticas notables. Ejemplos famosos de diseños criptográficos que se han roto incluyen al DES, el primer esquema de cifrado Wi-Fi, WEP, el sistema Content Scramble System utilizado para cifrar y controlar el uso de los DVD, y los cifrados A5/1 y A5/2 utilizados en los teléfonos móviles GSM.

Plan projects on a visual timeline

Map milestones, phases, deadlines, and key events in one place so the sequence is easier to see and share. Timetoast is a timeline maker for work, school, research, and stories.