Descarga

ASCENSOR HIDRAULICO

  • ASCENSOR HIDRAULICO

    ASCENSOR HIDRAULICO

    El ascensor hidraulico sive para desplazarnos ademas su funcion es subir y bajar
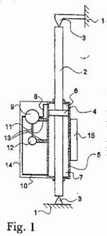
  • Sus partes

    Sus partes

    esta con muchas estructuras q lo conforman
  • capacidad

    capacidad

    la bomba es la q le da el empuje en este caso como es casero no tiene mucha resistencia
  • Su estructura

    Su estructura

    tienen una forma rectangular no muy ancha
  • componentes

    componentes

    tiene muchos pero las mas esenciales serian las valvulas entre otros
  • Componentes fundamentales

    Componentes fundamentales

    Piston, bomba, valvulas, presion
  • Cabinas

    Cabinas

    Su cabina se hace depende el tamaño q tenga el largo y el ancho del ascensor
  • Funcionamiento

    Funcionamiento

    la bomba tiene q dar una gran presion a las valvulas para q asi comienze a funcionar adecuadamente

Plan projects on a visual timeline

Map milestones, phases, deadlines, and key events in one place so the sequence is easier to see and share. Timetoast is a timeline maker for work, school, research, and stories.