Fotolia 17580904 xs

Revolución Tecnológica: Del ábaco a la pc

  • Period: to

    Revolución Tecnologica

  • La Pascalina

    La Pascalina

    Primer calculadora que funcionaba a base de ruedas y engranajes. Creada por Blaise Pascal.
  • Máquina diferencial

    Máquina diferencial

    Calculadora mecánica de propósito especial, diseñada para calcular funciones polinómicas.
  • Telégrafo y el código Morse

    Telégrafo y el código Morse

    El telégrafo es un dispositivo que utiliza señales eléctricas para la transmisión de mensajes de texto codificados, como con el código Morse, mediante líneas alámbricas o radiales.
  • Télefono

    Télefono

    Es un dispositivo de telecomunicación diseñado para transmitir señales acústicas a distancia por medio de señales eléctricas. Patentado por Graham Bell
  • Primera transmisión radial

    Primera transmisión radial

    Realizada por Nikola Tesla. Fue un inventor, ingeniero mecánico, ingeniero eléctrico y físico de origen Serbio.
  • Trasmisión televisiva en Inglaterra

    Trasmisión televisiva en Inglaterra

    En 1926, Logie Baird,logra, por medio de un cable telefónico, transmitir una señal de televisión entre Glasgow y Londres fundando, en ese mismo año, la Baird Television Development Company, Ltd, con la idea de comercializar el invento.
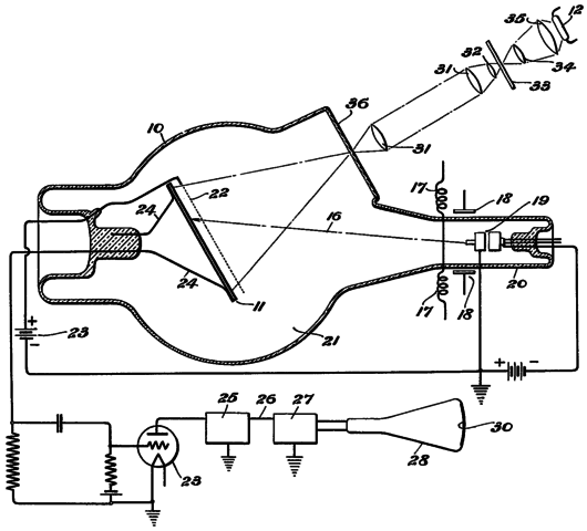
  • Iconoscopia

    Iconoscopia

    Iconoscopio fue un antecesor de las cámaras de televisión,2 en la cual un rayo de electrones de alta velocidad explora un mosaico fotoemisor.
  • Codigo Binario

    Codigo Binario

Looking for a timeline maker?

Create timelines for projects, roadmaps, history, lessons, legal cases, and stories with Timetoast. Timetoast is a timeline maker for work, school, research, and stories.