linea del tiempo

  • Period: to

    Webs

    Cuando estudiaba en la universidad la informática se hacía en ordenadores personales. Sólo había PCs. Eran sorprendentes aunque muchas veces sólo se usaran para escribir. A medida que nos encaminamos hacia Internet, las redes y las tiendas virtuales la gente empezó a utilizar otras tecnologías. Móviles, smartphones, tablets y netbooks. Y los ordenadores empezaron a ser menos necesarios. De hecho, esta transformación conduce a algo que ya está en marcha. La era post-PC. El problema es que no sab
  • Fyle seistems

    Fyle seistems

    Los sistemas de archivos o ficheros (en inglés:filesystem), estructuran la información guardada en una unidad de almacenamiento (normalmente un disco duro de una computadora), que luego será representada ya sea textual o gráficamente utilizando un gestor de archivos. La mayoría de los sistemas operativos manejan su propio sistema de archivos.1 Lo habitual es utilizar dispositivos de almacenamiento de datos que permiten el acceso a los datos como una cadena de bloques de un mismo tamaño, a veces
  • USENET

    USENET

    enet es uno de los sistemas más antiguos de comunicaciones entre redes de computadoras, aún en uso. Permite a un usuario intercambiar opiniones y experiencias…con otras personas interesadas en el mismo tema específico que él. Comenzó a funcionar en 1980, originalmente concebida como un “ARPANET para pobres” empleando UUCP para ofrecer mail y transferencia de archivos, así como noticias sobre el nuevo software desarrollado. El sistema, desarrollado por la Universidad de Carolina del Norte en Chap
  • Email

    Email

    El correo electrónico también conocido como e-mail, es un recurso tecnológico que nos permite comunicarnos desde cualquier parte del mundo a través de Internet. Como todos sabemos, nos encontramos en una era denominada la era de la información, debido a que con la llegada del Internet y nuevas tecnologías la acción de comunicarnos ya no es tan complicado como lo era antes, ahora contamos con más medios de comunicación masiva que aunados con la tecnología podemos estar informados del acontecer m
  • PC"S

    PC"S

    una computadora tamién conocida como PC (sigla en inglés de personal computer), es una microcomputadora diseñada en principio para ser usada por una sola persona a la vez. (En el habla habitual, las siglas PC se refieren más específicamente a la computadora compatible IBM PC.) Una computadora personal es generalmente de tamaño medio y es usado por un solo usuario (aunque hay sistemas operativos que permiten varios usuarios simultáneamente, lo que es conocido como
  • Fyle serves

    Fyle serves

    Consiste en una suite de componentes modulares integrables en un equipo servidor, que tiene por finalidad conformar la infraestructura básica necesaria para toda la empresa moderna con negocios desde y/o hacia Internet. Dada la estabilidad, robustez y performance de la arquitectura de la solución propuesta, resulta el medio más propicio y rentable para incorporar de forma modular un conjunto de funcionalidades que brindan un alto porcentaje de cobertura a las necesidades más comunes de las PyME
  • Windows

    Windows

    Microsoft Windows es el nombre de una serie de sistemas operativos desarrollados por Microsoft desde 1981, año en que el proyecto se denominaba «Interface Manager».
    Anunciado en 1983, Microsoft comercializó por primera vez el entorno operativo denominado Windows en noviembre de 1985 como complemento para MS-DOS, en respuesta al creciente interés del mercado en una interfaz gráfica de usuario (GUI).1 Microsoft Windows llegó a dominar el mercado de ordenadores personales del mundo, superando a Mac
  • MAcos

    MAcos

    Mac OS (del inglés Macintosh Operating System, en español Sistema Operativo de Macintosh) es el nombre del sistema operativo creado por Apple para su línea de computadoras Macintosh. Es conocido por haber sido el primer sistema dirigido al gran público en contar con una interfaz gráfica compuesta por la interacción del mouse con ventanas, Icono y menús.
    Apple quitó importancia de forma deliberada a la existencia del sistema operativo en los primeros años de su línea Macintosh procurando que la m
  • FTP

    FTP

    <a href='' >http://es.wikipedia.org/wiki/FTP</a>FTP (sigla en inglés de File Transfer Protocol - Protocolo de Transferencia de Archivos) en informática, es un protocolo de red para la transferencia de archivos entre sistemas conectados a una red TCP (Transmission Control Protocol), basado en la arquitectura cliente-servidor. Desde un equipo cliente se puede conectar a un servidor para descargar archivos desde él o para enviarle archivos, independientemente del sistema operativo utilizado en cada equipo.
  • IRC

    IRC

    es un protocolo de comunicación en tiempo real basado en texto, que permite debates entre dos o más personas. Se diferencia de la mensajería instantánea en que los usuarios no deben acceder a establecer la comunicación de antemano, de tal forma que todos los usuarios que se encuentran en un canal pueden comunicarse entre sí, aunque no hayan tenido ningún contacto anterior. Las conversaciones se desarrollan en los llamados canales de IRC, designados por nombres que habitualmente comienzan con el
  • BBS

    BBS

    Un Bulletin Board System o BBS (Sistema de Tablón de Anuncios) es un software para redes de computadoras que permite a los usuarios conectarse al sistema (a través de internet o a través de una línea telefónica) y utilizando un programa terminal (o telnet si es a través de internet), realizar funciones tales como descargar software y datos, leer noticias, intercambiar mensajes con otros usuarios, disfrutar de juegos en línea, leer los boletines, etc.
  • SQL

    SQL

    El lenguaje de consulta estructurado o SQL (por sus siglas en inglés structured query language) es un lenguaje declarativo de acceso a bases de datos relacionales que permite especificar diversos tipos de operaciones en éstas. Una de sus características es el manejo del álgebra y el cálculo relacional permitiendo efectuar consultas con el fin de recuperar -de una forma sencilla- información de interés de una base de datos, así como también hacer cambios sobre ella.
  • Lightweight

    Lightweight

    LDAP son las siglas de Lightweight Directory Access Protocol (en español Protocolo Ligero de Acceso a Directorios) que hacen referencia a un protocolo a nivel de aplicación el cual permite el acceso a un servicio de directorio ordenado y distribuido para buscar diversa información en un entorno de red. LDAP también es considerado una base de datos (aunque su sistema de almacenamiento puede ser diferente) a la que pueden realizarse consultas.
    Un directorio es un conjunto de objetos con atributos
  • http

    http

    El término http quiere decir "Hypertext Transfer Protocol", en español "Protocolo de Transferencia de Hipertexto". Para los que no tienen experiencia en términos computacionales, esto puede parecer complicado, pero en realidad no lo es si examinamos este asunto por partes. Un protocolo es un conjunto de reglas a seguir, o lenguaje en común, y en este caso es conjunto de reglas a seguir son para publicar páginas web o HTML. El hipertexto se refiere a texto común con algunos atributos propios de l
  • Period: to

    Web 1.0

    La 'Web 1.0 (1991-2003) es la forma más básica que existe, con navegadores de sólo texto bastante rápidos. Después surgió el HTML que hizo las páginas web más agradables a la vista, así como los primeros navegadores visuales tales como IE, Netscape,explorer (en versiones antiguas), etc.
    La Web 1.0 es de sólo lectura. El usuario no puede interactuar con el contenido de la página (nada de comentarios, respuestas, citas, etc), estando totalmente limitado a lo que el Webmaster sube a ésta.
    Web 1.0 s
  • Database

    Database

    La Internet Movie Database (IMDb, en castellano ‘Base de datos de películas en Internet’) es una base de datos en línea de información relacionada con películas, directores, productores, actores, programas de televisión, videojuegos, actores de doblaje y más recientemente, personajes ficticios que aparecen en los medios. La IMDb fue inaugurada el 17 de octubre de 1990, y en 1998 fue adquirida por Amazon.com.
  • HTML

    HTML

    TML, siglas de HyperText Markup Language (Lenguaje de Marcado de Hipertexto), es el lenguaje de marcado predominante para la elaboración de páginas web. Es usado para describir la estructura y el contenido en forma de texto, así como para complementar el texto con objetos tales como imágenes. HTML se escribe en forma de «etiquetas», rodeadas por corchetes angulares (<,>). HTML también puede describir, hasta un cierto punto, la apariencia de un documento, y puede incluir un script (por ejemplo Ja
  • Gopher

    Gopher

    Gopher es un servicio de Internet consistente en el acceso a la información a través de menús. La información se organiza de forma arborescente: sólo los nodos contienen menús de acceso a otros menús o a hojas, mientras que las hojas contienen simplemente información textual. En cierto modo es un predecesor de la Web, aunque sólo se permiten enlaces desde nodos-menús hasta otros nodos-menús o a hojas, y las hojas no tienen ningún tipo de hiperenlaces.
  • groupware

    groupware

    En su función más básica, las organizaciones establecen equipos tanto para responder a problemas que hayan ocurrido como para prevenir que en primer lugar ocurran. Katzenbach and Smith (1993) exponen cuatro actividades generales que realizan los equipos: recomendar, hacer, inventar o poner en movimiento. El término groupware hace referencia a los métodos y herramientas de software que facilitan el trabajo en grupo, mejorando su rendimiento, y contribuyen a que personas que están localizadas en
  • SaaS

    SaaS

    Software como Servicio (del inglés: Software as a Service, SaaS) es un modelo de distribución de software donde el software y los datos que maneja se alojan en servidores de la compañía de tecnologías de información y comunicación (TIC) y se accede con un navegador web a través de internet. La empresa TIC provee el servicio de mantenimiento, operación diaria, y soporte del software usado por el cliente. Regularmente el software puede ser consultado en cualquier computador, esté presente en la em
  • Javascript

    Javascript

    JavaScript es un lenguaje de programación interpretado, dialecto del estándar ECMAScript. Se define como orientado a objetos,3 basado en prototipos, imperativo, débilmente tipado y dinámico.
    Se utiliza principalmente en su forma del lado del cliente (client-side), implementado como parte de un navegador web permitiendo mejoras en la interfaz de usuario y páginas web dinámicas, aunque existe una forma de JavaScript del lado del servidor (Server-side JavaScript o SSJS). Su uso en aplicaciones exte
  • Java

    Java

    Java es un lenguaje de programación y la primera plataforma informática creada por Sun Microsystems en 1995. Es la tecnología subyacente que permite el uso de programas punteros, como herramientas, juegos y aplicaciones de negocios. Java se ejecuta en más de 850 millones de ordenadores personales de todo el mundo y en miles de millones de dispositivos, como dispositivos móviles y aparatos de televisión.
  • SOAP

    SOAP

    Los desarrolladores de aplicaciones hoy en día, pueden utilizar la infraestructura de correo electrónico de Internet para transmitir mensajes SOAP ya sean como mensajes de correo electrónico de texto o como adjuntos. Los ejemplos que se muestran a continuación muestran un modo de transmitir mensajes SOAP, y deben ser tomados como el modo estándar de hacerlo. Las especificaciones SOAP Versión 1.2 no especifican tal vínculo. Sin embargo, existe una Nota W3C no-normativa [SOAP Email Binding] que de
  • SGML

    SGML

    SGML son las siglas de Standard Generalized Markup Language o "Estándar de Lenguaje de Marcado Generalizado". Consiste en un sistema para la organización y etiquetado de documentos. La Organización Internacional de Estándares (ISO) normalizó este lenguaje ISO 8879:1986, Information processing — Text and office systems — Standard Generalized Markup Language (SGML).
    El lenguaje SGML sirve para especificar las reglas de etiquetado de documentos y no impone en sí ningún conjunto de etiquetas en espe
  • Period: to

    Webs 2.0

    El término Web 2.0 (2004–actualidad) está comúnmente asociado con aplicaciones web que facilitan el compartir información, la interoperabilidad, el diseño centrado en el usuario y la colaboración en la World Wide Web. Ejemplos de la Web 2.0 son las comunidades web, los servicios web, las aplicaciones Web, los servicios de red social, los servicios de alojamiento de videos, las wikis, blogs, mashups y folcsonomías.
    La Web 2.0 esta asociada estrechamente con Tim O'Reilly, debido a la conferencia s
  • XML

    XML

    XML es una tecnología en realidad muy sencilla que tiene a su alrededor otras tecnologías que la complementan y la hacen mucho más grande y con unas posibilidades enormes y básicas para la sociedad de la información. Vamos a ver a lo largo de varios capítulos una introducción al mundo XML, es decir, al lenguaje así como a las tecnologías que trabajan con él, sus usos, ventajas y modos de llevar a cabo las tareas.
  • OWL

    OWL

    OWL es el acrónimo del inglés Ontology Web Language, un lenguaje de marcado para publicar y compartir datos usando ontologías en la WWW. OWL tiene como objetivo facilitar un modelo de marcado construido sobre RDF y codificado en XML.
    Tiene como antecedente DAML+OIL, en los cuales se inspiraron los creadores de OWL para crear el lenguaje. Junto al entorno RDF y otros componentes, estas herramientas hacen posible el proyecto de web semántica.
  • SWRL

    SWRL

    La Web Semántica se presenta como una herramienta para poder acceder, compartir y manipular la información contenida en la Web. Esta herramienta pretende simplificar las tareas complejas de extracción de información y servicios empleando metadatos que almacenen la semántica de la información. Las tareas anteriores han sido planteadas en primera instancia desde el punto de vista de la Lógica Nítida la cual tiene ciertos problemas para asimilar conceptos relativos o imprecisos. Como solución a est
  • Weblogs

    Weblogs

    Blog, weblog, bitá… sin duda una palabra de moda, uno de esos términos que de la noche a la mañana hemos comenzado a ver repetido en todas partes. Aunque aparecieron a finales de los años 90 y podemos considerar el 2004 como su año de explosión en la internet anglosajona, no ha sido hasta los últimos meses del 2005 cuando el fenómeno ha eclosionado definitivamente en el mundo hispanohablante.
  • ATOM

    ATOM

    El nombre Atom hace referencia a dos estándares relacionados. El Formato de Redifusión Atom es un fichero en formato XML usado para Redifusión web. mientras que el Protocolo de Publicación Atom (resumido en Inglés AtomPub o APP) es un protocolo simple basado en HTTP para crear o actualizar recursos en Web. Las fuentes web permiten que los programas busquen actualizaciones del contenido publicado en un sitio Web. Para crear uno el propietario de un sitio Web puede usar software especial
  • Semantics web databases

    Semantics web databases

    La Web semántica (del inglés semantic web) es la "Web de los datos".1 Se basa en la idea de añadir metadatos semánticos y ontológicos a la World Wide Web. Esas informaciones adicionales —que describen el contenido, el significado y la relación de los datos— se deben proporcionar de manera formal, para que así sea posible evaluarlas automáticamente por máquinas de procesamiento. El objetivo es mejorar Internet ampliando la interoperabilidad entre los sistemas informáticos usando "agentes intelige
  • Widgest

    Widgest

    En informática, un widget es una pequeña aplicación o programa, usualmente presentado en archivos o ficheros pequeños que son ejecutados por un motor de widgets o Widget Engine. Entre sus objetivos están dar fácil acceso a funciones frecuentemente usadas y proveer de información visual. Sin embargo, los widgets pueden hacer todo lo que la imaginación desee e interactuar con servicios e información distribuida en Internet; pueden ser vistosos relojes en pantalla, notas, calculadoras, calendarios,
  • VR

    VR

    El auge de Internet está modificando muchos hábitos en la sociedad . La velocidad con la que surgen las nuevas tecnologías no da tiempo a procesar la enorme cantidad de información, y como resultado puede que el usuario se sienta desbordado por tanta tecnología incipiente y no sepa por cual decantarse para afrontar un proyecto determinado cuyo resultado final sea la publicación en Internet .
    Apple ha ganado su particular batalla frente a otras tecnologías de publicación multimedia con QuickTim
  • RRS

    RRS

    RSS son las siglas de Really Simple Syndication, un formato XML para sindicar o compartir contenido en la web. Se utiliza para difundir información actualizada frecuentemente a usuarios que se han suscrito a la fuente de contenidos. El formato permite distribuir contenidos sin necesidad de un navegador, utilizando un software diseñado para leer estos contenidos RSS (agregador). A pesar de eso, es posible utilizar el mismo navegador para ver los contenidos RSS.
  • Openid

    Openid

    OpenID es un estándar de identificación digital descentralizado, con el que un usuario puede identificarse en una página web a través de una URL (o un XRI en la versión actual) y puede ser verificado por cualquier servidor que soporte el protocolo. En los sitios que soporten OpenID, los usuarios no tienen que crearse una nueva cuenta de usuario para obtener acceso. En su lugar, solo necesitan disponer de un identificador creado en un servidor que verifique OpenID, llamado proveedor de identidad
  • Websites

    Websites

    Un sitio web es una colección de páginas web relacionadas y comunes a un dominio de Internet o subdominio en la World Wide Web en Internet. Una página web es un documento HTML/XHTML accesible generalmente mediante el protocolo HTTP de Internet. Todos los sitios web públicamente accesibles constituyen una gigantesca World Wide Web de información (un gigantesco entramado de recursos de alcance mundial). A las páginas de un sitio web se accede frecuentemente a través de un URL raíz común llamado
  • RDF

    RDF

    (Resource Description Framework). Es una familia es especificaciones de la W3C, originalmente diseñada como un modelo de metadatos, pero se ha vuelto un método general para el modelado de información. Permite describir metadatos en sitios web, proveyendo interoperatibilidad entre las aplicaciones que intercambian información en lenguaje máquina por la web. RDF permite detallar información como el mapa de un sitio, fechas de actualizaciones de páginas, palabras claves, derechos de autoría, etc.
  • SPARQL

    SPARQL

    s un acrónimo recursivo del inglés SPARQL Protocol and RDF Query Language. Se trata de un lenguaje estandarizado para la consulta de grafos RDF, normalizado por el RDF Data Access Working Group (DAWG) del Word Wide Web Consortium (W3C). Es una tecnología clave en el desarrollo de la Web Semántica que se constituyó como Recomendación oficial del W3C el 15 de Enero de 2008. Al igual que sucede con SQL, es necesario distiguir entre el lenguaje de consulta y el motor para el almacenamiento y recupe
  • P2P

    P2P

    Una red Peer-to-Peer o red de pares o red entre iguales o red entre pares o red punto a punto (P2P, por sus siglas en inglés) es una red de computadoras en la que todos o algunos aspectos funcionan sin clientes ni servidores fijos, sino una serie de nodos que se comportan como iguales entre sí. Es decir, actúan simultáneamente como clientes y servidores respecto a los demás nodos de la red. Las redes P2P permiten el intercambio directo de información, en cualquier formato, entre los ordenadores
  • Intelligent personal agents

    Intelligent personal agents

    Los sistemas de agentes más conocidos de Internet son, los web robots, agentes que desarrollan todo tipo de tareas en el World Wide Web. Los más populares y útiles, para el usuario común, son los agentes de búsqueda de información, o searchbots. Los motores de búsqueda alimentan sus bases de datos mediante la utilización de robots o agentes básicos, los llamados spiders, wanderers o worms, a los que delegan las tareas de localización, acceso y copia de documentos, como se ha explicado en capítul
  • FLASH

    FLASH

    Adobe® Flash® Player es una aplicación de tiempo de ejecución multiplataforma basada en el explorador que ofrece una visualización inmejorable de aplicaciones expresivas, contenido y vídeos en diferentes exploradores y sistemas operativos. Flash Player 10.3 proporciona magníficos vídeos de alta definición, un procesamiento de gráficos más rápido y un elevado rendimiento en las pantallas de dispositivos móviles y ordenadores; además, está diseñado para aprovechar las funciones nativas de los disp
  • Mashups

    Mashups

    En desarrollo web, un mashup es una página web o aplicación que usa y combina datos, presentaciones y funcionalidad procedentes de una o más fuentes para crear nuevos servicios. El término implica integración fácil y rápida, usando a menudo APIs abiertos y fuentes de datos para producir resultados enriquecidos que no fueron la razón original para la que fueron producidos los datos en crudo originales.
    Las principales características del mashup son la combinación, la visualización y la agregación
  • Period: to

    Webs 3.0

    Web 3.0 es un neologismo que se utiliza para describir la evolución del uso y la interacción en la red a través de diferentes caminos. Ello incluye, la transformación de la red en una base de datos, un movimiento hacia hacer los contenidos accesibles por múltiples aplicaciones non-browser, el empuje de las tecnologías de inteligencia artificial, la web semántica, la Web Geoespacial, o la Web 3D. Frecuentemente es utilizado por el mercado para promocionar las mejoras respecto a la Web 2.0. El tér
  • AJAX

    AJAX

    acrónimo de Asynchronous JavaScript And XML (JavaScript asíncrono y XML), es una técnica de desarrollo web para crear aplicaciones interactivas o RIA (Rich Internet Applications). Estas aplicaciones se ejecutan en el cliente, es decir, en el navegador de los usuarios mientras se mantiene la comunicación asíncrona con el servidor en segundo plano. De esta forma es posible realizar cambios sobre las páginas sin necesidad de recargarlas, lo que significa aumentar la interactividad, velocidad y

Want to make a timeline like this?

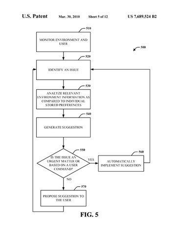
Use Timetoast to turn dates, events, milestones, and phases into a clear visual timeline you can build and share. Timetoast is a timeline maker for work, school, research, and stories.