Radio

Hitos Históricos de la Radio

  • Maxwell obtiene las ecuaciones generales de las ondas electromagnéticas

    Maxwell obtiene las ecuaciones generales de las ondas electromagnéticas

  • Hertz demuestra la existencia de las ondas electromagneticas

    Hertz demuestra la existencia de las ondas electromagneticas

    Gracias a las ecuaciones de Maxwell, Hertz consigue demostrar la existencia de las ondas electromagnéticas mediante un dispositivo experimental.
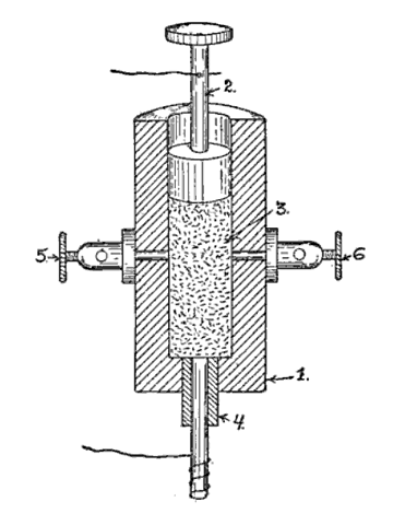
  • Branly inventa el Cohesor

    Branly inventa el Cohesor

    El médico y físico es el inventor del cohesor, el cual era un detector de señales electromagnéticas
  • Tesla construye el primer radio transmisor

    Tesla construye el primer radio transmisor

    Nicola Tesla logra transmitir energía electromagnética sin cables
  • Alexander Popov inventa la primera antena radio electríca

    Alexander Popov inventa la primera antena radio electríca

    Ademas logra construir el primer receptor de ondas electromagnéticas
  • Marconi transmite la letra 'S' en condigo morse

    Marconi transmite la letra 'S' en condigo morse

    Desde Inglaterra hasta un dispositivo aéreo en Terranova (Canada), se transmite por ondas de radio en condigo morse la letra 'S'.
  • Period: to

    Primera Guerra Mundial

    La radio fue muy importante durante este periodo ya que fue utilizada como un medio de comunicación en información con fines militares
  • Se realizan las primeras radio difusiones

    Se realizan las primeras radio difusiones

    Se transmiten con fines de entretenimiento en Pittsburgh, Estados Unidos por la estación KDKA

A list shows items. A timeline shows sequence.

Use Timetoast to make dates, milestones, and turning points easier to understand in a clear visual format. Timetoast is a timeline maker for work, school, research, and stories.