Inicio

Antecedentes Interacción Humano-Computadora| Alumna: Sinahí Ruíz Rodríguez| No.Control: 15400804| Docente: Maximino González González| Instituto Tecnológico de Tepic

  • Primer teclado

    Primer teclado

    Se conoce que en este año fue el origen del primer teclado ya que se lanzó la primera máquina de escribir de la marca Remington.
  • Primera fotocopiadora

    Primera fotocopiadora

    James Watt inventa un maquina capaz de copiar documentos. El proceso utilizaba una tinta especial que era transferida desde el original a la copia. En esta primera fotocopiadora realizaba copias como si viera la imagen en un espejo, y para leer los textos era necesario dar la vuelta al papel y observar a trasluz.
  • Tipógrafo (Máquina de escribir)

    Tipógrafo (Máquina de escribir)

    Fue la primera máquina de escribir de los Estados Unidos , inventado y fabricado por William Austin Burt . Era un dispositivo mecánico que se trabajó a mano para hacer que la letra se imprimiera en papel. Fue destruido en el incendio de la Oficina de Patentes de 1836 . El objetivo principal del dispositivo era acelerar el trabajo de secretaría, aunque finalmente no se logró.
  • Sistema de Matrices

    Sistema de Matrices

    Agustus de Morgan matemático del siglo XIX introdujo un sistema de matrices (filas y columnas) para su uso en la contabilidad financiera, sentando las bases de la estructura principal de las hojas de cálculo, la celda.
  • Origen teclado QWERTY

    Origen teclado QWERTY

  • Realidad virtual en los 30's

    Realidad virtual en los 30's

    La realidad viartual es un entorno de escenas u objetos de apariencia real.
    Stanley G. Weinbaum, autor que creo un relato breve denominado Las gafas de Pigmalión en el cual se describía un sistema de realidad virtual con grabaciones holográficas y experiencias ficticias, que incluían olor y tacto.
  • Hipertexto

    Hipertexto

    Vannebar Bush introdujo la idea de Hipertexto. Memex se trata de un dispositivo de base de datos, que nunca fue materializado por nadie, en el que se almacenarían todo tipo de documentos
  • La impresora

    La impresora

    En este año llega la impresora eléctrica para computadoras, sin embargo solo era capaz de imprimir textos.
  • Definición "Hoja de cálculo"

    Definición "Hoja de cálculo"

    Aparece por primera vez el término Hoja de Cálculo escrito en un diccionario, el diccionario de Kohler.
  • Fotocopiadora Xerox

    Fotocopiadora Xerox

    Xerox introdujo la primera fotocopiadora xerográfica a nivel comercial sacando la primera copia en 15 segundos y 7.5 segundos las siguientes. La fotocopiadora se define como uno de los inventos mas notables del siglo XX.
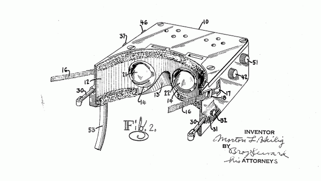
  • Mascara teleférica

    Mascara teleférica

    Morton Heilig desarrollo la "mascara teleférica". La patente describe el dispositivo como: “Un telescopio televisivo para uso individual. El espectador recibe una completa sensación de realidad, a través de imágenes en 3 dimensiones que pueden recibirse incluso a color, con un 100% de visión periférica, sonidos, aromas y brisas de aire.
  • Historia realidad aumentada

    Historia realidad aumentada

  • Creación de las hojas de calculo

    Creación de las hojas de calculo

  • Spacewar!

    Spacewar!

    Es considerado el primer juego interactivo de ordenador, desarrollado por Steve Russell junto a otros estudiantes del Instituto de Tecnología de Massachusetts (MIT) en una PDP-1 (programmed Data Processor-1) fue el primer computador de la serie PDP de la Digital Equipment.
  • Sketchpad

    Sketchpad

    Primer programa informático que permitió la manipulación directa de objetos gráficos, pionero en la interacción persona-ordenador.​ Aplicación que defendió el concepto de utilizar el ordenador como herramienta técnica y artística.
    La idea original del programa fue de su creador, Ivan Sutherland, que lo diseñó como parte de su tesis doctoral, por la cual recibió el Premio Turing de la Association for Computing Machinery.
  • The Mother of All Demos

    The Mother of All Demos

    Demostración de las tecnologías informáticas experimentales de Douglas Engelbart que ahora son comunes. La demostración en vivo contó con la introducción de un sistema llamado NLS l (National Language Services), que incluyó uno de 1​2​ los primeros ratones de ordenador, así como de las videoconferencias, teleconferencias, hipertexto, procesamiento de textos, hipermedia y archivo de vinculación dinámica, control de revisiones, y un editor en tiempo real colaborativo.
  • Casco realidad virtual

    Casco realidad virtual

    Ivan Sutherland, con la ayuda de su alumno Bob Sproull, creó lo que sería considerado el primer dispositivo de realidad virtual y aumentada, el casco de realidad virtual conocido como HMD (Head-Mounted Display). Era el primer intento por lo que fue un dispositivo bastante primitivo, en relación con la interfaz de usuario y con el realismo. Además, el HMD era demasiado pesado para que fuera usado con facilidad, y solo se veían imágenes en 3D sin movimiento (wireframe model).
  • El ratón

    El ratón

    Douglas Engelbart invento el ratón, y fue un pionero de la interacción humana con las computadoras.Las pruebas que se realizaron demostraron que era más eficiente y efectivo que otros dispositivos como el lápiz de luz y el joystick; permitía interactuar en forma sencilla y practica con las computadoras. Este protomouse era un bloque de madera tallado, con un botón y debajo tenía dos ruedas sobre ejes que tenían movian un par de potenciómetros que eran los que daban la posición del puntero.
  • Monitor CRT

    Monitor CRT

    En la década de los 70, empezaron a aparecer los primeros monitores de CRT (tubo de rayos catódicos). Seguían el estándar MDA (Monochrome Display Adapter), y eran monitores monocromáticos (de un solo color) de IBM.
  • Popularizacion del ratón

    Popularizacion del ratón

    Ratón/Mouse Se populariza el ratón como un dispositivo de entrada práctico.
  • National Film Board of Canada.

    National Film Board of Canada.

    Es el productor y distribuidor canadiense de películas y medios digitales .El film llamado"Hunger" fue dibujado utilizando una tableta en vez de un ratón.
  • Fotocopiadora a color

    Fotocopiadora a color

    Aparece la primera fotocopiadora a color, fabricada por Canon que la comienza a comercializar y estaba basada en la xerografía (o lo que ahora llamamos fotocopiadora láser a color).
  • SuperPaint

    SuperPaint

    SuperPaint fue programa de gráficos y uno de los primeros usos de la tecnología informática para obras de arte creativas, edición de video y animación por computadora, todas las cuales se convertirían en áreas importantes dentro de la industria del entretenimiento. Tiene la capacidad de capturar imágenes de entrada de video estándar o combinarlas con datos digitales preexistentes
  • Impresora láser

    Impresora láser

    Inventado por Gary Starkweather y comercializada por primera vez en 1977, el dispositivo de impresión consta de un tambor fotoconductor unido a un depósito de tóner y un haz láser que es modulado y proyectado hacia el tambor fotoconductor. Las impresoras láser son muy eficientes, permitiendo impresiones de alta calidad a notables velocidades, medidas en términos de "páginas por minuto" (ppm).
  • VisiCalc

    VisiCalc

    Fue la primera aplicación de hoja de cálculo disponible para computadoras personales. Es considerada la aplicación que convirtió el microcomputador de un hobby para entusiastas de la computación en una herramienta seria de negocios. Se vendieron más de 700.000 copias de VisiCalc en seis años.
  • Impresora margarita

    Impresora margarita

    Se crea la impresora de margarita, que únicamente podía escribir letras y números, pero tenía la calidad de una máquina de escribir.
    Esta impresora recibe su nombre debido a que el dispositivo que contiene los caracteres se asemeja a una flor de margarita. Los caracteres se encuentran en la orilla de cada uno de los "petalos", que son sacados de posición a través del martinete que lo golpea sobre la cinta entintada, para que quede plasmado en la hoja.
  • Aspen Movie Map

    Aspen Movie Map

    Creado en el MIT, el instituto tecnológico de Massachusetts. Este programa era una simulación virtual de la ciudad de Aspen, Colorado. En dicho programa, los alumnos/as podían deambular por las calles en uno de los tres modelos disponibles: verano, invierno y polígonos. Los dos primeros estaban basados en fotografías; para ello, los investigadores fotografiaron cada punto de la ciudad en ambas estaciones. El modelo de los polígonos, era un modelo básico en 3-D de la ciudad.
  • Lanzamiento VisiCalc

    Lanzamiento VisiCalc

    Bricklin decide impulsar el primer prototipo de VisiCalc , para ello crea la empresa Software Arts Corporation junto con Bob Frankston, ambos lanzaron la primera versión de VisiCalc para el ordenador personal Apple 2 por un precio de 100 dólares, en esta primera versión la hoja de cálculo electrónica está comprendida por un total de 20 filas y 4 columnas.
  • Xerix Star

    Xerix Star

    El "8010 Star Information System", una estación de trabajo más conocida como “Xerox Star” revolucionó la informática, siendo el primer sistema comercialmente disponible en contar con una interfase gráfica de usuario que utilizaba ventanas, iconos y carpetas, manejados con un ratón, en lugar de las crípticas pantallas basadas en texto. Además, poseía conexión de red Ethernet, servidor de ficheros, servidor de impresoras y correo electrónico
  • DOS(Sistema Operativo de Disco)

    DOS(Sistema Operativo de Disco)

    Sistema operativo que consiste de componentes con funciones especiales cada uno. Muchos de estos componentes se mueven, se ajustan o se eliminan. Sus componentes son predecibles y fáciles de estudiar. DOS está muy ligado con la arquitectura de la IBM-PC (microcomputadora basada en el procesador de intel 8088) y en las PCs basadas en procesador 8086, trabaja en un megabyte de memoria, utilizando la forma segmentación como parte de su manejo de memoria.
  • MultiPlan

    MultiPlan

    Fue una de las primeras hojas de cálculo desarrollada por Microsoft. En principio para ordenadores con el sistema operativo CP/M, y después adaptada a otros sistemas tales como MS-DOS. Multiplan para Macintosh, disponible el mes en que Apple lanzó la computadora, fue el primer software Macintosh y la única hoja de cálculo para Macintosh para su primer año. Era hábil para hacer gráficos y tablas. Multiplan solo duró aproximadamente un año antes de ser superado por el Excel más exitoso.
  • Lotus 1-2-3

    Lotus 1-2-3

    Se lanza al mercado Lotus 1-2-3, una hoja de cálculo electrónica compatible con los ordenadores IBM y el sistema operativo MS-Dos, su éxito desplazó del mercado a VisiCalc dado a la capacidad de generar gráficas así como la posibilidad de usar funciones predefinidas y la facilidad de su uso al disponer de un menú en la parte superior de la pantalla.
  • Microsoft Word 1

    Microsoft Word 1

    Programa informático orientado al procesamiento de textos. Fue creado por la empresa Microsoft, y viene integrado predeterminadamente en el paquete ofimático denominado Microsoft Office. Fue desarrollado por Richard Brodie para el computador de IBM bajo sistema operativo DOS. Versiones subsecuentes fueron programadas para muchas otras plataformas, incluyendo, las computadoras IBM que corrían en sistema MS-DOS .
  • Primer anuncio de Apple Macintosh

    Primer anuncio de Apple Macintosh

  • Apple Lisa

    Apple Lisa

    Su costo fue de 9,995 dólares. En ese entonces, Jobs había tenido problemas con los diseñadores de la Lisa y fue forzado a abandonar el proyecto, uniéndose a uno no oficial, llamado Macintosh. Se dice que la Mac fue descendiente de la Lisa, por varias semejanzas, pero no es así. Macintosh era un proyecto similar, llamado Lisa 2/10, pero terminó lanzándose como Macintosh XL. Usaba un procesador Motorola y 1 MByte de RAM. Tenía su interfaz gráfica y un sistema operativo multitareas.
  • Primera Macintosh

    Primera Macintosh

    Su diseño fue a finales de 1979 y no fue de mano de Steve Jobs, sino de Jef Raskin, un empleado de Apple Computer. En 1981 Steve Jobs se interesó por el Macintosh debido a su potencial comercial en comparación con el Lisa. Despues el propio Raskin dejo el proyecto convirtiéndose Steve Jobs en el impulsor.
    Macintosh presentaba un GUI, es decir, un entorno de usuario gráfico, más intuitivo y fácil de manejar, una necesidad en un mundo donde todos los ordenadores funcionaban mediante comandos.
  • Excel

    Excel

    Se lanza al mercado la primera versión Excel, la cual fue desarrollada por Microsoft para el Macintosh de Apple , en esta primer versión se dispone de menús desplegables así como la posibilidad de utilizar el ratón, la facilidad de su uso fue la razón por la que muchas personas y empresas decidieron adquirir un Macintosh para utilizar Excel como herramienta de cálculo.
  • Primer teclado IBM

    Primer teclado IBM

    El primer teclado original de IBM tenía 83 teclas (IBM PC and XT keyboards). Había 10 teclas de función en la parte izquierda delteclado, y unas teclas numéricas y un cursor en la parte derecha.
  • Windows 2.0

    Windows 2.0

    Windows 2.0 fue un sistema operativo desarrollado por Microsoft con una interfaz gráfica de usuario de 16 bits, que fue lanzado el 9 de diciembre de 1987 y es el sucesor de Microsoft Windows 1.0.
  • Scanner a color

    Scanner a color

    Aparece el primer scanner a color de 24 bit y una resolución de 300dpi.
  • Apple Newton

    Apple Newton

    Apple newton reconocimiento de gestos.
    Es un dispositivo del tipo PDA (asistente digital personal) con un sistema operativo llamado "Newton OS". El MessagePad fue uno de los primeros PDA con capacidad de reconocimiento de escritura, siendo la sucesora de esta 1ª generación la plataforma iOS, utilizada en el iPhone, iPod Touch y iPad.
  • Word 6.0

    Word 6.0

    Características:
    -Autocorrector
    -Un tipo de letra específico
    -Seleccionar texto es más rápido y preciso
    -Si se posa el cursor sobre texto y se oprime el botón derecho del ratón, brota sobre el documento un menú con las opciones fuentes , párrafo , numeración y viñetas ; si se oprime sobre texto definido, a ello se suman las opciones cortar , copiar y pegar .
  • Windows 95

    Windows 95

    Microsoft lanzó su primer gran rediseño de su sistema operativo, Windows 95. Excel también tuvo cambios importantes y una reconstrucción de marca. La nueva versión se llamó Excel 95, como todos los programas de la plataforma Office.
  • Amazon y Yahoo

    Amazon y Yahoo

    -Amazon(comercio en línea)
    Es una compañía estadounidense de comercio electrónico y servicios de computación en la nube a todos los niveles.
    Está totalmente diversificada en diferentes líneas de productos, ofreciendo DVD, CD de música, software, videojuegos, electrónica, ropa, muebles, libros, etc.
    -Yahoo(buscador en línea)
    Es una empresa global de medios que posee un portal de Internet, un directorio web y una serie de servicios tales como el popular correo electrónico Yahoo!.
  • Windows Office 97

    Windows Office 97

    Es una suite ofimática desarrollada por Microsoft para Windows. Esta fue la última versión soportada para Windows NT 3.51.
  • Buscador de Google

    Buscador de Google

    Es un motor de búsqueda en la web propiedad de Alphabet Inc., es el motor de búsqueda más utilizado en la Web,​ recibe cientos de millones de consultas cada día a través de sus diferentes servicios. El objetivo principal del buscador de Google es buscar texto en las páginas web, en lugar de otro tipo de datos, fue desarrollado originalmente por Larry Page y Sergey Brin.
  • Fundación de Google

    Fundación de Google

    Se especializa en los productos y servicios relacionados con Internet, software, dispositivos electrónicos y otras tecnologías. El principal producto de Google es el motor de búsqueda de contenido en Internet del mismo nombre aunque ofrece también otros productos y servicios como el correo electrónico llamado Gmail, sus servicios de mapas Google Maps, Google Street View y Google Earth, el sitio web de vídeos YouTube y otras utilidades web como Google Libros o Google Noticias, Google Chrome.
  • Lanzamiento Windows XP

    Lanzamiento Windows XP

    Su nombre en clave durante la fase de desarrollo fue Whistler, mientras que su denominación oficial proviene del término inglés eXPerience.Cuenta con adaptaciones para diversos entornos, como computadoras domésticas, equipos portátiles y mini-portátiles.Otra novedad de Windows XP es la inclusión del sistema Windows Genuine Advantage, que se encarga de verificar si la copia es original o falsificada. Cuando el programa no pasa el proceso de validación, el usuario se encuentra con una advertencia.
  • Ubuntu

    Ubuntu

    Es una distribución del sistema operativo GNU/Linux y que se distribuye como software libre, la cual durante un tiempo incluyó su propio entorno de escritorio denominado Unity. Está orientado al usuario promedio, con un fuerte enfoque en la facilidad de uso y en mejorar la experiencia del usuario. Está compuesto de múltiple software normalmente distribuido bajo una licencia libre o de código abierto.
  • Leica HDS3000

    Leica HDS3000

    Leica HDS3000, laser scanner El primer láser escáner 3D "adecuado para el topógrafo", es el abanderado de la familia de productos Leica HDS, realliza la captura de datos de alta densidad en campo más eficiente y fácil para un amplio rango de proyectos de ingeniería y topografía.
  • OrbiTouch Keyless Keyboard

    OrbiTouch Keyless Keyboard

    El orbiTouch no tiene teclado, en su reemplazo tiene dos "domos" los que se pueden deslizar en ocho posiciones.
    En el domo de la izquierda cada posición está representada por un color, mientras que en el de la derecha cada posición contiene un set de letras, números y símbolos cada una pintada de un color diferente. La idea es activar el color de la letra con el domo izquierdo y luego activar el set donde está tu letra con el domo derecho.
  • Excel 2007

    Excel 2007

    Excel presentó cambios importantes tanto en la interfaz y la más importante, la sustitución del tradicional menú desplegable por una serie de cintas y pestañas así como en su funcionalidad. Fue lanzado en conjunto con el sistema operativo Windows Vista e incluía muchos de los elementos visuales de éste.
  • Android

    Android

    Es un sistema operativo basado en el núcleo Linux. Fue diseñado principalmente para dispositivos móviles con pantalla táctil, como teléfonos inteligentes, tabletas y también para relojes inteligentes, televisores y automóviles.
  • Air Mouse

    Air Mouse

    Es una especie de guante se coloca en la mano y que hace las funcion de ratón, diseñado para evitar las lesiones que se producen con el uso prolongado de estos dispositivos. La idea era no buscar el diseño perfecto, sino que la propia mano actuase como ratón. Y lo consigue gracias a que incluye varios sensores, un láser óptico que detecta el movimiento y nos permite mover el cursor y dos más pequeños colocados en el índice y el corazón, que son los que nos permiten hacer clic.
  • Ubuntu en diversos dispositivos

    Ubuntu en diversos dispositivos

    Integración de Ubuntu en varios otros dispositivos, tales como tabletas, televisores, teléfonos y computadores tradicionales.
  • Pantalla flexible de grafeno

    Pantalla flexible de grafeno

    Las características del grafeno permitirían gracias a su utilización para la fabricación de pantallas flexibles, el desarrollo de los dispositivos móviles hacia la flexibilidad. No estaríamos hablando sólo de terminales flexibles, sino también de dispositivos móviles plegables como los que hemos visto alguna vez en forma de prototipo. Además, la resistencia de las pantallas flexibles fabricadas con grafeno, según explican, sería mayor con respecto a lo que ya conocemos.
  • Primera impresora 3D espacial europea

    Primera impresora 3D espacial europea

    La POP3D es una pequeña impresora 3D que requiere la participación de muy poca energía y equipo para operar. La unidad es un cubo con 25 centímetros de lado e imprime en plástico biodegradable e inofensivo utilizando un proceso basado en el calor y no afecta el medio ambiente
  • Situación actual y perspectiva

    Situación actual y perspectiva

    Los mas recientes avances tecnológicos comienzan a partir de aquí
  • IOS 9

    IOS 9

    Las nuevas características y novedades de este S.O son: Mejoras en Notas, News, Salud y Apple Music, así como una nueva función denominada Night Shift que cambia los colores de la pantalla a una gama más cálida cuando se hace de noche para ayudar a conciliar el sueño. Además incluye más de 100 nuevos emojis (entre los que destaca un burrito, un taco y una cara de nerd); también da solución a errores y bugs del sistema e incluye mayor estabilidad y soporte.
  • Oculus RV

    Oculus RV

    Es un casco de realidad virtual que está siendo desarrollado por Oculus VR. Durante su periodo como compañía independiente, Oculus VR ha invertido 91 millones de dólares para el desarrollo de Oculus Rift. La versión para el consumidor se lanzó al mercado con un precio de 599$ en EEUU y con un precio de 699€ en Europa.
  • Autos autónomos

    Autos autónomos

    Muchas compañías lanzaron en este año varios modelos de autos autónomos e incluso Uber comenzó a probar este tipo de automóviles en Pittsburgh, en Estados Unidos.
    Esta idea representa un gran desafío para los creadores de este tipo de tecnología, debido a que los camiones de carga y de pasajeros suelen ser conducidos por conductores que han sido capacitados y que tienen experiencia.
  • Casco HTC VIVE SteamVR.

    Casco HTC VIVE SteamVR.

    HTC mandó las primeras unidades del casco VIVE SteamVR. Este acontecimiento, marcó el primer lanzamiento comercial de un sistema de realidad virtual con seguimiento de posición basado en sensor, permitiendo el libre desplazamiento de los usuarios dentro de un espacio definido.
  • Reconocimiento facial

    Reconocimiento facial

    El reconocimiento facial lleva bastantes años en desarrollo y se utiliza para muchas actividades cotidianas, pero hasta este año el reconocimiento facial es lo suficientemente confiable para utilizarse en el sector financiero o en la seguridad.
    Las nuevas versiones utilizan el aprendizaje profundo, una técnica de inteligencia artificial que es especialmente eficaz para el reconocimiento de la imagen. Los teléfonos con reconocimiento facial son: iphone X, samsun S8, S8+ y LG G6 y Q6
  • Android GO

    Android GO

    Es una versión más ligera del sistema operativo para ayudar a que la mitad del mundo sin smartphone consiga uno en menos de cinco años. Incluye versiones especiales de sus aplicaciones donde el consumo de datos se reduce al máximo.
  • Surface Pro 5

    Surface Pro 5

    Pertenece a una serie de tabletas diseñadas y comercializadas por Microsoft. Exactamente igual a su antecesora, la Surface Pro 4, aunque con una línea algo más redondeada en el lateral. Llegará con el tradicional lápiz y la funda con teclado. La primera gran novedad: los colores. Con nuevos tonos en la gama, que no solo aparecen en el teclado, sino también en el lápiz que deja el gris anterior.
  • Animales virtuales con mentes digitales

    Animales virtuales con mentes digitales

    Proyectos actuales como OpenWorm buscan digitalizar el cerebro de un gusano, por lo que pronto comenzarán los experimentos para emular las funciones neuronales de organismos más complejos, como mamíferos. Las mentes digitales de los animales podrían ser "subidas" a una interfaz robótica, revolucionando nuestra relación con las mascotas y permitiéndonos comprender mejor la evolución de las especies.
  • Tratamientos anti-edad verdaderamente efectivos

    Tratamientos anti-edad verdaderamente efectivos

    La gerontología(ciencia que estudia los aspectos de la vejez) avanza, y mientras la vejez sigue siendo una condición inevitable, esta rama de la medicina está explorando qué es lo que hace el código genético de las poblaciones centenarias para alcanzar la longevidad y perpetuar la salud. Proyectos para vencer a la vejez definitivamente incluyen terapias para recargar las mitocondrias(orgánulos celulares) de las células y mapear el código genético de los individuos especialmente longevos.
  • Curar la sed del mundo con agua de mar

    Curar la sed del mundo con agua de mar

    Hoy en día ya existen grandes proyectos para desalinizar el agua marina y utilizarla como agua potable. Para el 2030, estos proyectos crecerán a escala industrial, echando mano de los recursos de energías renovables para su operación, como la energía solar y células fotovoltáicas( fuente de energía renovable a partir de la radiación solar) . Los expertos afirman que los déficits de agua potable en grandes zonas del planeta serán historia para finales de la década del 2030.
  • Salud

    Salud

    El inodoro será capaz de analizar diario la orina para recomendar una dieta, el cepillo de dientes pedirá cita al dentista si detecta caries, la ropa sabrá cómo está la temperatura corporal.
    También se espera la reconstrucción de órganos para implantes partiendo de células propias,interfaces cerebrales permitiendo a una persona con parálisis total navegar por Internet o nanocápsulas recorriendo el interior del cuerpo humano en busca de problemas. Esto en un lapso de 10 a 20 años.
  • Conclusión parte 1

    Conclusión parte 1

    La tecnología crece de manera exponencial y aparecen nuevos paradigmas de todo tipo ya sea de lenguajes de programación o nuevas formas de crear o innovar cierta cosa, esto ha sido así desde cientos de años atrás donde la tecnología incrementa y facilita nuestras vidas. Las diversas formas de interacción humano- computadora han ido facilitando poco a poco esa conexión que se crea encontrando una mejor manera en que el hombre haga cierta actividad en la computadora y esta lo ayude eficientemente.
  • Conclusión parte 2

    Conclusión parte 2

    Con la ayuda de las tic's se puede lograr una conexión inteligente para disminuir el rango de errores o de tiempo en el que un usuario recibe información de una computadora. Se puede lograr mejorando la IU de forma que se conozca que estilo de interacción utilizar y que ademas la parte cognitiva del usuario procese de mejor forma la información logrando así la aceptación, aprobación y éxito del usuario.

Plan projects on a visual timeline

Map milestones, phases, deadlines, and key events in one place so the sequence is easier to see and share. Timetoast is a timeline maker for work, school, research, and stories.