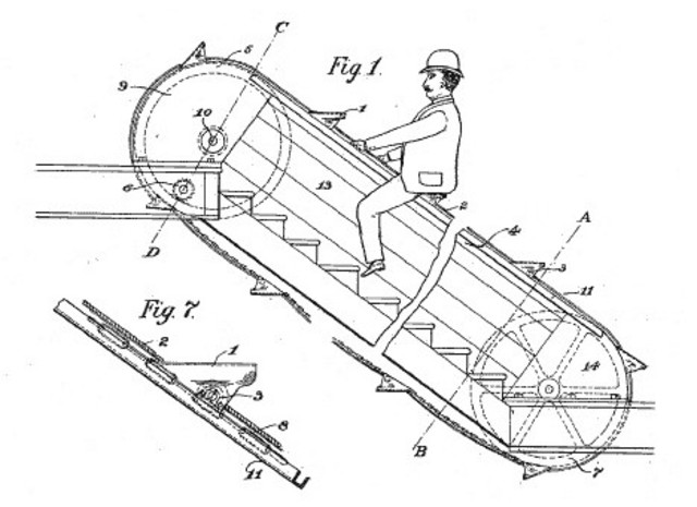
220px illustration of revolving stairs (u s  patent 25,076 issued to nathan ames, 9 august 1859)

The Escalator

  • Nathan Ames is born

    Nathan Ames is born

    This the date that Nathan Ames (the inventor of the escalator) was born.
  • Period: to

    Timeline of the Escalator being created

  • About George Wheeler

    About George Wheeler

    George invented a escalator-type apparatus and patents Elevator 479,864 issued August 2, 1892
  • About Charles Seeberger

    About Charles Seeberger

    Charles D. Seeberger (1857–1931) was an American inventor. In 1899, he joined the Otis Elevator Company. The Seeberger-Otis partnership produced the first step-type escalator made for public use, and it was installed at the Paris Exhibition of 1900, where it won first prize. Mr. Seeberger eventually sold his patent rights to Otis in 1910
  • The Escalator was invented

    The Escalator was invented

    Nathan Ames invented and issued it for this date. He also invented a version of a polygraph and a device for polishng shoes.
  • The Escalator was patented

    The Escalator was patented

    The patent was 25,076 (US) issued March 9, 1859 for Revolving Stairs
  • Other Inventions That Nathan Ames Made

    Other Inventions That Nathan Ames Made

    He also patented machines for improvement in polishing leather during the time when Lynn's shoemaking industry was one of the largest in the world. Another one of his patents was for a polygraph, an early copying machine that operated by using pens connected by wires. Another patent he held was for an improved grater.
  • About Jesse W. Reno

    About Jesse W. Reno

    Reno was born in 1861 in Fort Leavenworth, Kansas. He was the son of American Civil War notable Jesse L. Reno. He graduated from Lehigh University in 1883 with an engineering degree in mining, later a metallurgical degree, where he was a member of the Chi Phi Fraternity.
  • The Day that Nathan Ames dies

    The Day that Nathan Ames dies

    After Nathan's successful inventions he later on died in 1865
  • The Escalator was created

    The Escalator was created

    When Jesse Reno created the escalator he sent it to Coney Island to be novelty ride.
  • Improvements

    Improvements

    George A. Wheeler invents escalator-type elevator improvements.
  • Escalator Troubles

    Escalator Troubles

    In the 1930s, at least one suit was filed against a department store, alleging that its escalators posed an attractive nuisance, responsible for a child’s injury. These cases were almost always dismissed.
  • How Escalators are Made

    How Escalators are Made

    Escalators, like moving walkways, are powered by constant-speed alternating current motors[citation needed] and move at approximately 1–2 feet (0.30–0.61 m) per second.
  • How Modern Escalators are Set Up

    How Modern Escalators are Set Up

    The typical angle of inclination of an escalator to the horizontal floor level is 30 degrees with a standard rise up to about 60 feet . Modern escalators have single-piece aluminum or steel steps that move on a system of tracks in a continuous loop.
  • The Escalators Average

    The Escalators Average

    A single-width escalator traveling at about 1.5 feet per second can move an estimated 170 persons per five-minute period.
  • About the Escalator

    About the Escalator

    The escalator can be use to guide pedestrians to main exits and there are over 30,000 escalators in the U.S.