Historia Mediów

  • Malunki w jaskinii El Castillo
    200

    Malunki w jaskinii El Castillo

    Najstarsze odkryte malarstwo jaskiniowe - 40 tys. lat p.n.e.
  • Powstanie pisma klinowego w Mezopotamii
    300

    Powstanie pisma klinowego w Mezopotamii

  • Powstanie pierwszego systemu pocztowego w Persj
    521

    Powstanie pierwszego systemu pocztowego w Persj

    Różne źródła historyczne przypisują stworzenie systemu pocztowego w Persji różnym osobom - wg. Ksenofonta jego twórcą był Cyrus II Wielki. System ten opierał się na sieci stacji zwanych Chapar Khaneh, w których poseł niosący wiadomość zamieniał konie
  • Wynalezienie druku
    Oct 14, 1450

    Wynalezienie druku

    wynalezienie druku,prasy drukarskiej przez Gutenberga
  • Powstanie pierwszej drukowanej gazety -Relation

    Powstanie pierwszej drukowanej gazety -Relation

    Niemieckojęzyczna gazeta " Relation aller Fürnemmen und gedenckwürdigen Historien", drukowana przez Johanna Carolusa w Strasburgu jest uznawana za pierwszą gazetę
  • Wynalezienie telegrafu optycznego semaforowego

    Wynalezienie telegrafu optycznego semaforowego

    "Claude Chappe wraz ze swym bratem Ignacym opracował telegraf optyczny semaforowy, znany później jako telegraf Chappe'a gdzie za pomocą odpowiedniego ustawienia trzech ruchomych ramion na maszcie możliwe było przesyłanie dowolnej litery przez łańcuch stacji, umieszczonych na specjalnych wieżach, nadbudówkach czy wyniosłościach terenu."
  • Pierwsza trwała fotografia z natury

    Pierwsza trwała fotografia z natury

    Została ona wykonana przez Nicéphore'a Niépce'a w Saint-Loup-de-Varennes.
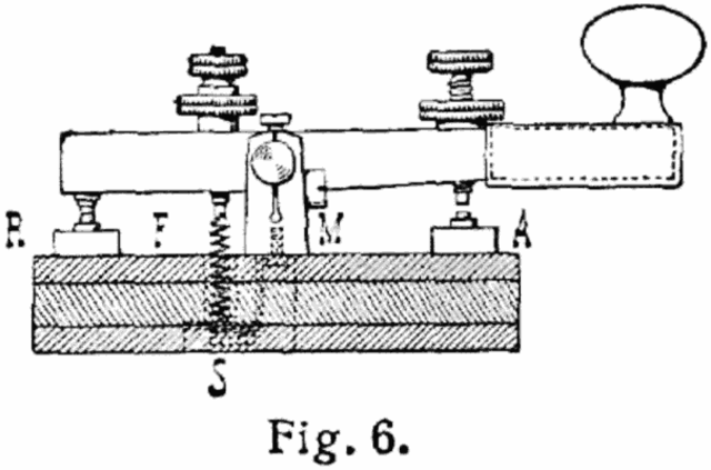
  • Wynalezienie i opatentowanie telegrafu elektrycznego przez Samuela Morse'a

    Wynalezienie i opatentowanie telegrafu elektrycznego przez Samuela Morse'a

    Telegraf Morse'a nie był pierwszym telegrafem elektrycznym, jest on jednak istotny ponieważ system przez niego stworzony był prosty w użyciu i pozwalał wysyłać sygnały tylko przez jedną parę przewodów
  • Opatentowanie telefonu przez Aleksandra Grahama Bella

    Opatentowanie telefonu przez Aleksandra Grahama Bella

    Ustalenie jednego konkretnego wynalazcy telefonu nie jest możliwe - pierwszy jednak opatentował ten wynalazek A. G. Bell
  • Zademonstrowanie fonografu przez Tomasza Edisona

    Zademonstrowanie fonografu przez Tomasza Edisona

    Fonograf to jedno z pierwszych urządzeń służących do zapisu i odtwarzania dźwięku, poprzednik gramofonu.
  • Kinetoskop

    Kinetoskop

    Kinetoskop – urządzenie służące do wyświetlania ruchomych obrazów. Zostało wynalezione przez Thomasa Alvę Edisona w 1892 roku, jako urządzenie przeznaczone dla jednego widza, działające na zasadzie fotoplastykonu.
  • Pierwsze polaczenie telefonieczne

    Pierwsze polaczenie telefonieczne

    1893 - Pierwsze połączenie telefoniczne. Połączenie to zostało zrealizowane pomiędzy Grajewem i Rajgrodem. Już w XVII w. ludzie zaczęli zdawać sobie sprawę z możliwości przesyłania głosu za pośrednictwem metalowego przewodu. Można tego dowieść w prosty sposób, za pomocą dwóch metalowych naczyń połączonych drutem[1].
    Za wynalazcę telefonu uważa się Aleksandra Bella, który pierwszy opatentował ten wynalazek, lecz koncepcja narodziła się wcześniej. Jedno z pierwszych urządzeń skonstruował Antonio M
  • Powstanie Radia

    Powstanie Radia

    Łączność radiową po raz pierwszy uzyskał Włoch Guglielmo Marconi w 1894 roku (na odległość 10 metrów!).W wyniku eksperymentów i udoskonaleń powiększył w 1894 roku zasięg swej aparatury do 10 km .
  • Wynalezionie bioskopu, pierwszy projektor

    Wynalezionie bioskopu, pierwszy projektor

    Max Skladanowsky (ur. 30 kwietnia 1863 w Pankow pod Berlinem, zm. 30 listopada 1939 tamże) – niemiecki wynalazca, pionier kinematografii. Razem z bratem Emilem wynalazł bioskop, rodzaj wczesnego projektora dla filmów, pierwszy raz zaprezentowanych na płatnym pokazie 1 listopada 1895 roku, dwa miesiące przed premierowym pokazem braci Lumière.
    Dziełem braci był m.in. pierwszy film nakręcony na terenie Szwecji pt. Zabawne spotkanie w ogrodzie zoologicznym w Sztokholmie.
  • Pierwsza publiczna projekcja filmu

    Pierwsza publiczna projekcja filmu

    Za oficjalną datę narodzin kina uchodzi dzień 28 grudnia 1895 r. Tego dnia 35 osób, zwabionych reklamą o pokazie urządzenia określonego przez swoich twórców – braci Auguste’a i Louis’a Lumi?re – jako kinematograf, weszło za opłatą 1 franka do podziemi mieszczącej się przy Bulwarze Kapucynów 14 w Paryżu Grand Cafe, by obejrzeć tam kilkanaście krótkich, trwających co najwyżej półtorej minuty, filmów. Na pokazie zaprezentowano takie „dzieła” jak „Wyjście robotników z fabryki w Lyonie” „Ulica de la
  • Powstanie BBC

    Powstanie BBC

    BBC (skrót od British Broadcasting Corporation, Brytyjska Korporacja Nadawcza) – główny brytyjski publiczny nadawca radiowo-telewizyjny, największa tego rodzaju instytucja na świecie[1].
    Powstała w 1922 r. z inicjatywy sześciu firm zajmujących się produkcją sprzętu radiowego, które chciały prowadzić przy jej pomocy eksperymentalne nadawanie[2]. Korporacja utrzymuje się z produkcji własnych programów, abonamentu telewizyjnego (osiem kanałów telewizyjnych) i zysków należących do niej przedsiębiors
  • Pierwsze użycie słowa "medium" w kontekście technik komunikacji

    Słowa tego użył po raz pierwszy Marshall McLuhan w swojej publikacji "Counterblast": "The media are not toys; they should not be in the hands of Mother Goose and Peter Pan executives. They can be entrusted only to new artists, because they are art forms."
  • Publikacja pracy "Zrozumieć media. Przedłużenia człowieka"

    Publikacja pracy "Zrozumieć media. Przedłużenia człowieka"

    "Zrozumieć media. Przedłużenia człowieka" jest najszerzej znaną pracą Marshalla McLuhana, teoretyka komunikacji, który rozpropagował pojęcie globalnej wioski oraz twierdzenie, iż "medium jest przekazem".
  • Pierwsza transmisja telewizyjna przez satelitę

    Pierwsza transmisja telewizyjna przez satelitę

    Pierwszy raz przekaz telewizyjny przez satelitę Telstar 1 zrealizowano w lipcu 1962 roku. Obecnie w kosmosie krąży około 130 satelitów.
    Teoretycznie trzy dobrze umieszczone satelity potrafią objąć obszar całej kuli ziemskiej, a pojedynczy satelita komunikacyjny może naraz obsługiwać 30 tysięcy rozmów telefonicznych i ponad 25 kanałów telewizyjnych.
  • Pierwszy wysłany e mail

    Pierwszy wysłany e mail

    Pierwszego mejla na świecie wysłał w 1971 roku Ray Tomlinson - pomysłodawca i twórca elektronicznej poczty. Treść wiadomości niestety nie jest znana, sam Ray w wywiadach wspomina o czymś w stylu "QWERTY".
  • Pierwsze polaczenie z komórki

    Pierwsze polaczenie z komórki

    3 kwietnia 1973 roku inżynier firmy Motorola, Martin Cooper, wykonał pierwsze udokumentowane połączenie z pomocą telefonu komórkowego. Sprzęt, który można nazwać praprzodkiem dzisiejszych smartfonów nosił nazwę Motorola DynaTAC, ale przywarło do niego (a także do jego następców) określenie „cegła”. Nie powinno to nikogo dziwić: rozmiar i waga telefonu (odpowiednio 22,5 × 12,5 × 3,75 cm i ponad 1 kg) całkowicie usprawiedliwiają nieformalną nazwę.
  • Internet

    ARPANET (ang. Advanced Research Projects Agency Network) – pierwsza sieć rozległa oparta na rozproszonej architekturze i protokole TCP/IP. Jest bezpośrednim przodkiem Internetu. Istnieje do dzisiaj.
  • VHS

    VHS

    (ang. Video Home System, czasami błędnie rozwijany jako Vertical Helical Scan[przez kogo?], co jest określeniem systemu zapisu) – w latach osiemdziesiątych i dziewięćdziesiątych popularny standard zapisu i odtwarzania kaset wideo przeznaczony dla rynku konsumenckiego.
  • Macintosh 128K

    Macintosh 128K

    Macintosh - pierwszy komputer osobisty z serii Macintosh stworzonej przez Apple. Zaraz po premierze kosztował 2495 dolarów (około 5555 dolarów w 2012 roku). Tak jak wszystkie klasyczne Macintoshe miał wbudowany mikroprocesor MC68000 firmy Motorola. Produkowano go tylko w beżowej obudowie. Jego następca, Macintosh 512K, został wprowadzony w 1986 roku.
  • Pierwszy SMS

    Pierwszy SMS

    Pierwszy w historii tekst SMS-em został wysłany 3 grudnia 1992 r. z Wielkiej Brytanii. Neil Papworth, pracownik Vodafone, składał w nim życzenia z okazji Świąt Bożego Narodzenia swoim kolegom.
    Początkowo teksty wysyłane SMS-em miały służyć operatorom do informowania klientów o awariach sieci, zmianach w cenniku operatora i o temu podobnych sytuacjach. Nie istniała też technologia umożliwiająca przesyłanie tekstów SMS-em do innych sieci, nie przewidziano więc, że wiadomości tego typu mogą się sta
  • Radio internetowe

    W roku 1993 rozpoczęło działalność pierwsze radio internetowe. Obecnie ponad 20 tysięcy stacji radiowych można słuchać przez Internet
  • Kafejka internetowa

    Kafejka internetowa

    Kafejka internetowa (kawiarenka internetowa) – jest to miejsce, w którym można skorzystać z komputerów z dostępem do Internetu. Za korzystanie z komputerów w kafejce internetowej zazwyczaj pobierana jest niewielka opłata, najczęściej za czas korzystania.
  • Dead Media Project

    The Dead Media Project was initially proposed by science fiction writer Bruce Sterling in 1995 as a compilation of obsolete and forgotten communication technologies.[1] Sterling's original motivation for compiling the collection was to present a wider historical perspective on communication technologies that went beyond contemporary excitement for the internet, CD-ROMs and VR systems. Sterling proposed that this collection take form as "The Dead Media Handbook" — a somber, thoughtful, thorough,
  • DVD

    DVD

    DVD (Digital Video Disc lub Digital Versatile Disc) – rozpowszechniony w roku 1995 standard zapisu danych na optycznym nośniku danych, podobnym do CD-ROM (te same wymiary: 12 lub 8 cm) lecz o większej pojemności uzyskanej dzięki zwiększeniu gęstości zapisu.
  • Poczatek cyberkultury- premiera filmu Matrix

    Poczatek cyberkultury- premiera filmu Matrix

    Kiedy za 100 lat ktoś będzie robił ranking najważniejszych filmów XX wieku na pewno znajdzie się w nim "Matrix" braci Wachowskich. Obraz, który bardzo szybko opuścił kinowy ekran by stać kulturowym fenomenem do dziś inspirującym i skłaniającym do dyskusji.
  • Apple IPod

    Apple IPod

    iPod – wspólna nazwa rodziny przenośnych odtwarzaczy multimedialnych, produkowanych przez firmę Apple.
    Niektóre z nich mogą działać w roli dodatkowego dysku twardego dla komputera stacjonarnego lub laptopa, natomiast iPod w najnowszej wersji, iPod touch, stanowi wielofunkcyjny komputer osobisty typu palmtop z systemem operacyjnym typu Unix i bezprzewodowym dostępem do internetu.
    iPod jest obecnie najpopularniejszym odtwarzaczem na świecie, dominującym na rynku amerykańskim, wielokrotnie przewyżs
  • I Max

    I Max

    IMAX (ang. Image Maximum) – jeden z alternatywnych systemów kinowych używanych w przemyśle filmowym. Taśma filmowa IMAX ma znacznie większą rozdzielczość niż tradycyjna – powierzchnia użytkowa ma szerokość 58,5 mm i wysokość 70 mm, stąd obraz ma proporcje 1,44:1. Kadr jest ustawiony poziomo, a nie pionowo jak na taśmie filmowej 35 mm.
    Dzięki wielkości klatki obraz może być wyświetlany na ogromnym ekranie. Typowy ekran w kinie Imax ma wymiary 24×18 metrów[1]. Jednak największe ekrany na świecie m
  • Facebook

    Facebook

    Projekt został uruchomiony 4 lutego 2004 na Uniwersytecie Harvarda (w stanie Massachusetts) i był początkowo przeznaczony przede wszystkim dla uczniów szkół średnich i studentów szkół wyższych (college’ów, uniwersytetów). Jego głównym autorem jest Mark Zuckerberg (obecnie pełni on funkcję CEO). Serwis zatrudnia ok. 1000 pracowników (stan na sierpień 2009)[3]. Planowane przychody przekroczą 150 mln USD (2008)[4]. We wrześniu 2009 założyciel Facebooka poinformował na swoim blogu, że Facebook po ra
  • OGÓLNOPOLSKI FESTIWAL FILMÓW KOMÓRKOWYCH "OFFK-a"

    OGÓLNOPOLSKI FESTIWAL FILMÓW KOMÓRKOWYCH "OFFK-a"

    OGÓLNOPOLSKI FESTIWAL FILMÓW KOMÓRKOWYCH "OFFK-a"– jedna z cyklicznych imprez Bałuckiego Ośrodka Kultury w Łodzi, który jako pierwszy w Polsce zorganizował festiwal poświęcony filmom zrobionym telefonem komórkowym. Festiwal wspiera rozwój filmu komórkowego jako nowoczesnego narzędzia komunikacji międzyludzkiej.(1) Festiwal jest konkursem ogólnopolskim dostępnym dla wszystkich filmowców amatorów. Filmy zgłaszane na festiwal publikowane są również w przestrzeni portali społecznościowych. Na Przegl
  • Sukces radia internetowego

    2008 – Przychody internetowych rogłośni to już 500 mln dol. 13% Amerykanów słucha radia internetowego
  • Druk Sutry Diamentowej w Chinach

    Druk Sutry Diamentowej w Chinach

    Najstarsza datowana i zachowana w całości drukowana książka - wykonana przy użyciu bloków drewnianych.

Want to make a timeline like this?

Use Timetoast to turn dates, events, milestones, and phases into a clear visual timeline you can build and share. Timetoast is a timeline maker for work, school, research, and stories.