HISTORIA DE LA INFORMATICA

  • LOs huesos del hiper

    LOs huesos del hiper

    dispositivo de madera que permite multiplcar
  • La pascalina

    La pascalina

    La primera calculadora, la cual funcionaba a base de ruedas y engranajes
  • Tarjeta perforadora

    Tarjeta perforadora

    Lamina que contiene informacion en forma de perforacion segun un codigo binario
  • Maquina analitica

    Maquina analitica

    Diseño de computador. El paso principal hacia una computadora moderna
  • Algebra boole

    Algebra boole

    son símbolos utilizados para representar magnitudes lógicas y pueden tener sólo dos valores posibles: 1 (valor alto) ó 0 (valor bajo).
  • Ordenador digital

    Ordenador digital

    El primer ordenador digital del mundo, una máquina de más de dos toneladas bautizada como «The Witch» (La Bruja), volvió hoy a encenderse en el Reino .
  • Ordenador digital electronico

    Ordenador digital electronico

    Si se utiliza una definición de ordenador pensando en máquinas similares a las actuales (arquitectura Von Neumann, electrónicas, basadas en la aritmét..
  • Modem

    Modem

     es el dispositivo que convierte las señales digitales en analógicas (modulación) y viceversa (demodulación), permitiendo la comunicación entre comput..
  • Segunda generación De Ordenadores

    Segunda generación De Ordenadores

    La segunda generación de las computadoras reemplazó las válvulas de vacío por los transistores. Por eso, las computadoras de la segunda generación son..
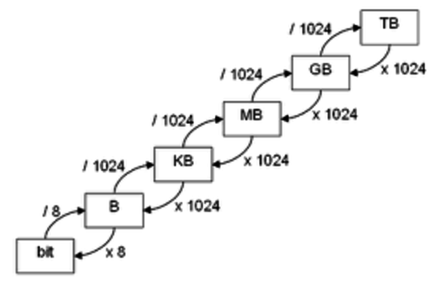
  • Unidades De Medida Informatica

    Unidades De Medida Informatica

    En informática, la cantidad de información más pequeña es el bit, que puede tomar los valores de 0 y 1. 
    Un byte está compuesto de 8 bits: 1B = 8 bits.
  • Codigo Ascii

    Codigo Ascii

    Este código nació a partir de reordenar y expandir el conjunto de símbolos y caracteres ya utilizados en aquel momento en telegrafía por la compañía B..
  • Lenguaje de preogramacion

    Lenguaje de preogramacion

    Un lenguaje de programación es un lenguaje formal diseñado para expresar procesos que pueden ser llevados a cabo por máquinas como las computadoras.
  • Chips

    Chips

    Un circuito integrado (CI), también conocido como chip o microchip, es una estructura de pequeñas dimensiones de material semiconductor, de algunos mi..
  • Calculador De Bolsillo

    Calculador De Bolsillo

    Una calculadora es un dispositivo que se utiliza para realizar cálculos aritméticos
  • Arpanet Ived De Conexion

    Arpanet Ived De Conexion

    El concepto de una red de computadoras, capaz de comunicar usuarios en distintas computadoras, fue formulado en agosto de 1962 por Joseph C. R. Lickli..
  • Lenguaje C++

    Lenguaje C++

    C++ es un lenguaje de programación diseñado a mediados de los años 1980 por Bjarne Stroustrup. La intención de su creación fue el extender al exitoso ..
  • Disco Duro

    Disco Duro

    En informática, la unidad de disco duro o unidad de disco rígido (en inglés: Hard Disk Drive, HDD) es el dispositivo de almacenamiento de datos que em..
  • Ibm Pc Sistemas Operativos de Ms-Dos

    Ibm Pc Sistemas Operativos de Ms-Dos

    El IBM PC DOS (nombre completo: The IBM Personal Computer Disk Operating System) es un Sistema operativo de disco (DOS) para el IBM Personal Computer ..
  • Ordenador Personal Con Interfaz

    Ordenador Personal Con Interfaz

    La interfaz gráfica de usuario, conocida también como GUI (del inglés graphical user interface) es un programa informático que actúa de interfaz de us.
  • World Wide Web, Lenguaje Html , Servidor Web

    World Wide Web, Lenguaje Html , Servidor Web

    En informática, la World Wide Web (WWW) o Red informática mundial1 comúnmente conocida como la Web, es un sistema de distribución de documentos de hip..
  • Lenguaje De Programacion Nucleo LinuxMás información: https://line.do/es/linea-del-tiempo-de-la-informatica/d9s/vertical/moment/22

    Lenguaje De Programacion Nucleo LinuxMás información: https://line.do/es/linea-del-tiempo-de-la-informatica/d9s/vertical/moment/22

    Linux es un sistema operativo libre, basado en Unix.4 Es uno de los principales ejemplos de software libre y de código abierto.5 Linux está licenciado..
  • Disco Optico

    Disco Optico

    Un disco óptico es un medio de almacenamiento de datos de tipo óptico, que consiste en un disco circular en el cual la información se codifica, guarda..
  • Lenguaje PHP

    Lenguaje PHP

    PHP es un lenguaje de programación de uso general de código del lado del servidor originalmente diseñado para eldesarrollo web de contenido dinámico.
  • Buscador google

    Buscador google

    Google Inc. es una empresa multinacional estadounidense especializada en productos y servicios relacionados con Internet, software, dispositivos elect..
  • Pentium 2

    Pentium 2

    El Pentium II es un microprocesador con arquitectura x86 diseñado por Intel, introducido en el mercado el 7 de mayode 1997. Está basado en una versión..
  • Redes Sociales

    Redes Sociales

    Una red social es una forma que representa una estructura social, asignándole un símbolo, si dos elementos del conjunto de actores (tales como individ..
  • Abaco

    Abaco

    Instrumento matematico de conteo

Want to make a timeline like this?

Use Timetoast to turn dates, events, milestones, and phases into a clear visual timeline you can build and share. Timetoast is a timeline maker for work, school, research, and stories.