Historia de la fotografía

  • Mozi
    400 BCE

    Mozi

    Se refiere a la cámara oscura como el "Tesoro enterrado". Entre sus experimentos se encontraron el realizar estenopos en habitaciones oscuras, lo que lo convierte en precursor de la cámara oscura y, por tanto, de la cámara fotográfica.
  • ALHAZÁN DE BASORA
    100 BCE

    ALHAZÁN DE BASORA

    El sabio y científico Abu Ali Hasan Ibn al-Haitham, conocido en occidente como Alhazen ,experimentó con la cámara oscura, utilizando la luz de cinco linternas suspendidas para iluminar a través de un pequeño agujero en la pared de una habitación y formar una imagen invertida de las linternas en la pared opuesta al orificio.
  • ABD EL KAMIR
    600

    ABD EL KAMIR

    Descubre una emulsión fotosensible (nitrato de plata) que tendía a oscurecerse con la luz. No conocía la cámara oscura.
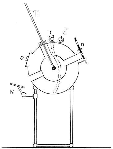
  • ROGER BACON
    1277

    ROGER BACON

    En su "Ciencia Perspectiva" mejora la cámara oscura situando detrás del estenopo (orificio donde entra la luz) un espejo para poder proyectar las imágenes en forma horizontal.
  • LEONARDO DA VINCI
    1490

    LEONARDO DA VINCI

    Realiza la primera ilustración y descripción completa de la cámara oscura.
  • GEROLAMO CARDANO

    GEROLAMO CARDANO

    Uso de un disco de cristal biconvexo.
    Recomendó en su obra "De Subtilitate" el uso de un disco de cristal biconvexo, adosado al orifico de la cámara oscura para obtener una imagen más brillante y mejorar así la visión.
  • PRIMER TELESCOPIO

    PRIMER TELESCOPIO

    Hans Lippershey crea el primer telescopio.
  • JOHANES KEPLER

    JOHANES KEPLER

    Crea un sistemas de lentes cóncavas y convexas para corregir aberraciones y distorsiones.
  • ISAAC NEWTON

    ISAAC NEWTON

    Incluye espejos en el telescopio y un visor.
  • RETRATOS DE SILUETA

    RETRATOS DE SILUETA

    Las siluetas fueron las formas de retrato económico más comunes en Inglaterra, Francia y Alemania. Fueron un antecedente importante para la fotografía.
  • JOHN DOLLOND

    JOHN DOLLOND

    Comercializa telescopios con lentes acromáticas.
  • THOMAS WEDGEWOOD

    THOMAS WEDGEWOOD

    Mejora los experimentos de Jacques-Alexandre-Cesar Charles, pero las imágenes solo pueden ser contempladas a la sombra y durante escasos minutos (les faltaba fijador). Les llamaba "Heliografías"
  • ACTINÓMETRO

    ACTINÓMETRO

    Inventado por Sir John Herschel (quien acuñó el término "fotografía" años después.), era un instrumento para medir la intensidad de la luz.
  • PRIMERA FOTOGRAFÍA DE LA HISTORIA

    PRIMERA FOTOGRAFÍA DE LA HISTORIA

  • JOSEPH NICÉPHORE NIÉPCE

    JOSEPH NICÉPHORE NIÉPCE

    Logra crear la primera fijación exitosa de una imagen producida con una cámara oscura. Se convierte en uno de los padres de la fotografía.
  • PRIMERA FOTOGRAFÍA POR DAGUERRE

    PRIMERA FOTOGRAFÍA POR DAGUERRE

    Louis Daguerre logra realizar su primera imagen permanente.
  • FECHA OFICIAL DE INICIO DE LA FOTOGRAFÍA

    FECHA OFICIAL DE INICIO DE LA FOTOGRAFÍA

    El 19 de agosto de 1839 Louis Daguerre muestra su invento (llamado Daguerrotipo) en la Academia de Ciencias de París.
  • PRIMERA FOTOGRAFÍA CONSTRUIDA DE LA HISTORIA

    PRIMERA FOTOGRAFÍA CONSTRUIDA DE LA HISTORIA

    Hyppolite Bayard construye su imagen "El ahogado" como protesta al no ser reconocido como un padre de la fotografía.
  • PRIMER ESTUDIO FOTOGRÁFICO EN LONDRES

    PRIMER ESTUDIO FOTOGRÁFICO EN LONDRES

    Richard Beard abre su primer estudio de retratos.
  • PRIMER MÁQUINA DE FACSÍMIL (FAX)

    PRIMER MÁQUINA DE FACSÍMIL (FAX)

    Alexander Bain creó ese dispositivo y en 1865 se abrió el primer servicio de fax entre París y Lyon (Francia).
  • PRIMERA SOCIEDAD FOTOGRÁFICA EN INGLATERRA

    PRIMERA SOCIEDAD FOTOGRÁFICA EN INGLATERRA

    Se crea en Londres el "Calotype Club". Entre sus miembros estuvieron Frederick Scott Archer -inventor del colodión húmedo, Roger Fenton y Hugh Diamond, entre otros.
  • ROLLO CONDUCTOR SHELLAC

    ROLLO CONDUCTOR SHELLAC

    Frederick Bakewell mejora, en Inglaterra, el diseño de Alexander Bain para crear facsímiles.
  • NEGATIVO DE VIDRIO USANDO ALBÚMINA

    NEGATIVO DE VIDRIO USANDO ALBÚMINA

    Abel Niepce usa clara de huevo para unir las sales de plata.
  • EL RETRATO

    EL RETRATO

    Para mediados del siglo XIX el retrato era la principal actividad de los estudios fotográficos.
  • IMPRESIÓN A LA ALBÚMINA

    IMPRESIÓN A LA ALBÚMINA

    Louis Desire Blanquart-Evrard inventa la impresión en papel a la albúmina y logra mayor profundidad y contraste.
  • Period: to

    EL PICTORIALISMO

    Durante una década varios fotógrafos usan la fotografía con fines artísticos, tomando prestados temas y tratamientos inspirados en la pintura. Destacaron HP Robinson, Oscar Gustav Rejlander, Julia Margaret Cameron entre otros.
  • GUSTAVE LEGRAY

    GUSTAVE LEGRAY

    Uno de los pioneros de la fotografía artística. Dotaba a sus fotos de sentido estético.
  • FOTOGRAFÍA ESTEREOSCÓPICA

    FOTOGRAFÍA ESTEREOSCÓPICA

    John Benjamin Dancer crea la primera cámara estereoscópica de la historia.
  • AMBROTIPO

    AMBROTIPO

    James Ambrose Cutting inventa el ambrotipo, o colodión de positivado directo.
    En esta técnica un cristal con colodión muy subexpuesto es blanqueado y luego puesto en un fondo negro, lo que provoca una imagen plateada que luce como un positiivo
  • IMPRESIÓN AL CARBÓN

    IMPRESIÓN AL CARBÓN

    Alphonse Poitevin crea la impresión al carbono que permitió el desarrollo de la fotografía contribuyendo a facilitar su copia.
  • FOTOGRAFÍA SUBMARINA

    FOTOGRAFÍA SUBMARINA

    William Thomson realiza las primeras fotografías submarinas.
  • "LOS DOS CAMINOS DE LA VIDA"

    "LOS DOS CAMINOS DE LA VIDA"

    Oscar Gustav Rejlander crea esta imagen a partir de más de 30 negativos. Es uno de los primeros intentos exitosos de dotar a la fotografía de contenidos y formas artísticas.
  • PRIMERA FOTOGRAFÍA AÉREA

    PRIMERA FOTOGRAFÍA AÉREA

    Nadar hace en globo la primera fotografía de París.
  • PRIMERA CÁMARA PANORÁMICA

    PRIMERA CÁMARA PANORÁMICA

    Thomas Sutton inventa la "Sutton", primera cámara panorámica de la historia.
  • PRIMERA FOTOGRAFÍA A COLOR

    PRIMERA FOTOGRAFÍA A COLOR

    James Clerk Maxwell demostró que era posible realizar fotografías en color utilizando una combinación de filtros rojo, verde y azul.
  • "FIEBRE" DEL REGISTRO FOTOGRÁFICO

    "FIEBRE" DEL REGISTRO FOTOGRÁFICO

    Fiebre de los viajeros que registraban territorios, personas y sujetos científicos. Durante esta época destacaron Francis Frith, Roger Fenton, Adolphe Braun, Timothy O'Sullivan o Carleton E. Watkins.
  • MOVIMIENTO CONGELADO

    MOVIMIENTO CONGELADO

    Eadweard Muybridge logra congelar el movimiento y registrarlo. Demostró que un caballo no apoya ningún casco en el suelo durante un trote largo o galope en la famosa polémica iniciada por Leland Stanford.
  • PRIMERA FOTO EN UN PERIÓDICO

    PRIMERA FOTO EN UN PERIÓDICO

    El diario New York Graphic publica la primera fotografía en medio tono "A Scene in Shantytown" por Stephen Hogan
  • PLACAS SECAS

    PLACAS SECAS

    George Eastman comercializa las placas secas: ya no es necesario preparar la placa y procesarla "en húmedo" como el colodión.
  • ROLLO DE PELÍCULA

    ROLLO DE PELÍCULA

    George Eastman crea la película en rollo utilizando gelatina sobre una tira de celuloide. Esta tecnología se usaría durante más de 100 años.
  • FLASH ENCAPSULADO DE BOUTAN-CHAUFFOUR

    FLASH ENCAPSULADO DE BOUTAN-CHAUFFOUR

    Se diseñó para para fotografía submarina. Contenía magnesio dentro de una bombilla de vidrio con oxígeno a presión.
  • RAYOS X

    RAYOS X

    Wilhelm Conrad Roentgen descubre los rayos X.
  • FOTOGRAFÍA DIRECTA

    FOTOGRAFÍA DIRECTA

    Paul Strand se convierte en el iniciador de la fotografía directa y del retrato psicológico.
  • FOTOGRAFÍA ELECTRÓNICA DE A. A. CAMBPELL

    FOTOGRAFÍA ELECTRÓNICA DE A. A. CAMBPELL

    Desarrolla un tubo eléctrico para grabar imágenes que podían transmitirse por cable y luego reproducirse en un tubo de rayos catódicos.
  • MARTÍN CHAMBI

    MARTÍN CHAMBI

    Abre su primer estudio en Sicuani. Se convertiría en una de las figuras de la fotografía latinoamericana más importantes del s. XX
  • TRANSMISIÓN INALÁMBRICA DE FOTOS

    TRANSMISIÓN INALÁMBRICA DE FOTOS

    Eouard Belin crea un sistema inalámbrico de transmisión de fotografías.
  • PELÍCULA INFRARROJA

    PELÍCULA INFRARROJA

    Kodak desarrolla la primera película infrarroja para usos científicos y militares.
  • MAN RAY

    MAN RAY

    Experimentó con la abstracción y la rayografía. Se constituyó como el fotógrafo del surrealismo por excelencia.
  • HAROLD EDGERTON

    HAROLD EDGERTON

    Creador del flash moderno Desarrolló un tubo de flash re-utilizable.
  • PELÍCULA A COLOR

    PELÍCULA A COLOR

    Prácticamente al mismo tiempo Kodak en Estados Unidos y Agfa en Alemania desarrollaron una película comercial y viable para capturar fotografías a color.
  • IHAGEE KINE EXAKTA

    IHAGEE KINE EXAKTA

    La Kine-Exakta era una máquina con cuerpo en forma de cuña que disponía de un obturador plano focal de tela de recorrido horizontal que permitía una velocidad máxima de 1/1000 seg. con 20 posiciones y óptica intercambiable.
  • ELECTROFOTOGRAFÍA

    ELECTROFOTOGRAFÍA

    Chester F. Carlson inventa la electrofotografía que se convertiría en la Xerografía.
  • SISTEMA DE ZONAS

    SISTEMA DE ZONAS

    Ansel Adams y Fred Archer formulan el Sistema de Zonas para otorgar al fotógrafo un mayor control sobre el rango tonal en la fotografía a blanco y negro.
  • TONY VACCARO

    TONY VACCARO

    Realiza fotografías durante la II Guerra Mundial. Muchas de ellas fueron censuradas por el gobierno estadounidense debido a la crudeza de las imágenes.
  • TV DESDE UNA CINTA

    TV DESDE UNA CINTA

    Primera transmisión realizada a partir de un programa grabado previamente.
  • AGFA OPTIMA

    AGFA OPTIMA

    Primera cámara totalmente automática para uso amateur.
  • DIGITALIZACIÓN DE IMAGEN ESPACIAL

    DIGITALIZACIÓN DE IMAGEN ESPACIAL

    Se digitalizan imágenes eléctricas obtenidas con una cámara de televisión vidicon de la nave "Ranger 7" y se transmiten a la tierra.
  • SE INVENTA EL TÉRMINO "PÍXEL"

    SE INVENTA EL TÉRMINO "PÍXEL"

    Lo publicó por primera vez Frederic C. Billingsley del Jet Propulsion Lab de la NASA para describir los elementos de una imagen de vídeo.
  • MARC RIBOUD

    MARC RIBOUD

    Realiza la fotografía que sintetiza el ánimo anti-bélico provocado por la guerra de Vietnam.
  • PRIMERA CÁMARA DE VIDEO ELECTRÓNICA

    PRIMERA CÁMARA DE VIDEO ELECTRÓNICA

    En Bell Labs crean una cámara de estado-sólido (electrónica) para capturar imagen de video.
  • PRIMERA CÁMARA DIGITAL

    PRIMERA CÁMARA DIGITAL

    Steven Sasson inventa esta cámara con una resolución de 100 líneas en blanco y negro. Kodak sepultó el invento hasta 1991
  • PRIMERA FOTO DESDE LA SUPERFICIE DE MARTE

    PRIMERA FOTO DESDE LA SUPERFICIE DE MARTE

    El Viking I aterriza en marte y hace fotos con su cámara de 6 bits
  • CÁMARA ELECTRÓNICA INSTANTÁNEA

    CÁMARA ELECTRÓNICA INSTANTÁNEA

    Jon S. Barret obtiene la patente para una cámara que imprime las imágenes en papel no-fotográfico.
  • PRIMERA CÁMARA CCD A COLOR

    PRIMERA CÁMARA CCD A COLOR

    Creada por Shigeyuki Ochi, ingeniero en Sony.
  • BITMAP

    BITMAP

    Microsoft desarrolla el archivo bitmap (BMP) que permite producir una fotografía en una computadora gracias a una serie de pequeños puntos llamados "píxeles".
  • CANON D413

    CANON D413

    Canon crea un primer intento para transmitir imágenes de video fijo de los juegos olímpicos de Los Ángeles 1984.
  • PRIMERA IMPRESORA HP DESKJET

    PRIMERA IMPRESORA HP DESKJET

    Hewlett-Packard presenta la primera impresora de impresión de tinta para el mercado masivo.
  • LOMOGRAFÍA

    LOMOGRAFÍA

    Matthias Fiegle, Wolfgang Stranzinger y Sally Bibawy crean el movimiento de la Lomografía.
  • FUJI DS-200F

    FUJI DS-200F

    Primera cámara en utilizar una memoria flash de estado sólido en lugar de memorias volátiles que requerían energía eléctrica.
  • SONY DIGITAL MAVICA MVC-FD5/FD7

    SONY DIGITAL MAVICA MVC-FD5/FD7

    Grababa las imágenes en un floppy-disk y fueron un éxito inmenso: significaron el 40% de las ventas de cámaras digitales cuando se lanzaron.
  • FUJIFILM MX-2700

    FUJIFILM MX-2700

    Primera cámara digital para el consumidor con resolución superior a 1.0 Megapíxel
  • TARJETA SD

    TARJETA SD

    Toshiba y SanDisk crean la tarjeta SD (Secure Digital)
  • SHARP/J-PHONE. J-SH04

    SHARP/J-PHONE. J-SH04

    Primer teléfono móvil con cámara fotográfica integrada.
  • CANON REBEL (300D)

    CANON REBEL (300D)

    Primera réflex digital a un precio inferior a los $1.000 dólares
  • CANON EOS 5D

    CANON EOS 5D

    Primera cámara digital de cuadro completo (full frame) al alcance del público consumidor.
  • GOPRO HERO

    GOPRO HERO

    GoPro lanza su cámara "Hero" e inicia toda una tendencia en la captura de imágenes y video de acción y para deportes extremos.
  • LUMIX G1

    LUMIX G1

    Panasonic lanza la primera cámara de óptica intercambiable sin espejo (Mirrorless).
  • CANON S90

    CANON S90

    Cámara de bolsillo para entusiastas que definiría una nueva categoría.
  • PENTAX 645D

    PENTAX 645D

    Pentax presenta la primera versión digital de su cámara de formato medio.
  • CURIOSTIY ROVER

    CURIOSTIY ROVER

    La NASA da a conocer las tomas fotográficas realizadas por el vehículo explorador todo terreno "Curiosity" de la superficie de Marte.
  • PHANTOM DRONE

    PHANTOM DRONE

    Inicia la era de la fotografía con "Drones"
    DJI lanza un cadricóptero con GPS para el consumidor capaz de adaptar una cámara GoPro Hero para hacer fotografías aéreas.
  • IPHONE 6

    IPHONE 6

    Apple incorpora en su 6a generación del iPhone estabilización óptica, autoenfoque de detección de fase y cámara de 8mpx.