EL AVANCE DE LA INGENIERÍA CIVIL

  • GPS Y OTROS INSTRUMENTOS DE MEDICIÓN
    1960 BCE

    GPS Y OTROS INSTRUMENTOS DE MEDICIÓN

    Con el avance de la tecnología se han construido diferentes métodos y herramientas para hacer levantamientos topográficos requeridos de forma mas exacta y precisa.
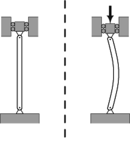
  • OTTO MOHR (1835-1918)
    1935 BCE

    OTTO MOHR (1835-1918)

    Desarrollo el método para determinar la deflexión de vigas (cargas elásticas ó viga conjugada).
  • HARDY CROSS (1885-1959);
    1924 BCE

    HARDY CROSS (1885-1959);

    Quien desarrolló el método de la distribución de momentos, en 1924.
  • PRIMERA Y SEGUNDA GUERRA MUNDIAL
    1914 BCE

    PRIMERA Y SEGUNDA GUERRA MUNDIAL

    Con las guerras mundiales se crearon muchas mediciones y mapas precisos.
  • DIMENSIONES TERRESTRES
    1900 BCE

    DIMENSIONES TERRESTRES

    Algunos científicos la comparan con un cuerpo geoide parecido a una pera o una gota de agua cuyas dimensiones son diámetro ecuatorial 12756,5 Km y diámetro polar 12711.7 Km.
  • Period: 1858 BCE to 2017 BCE

    PERIODO MODERNO

  • 1826 BCE

    PRIMER LIBRO MODERNO

    Este libro fue publicado en 1826 por Louis M. Navier
  • 1800 BCE

    NECESIDAD DE MAPAS

    La necesidad de deslindar fronteras con otros países ocasionó que Francia e Inglaterra hicieran levantamientos con triangulaciones precisas.
  • CREACIÓN DEL TEÓDOLITO
    1787 BCE

    CREACIÓN DEL TEÓDOLITO

  • LOUIS M. NAVIER (1785-1836)
    1785 BCE

    LOUIS M. NAVIER (1785-1836)

    Publicó un tratado sobre el comportamiento elástico de las estructuras.
  • LEONARD EULER (1707-1783).
    1707 BCE

    LEONARD EULER (1707-1783).

    Desarrolló la teoría del pandeo de columnas.
  • Period: 1688 BCE to 1857 BCE

    PERIODO PRE-MODERNO (1688 - 1857)

  • Robert Hooke (1635-1703)
    1676 BCE

    Robert Hooke (1635-1703)

    Desarrolló la ley de las relaciones lineales entre la fuerza y la deformación de los materiales o ley de Hooke
  • JOHN BERNOULLI (1667-1748)
    1667 BCE

    JOHN BERNOULLI (1667-1748)

    Quien formuló el principio del trabajo virtual.
  • ISAAC NEWTON (1642-1727)
    1642 BCE

    ISAAC NEWTON (1642-1727)

    Formuló las leyes del movimiento y desarrolló el cálculo desde el año 1000 y durante este período, de destacaron las Catedrales góticas las que en la actualidad, son testimonio del ingenio de sus constructores.
  • INVENCIÓN DEL TELESCOPIO
    1609 BCE

    INVENCIÓN DEL TELESCOPIO

    En el siglo XVII la geodesia contribuye a la imvención del telescopio.
  • PERÍODO TEMPRANO (1493- 1687)
    1493 BCE

    PERÍODO TEMPRANO (1493- 1687)

    Cimientos para los desarrollos analíticos posteriores especialmente en la resistencia de materiales.
  • APLICACIONES
    1300 BCE

    APLICACIONES

    Desarrollo y creación de la brújula, la topografía se vuelve mas científica y especializada. quien desarrolló el método de la distribución de momentos, en 1924.
  • MEDICIONES
    1000 BCE

    MEDICIONES

  • Period: 1000 BCE to 2017 BCE

    EVOLUCIÓN HISTÓRICA DE LA TOPOGRAFÍA

  • GRIEGOS Y ROMANOS (600 AC± 476 DC)
    1 BCE

    GRIEGOS Y ROMANOS (600 AC± 476 DC)

    Los templos griegos como el Partenón.
    Los romanos introdujeron la bóveda y el arco para la construcción de techos y puentes respectivamente.
  • PERÍODO MEDIEVAL (477 - 1492)
    477

    PERÍODO MEDIEVAL (477 - 1492)

    Gran desarrollo de las matemáticas.

Want to make a timeline like this?

Use Timetoast to turn dates, events, milestones, and phases into a clear visual timeline you can build and share. Timetoast is a timeline maker for work, school, research, and stories.