Atom struct1

Atomic Structure

  • Democritus

    Democritus

    The Atomic Theory
    -really 400 BC
    -born in Abdera, Greece
    -commonly known as "laughing philosopher"
    -matter was composed of small particles called atoms that could be divided no further
    -"atomos" is Greek for indivisible
  • Lavoisier

    Lavoisier

    Lavoisier's Discoveries
    -lived from 1743 until 1794
    -created the Law of Conservation of Mass
    -says that when a chemical reaction occurs, mass is neither created nor destroyed, only changed
    -mass before = mass after
    -used a sealed container in which, after a chemical reaction occured, the mass of the container did not change
    -equivalent to the conservation of energy in the sense that when energy or mass is enclosed in a system, its quantity does not change
  • Proust

    Proust

    Law of Definite Proportion
    -law of definite proportion; also known as Proust's Law
    -states that regardless of the source of the water, it always contains the same percentages of hydrogen and oxygen
    -11% hydrogen, 89% oxygen
    -every chemical compound contains fixed and constant proportions
  • Dalton

    Dalton

    Dalton's Atomic Theory
    -early 1800's
    -also known as "Father of Atomic Theory"
    -an english chemist
    -his interest in meteorology and gases lef him to discover Lavoisier and Proust's findings
    -his atomic theory:
    1. elements composed of atoms, which are tiny and indivisible
    2. atoms of the same element are identical, and atoms of any single element are different from atoms in another element
    3. law of conservation of mass (Lavoisier)
    4. law of definite proportion (Proust)
    5. law of multiple proportion (Dalton)
  • Thomson

    Thomson

    Cathode Ray Tube
    -1895-1897
    -used a cathode ray tube to determine the existence of electrons and protons
    -a cathode ray tube is a tube of gas with a complete electrical circuit
    -reported that the rays were actually negatively charged particles in motion
    -the particles weigh less than atoms
    -therefore, electrons were partly responsible for the make of an atom
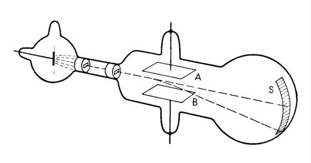
  • Rutherford

    Rutherford

    Gold Foil Experiment
    -1909-1911
    -made the gold foil experiment
    -created this model by directing alpha particles (created by radioactive decay of radium) at a sheet of gold foil
    -foil surrounded by a sheet of zinc sulfide that would light up when hit by the alpha particles (7 different pathways in his experiment)
    -3 conclusions: atoms mostly empty space, atoms have a small, dense center (nucleus), nucleus is positively charged
  • Millikan

    Millikan

    Oil Drop Experiment
    -1909-1911
    -determined the charge of an electron through the oil drop experiment
    -the experiment balanced the gravitational force and buoyant electric forces of tiny charged droplets of oil that were between 2 metal electrodes
    -the density of the oil was known, so the mass and gravitational/buoyant force could be determined
    -this let Millikan determine the charge on the oil droplets when they were in equilibrium
    -concluded the charge of an electron was 1.5924x10^-19
  • Chadwick

    Chadwick

    The Neutron
    -born in England on October 20th, 1891
    -was led to proving the existrence of a neutron when he accompolished the transmutation of light elements
    -he did this by hitting the elements with alpha particles that let him observe the atoms nucleus
    -he found that atoms of neon had different masses
    -an atom had to have a third particle with no charge, but a mass
    -discoveries led to construction of the atomic bomb

Plan projects on a visual timeline

Map milestones, phases, deadlines, and key events in one place so the sequence is easier to see and share. Timetoast is a timeline maker for work, school, research, and stories.