atomic Model Timeline

  • Democritus
    460

    Democritus

    460-370 B.C. Democritus believed that all matters were made of a basic element. he also beleived that the basic element was an atom and that the small atoms move around in a void. with that theory, there also came the theory that some atoms have different shapes depending on their properties. leading philosophers didnt beleive him and his ideas were rejected because the void didnt exist.
  • Dalton's Theory

    Dalton's Theory

    After democritus, it took 2 millenia before an atom was declared a fundemental chemical object, by John Dalton. His 5 main points of his atomic theory were that-
    1. everything was made out of atoms and they cant be changed, destroyed, or created.
    2. all atoms of a given element are similar in weight and properties.
    3. compounds have to do with 2 or more different atoms put together.
    4. a chemical reaction involves atoms being rearranged, combined, and separated.
  • Periodic Table

    Periodic Table

    The periodic table was made by Dmitri Mendeleev. it was made to state the properties of elements. theyre put together by their atomic numbers.
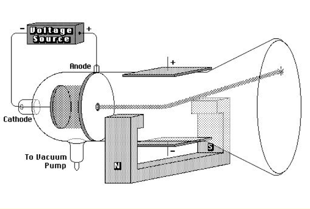
  • J J Thompson's Cathode Ray Experiment

    J J Thompson's Cathode Ray Experiment

    Knowing that there were components that made up an atom, he suggested that the fudemental unit (the electrons) were 1000x smaller than the atom. Using the cathode ray tube, J J Thompson was able to observe streams of electrons in vacuum tubes. the research he did witht his gave him the results that led him to beleve that there are both positive and negative forces at work inside the atom.
  • J J Thompson's Plum Pudding Model

    J J Thompson's Plum Pudding Model

    J J Thompson made this model before the nucleus was discovered. The model shows that the electrons (that have a negative charge) was surrounded by a soup of positive energy to balance the negative energy given off by the electrons. sometimes the atom was beleive to have a "cloud" of positive energy instead of a soup. even though everythign to prove the positive charge was there, it was considererd ill-defined. and proven wrong in 1094 by Rutheford.
  • Rutheford's Theory

    Rutheford's Theory

    Ernest Rutherford created a model of the atom. Using his gold-foil experiment, he over turned his model (that Rutherford proved was inncerect) and found out that there is a small nucleus in the atom. He also theorized that the electrons, in the atom, floated freely around in an electron cloud.
  • Bohr's Theory

    Bohr's Theory

    Neil Bohr took the quantum theory and applied it to Rutherford's theory. Instead of having electrons floating around, he calculated that there are different energy levels. when given more enery, theelectrons will move up to a higher anergy level and when given off less energy, the electrons go down an energy level. figuring out that electrons cant stay in beteween energy levels, showing that Ruthefords theory was incorrect.
  • Quantum Mechanical Model

    Quantum Mechanical Model

    Ernest Schrödinger and Werner Heisenberg believed that electrons are in orbitals, the probability zone that arent orbits and dont have an exact location that can be pinpointed int he atom. they developed quantum numbers based on theories from Einstein and Plank and also found out that electrons are particles AND waves at the same time.
  • James Chadwick's discovery

    James Chadwick's discovery

    James chadwick worked under Rotherford. in 1932 he discovered the third subatomical particle, the Neutron and that the Neutrons are particles of an electrical charge.
  • atomic bombs in the WWII

    atomic bombs in the WWII

    The US dropped atomis bombs on Hiroshima and Nagasaki and thats what made Japan surrender to the US and its allies, ending WWII. There has been contraversies over this weapon ever since that event. The atommic bomb contains a neutrom in the plotonium nucleus. the plutonium itself is unstable or radioactive because its atoms are constatnly falling apart. every time the atoms break up into smaller and stable parts, it releases off more energy. that energy is what becomes the radiation.
  • Radiocarbon Dating

    Radiocarbon Dating

    the technique was made by Willard Libby and his colleagues in Chicago of 1949. The chairman of the cambridge confrence wrote a journal say that the libby half-life should still be used as of right now and laboratories today still use the libby figure. they do it to avoid inconsistencies.

Plan projects on a visual timeline

Map milestones, phases, deadlines, and key events in one place so the sequence is easier to see and share. Timetoast is a timeline maker for work, school, research, and stories.