Atom

Atomic Timeline

  • Early atom theory
    430

    Early atom theory

    From 430 B.C. to 360 B.C. Democritus
    Theorized that all matter was made of indivisible particles (atom’s). He based this theory off of logical reasoning, as experiments were not considered necessary then.
  • Law of conservation of mass

    Law of conservation of mass

    In 1789, Antoine Lavoiser stated that mass is neither created nor destroyed in any ordinary chemical reaction. Lavoiser was a french chemist who was born in 1743, in Paris, France. He hypothesised that the mass of the reacting substance is alwasy equal to the mass of the substance produced by the chemical reaction. This theory is called the Law of conservation of mass.
  • law of definite proportions

    law of definite proportions

    James Proust was Born on September 26, 1754 in Angers, France. Proust discovered that a chemical compound always contains exactly the exactly the same proportion of elements as its mass. To come to this conclusion, multple experiments were made. This became known as the Law of Definite Proportions or the Proust's Law
  • Spherical atomic model

    Spherical atomic model

    This model was created by John Dalton. Dalton was born on September 6, 2013, in CUmberland, U.K. He was an English Chemest and believed that the atom was one sphere that could not be broken into smaller pieces.
  • Atomic theory

    Atomic theory

    Atomic Theory (1803): John Dalton
    He formed the first Atomic Theory when combining the Law of Conservation of Mass and The Law of Definite proportions. He came up with the ideas that:
    1) All elements are composed of microscopic, indestructible, particles called atoms
    2) All atoms of the same element are identical
    3) Compounds always have the same relative number and types of atoms
    4) Chemical reactions involve only an arrangement of atoms.
  • Atomic theory etc.

    Atomic theory etc.

    However not all of Daltons theorys were true. The Discovery of subatomic particles proves that atoms are divisible. The discovery of Isotopes proves that atoms of the same element do not all have the same mass.
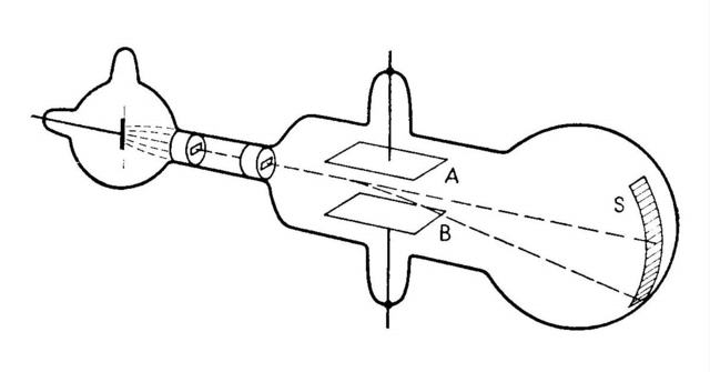
  • The Discovery of the Electron (Cathode ray tube experiment)

    The Discovery of the Electron (Cathode ray tube experiment)

    J.J. Thomson was born on December 18, 1856 in Manchester. Thomson proved that atoms were made up of smaller particles and that the particles have a charge. In his experiment he sent electricity through cathode ray tube and the gas glowed. The particles bent towards the positive side of a magnet, meaning that the ray must contain electrons, which contain a negative charge. He said that all atoms must have electrons and all atoms were electrically neutral. He was awarded a noble prize in 1937.
  • Quantum Theory

    Max Planck, a german scientist, was born in 1858 in Kiel, Germany. In 1900 he created the theory based on the principle that matter and energy have the properties of both particles and waves. This theory is was named the quantum theory. Plank also believed that energy can be absorbed or released in small units called quantras.
  • Plum Pudding Model

    Plum Pudding Model

    J.J. Thomson created this model. This was a modification of Dalton’s model. Thomson proposed that the atom was a soft positive charged sphere with negative electrons in it. He prooved this from his Cathode Ray Tube Experiment. (In previous slide)
  • The gold foil experiment

    The gold foil experiment

    Ernest Rutherford was born in Brightwater, New Zealand on August 30, 1871. He studied in the University of Cambridg and demonstrated that the atom has a tiny, massive nucleus, during a gold foil experiment. Alpha particles were fired at a piece of gold foil. The particles were postiviely charged. When fired, it was expected that the particles would be slightly deflected. However, most of the particles past right through the sheet, some were deflected and 1 out of 1800 were greatly deflected.
  • The discovery of the nucleus

    The discovery of the nucleus

    Since there was very few deflections in the gold foil experiment, performed by Ernest Rutherford, the nucleus must be rather small. Also, it must be very dense due to the deflections. It also must be a positive charged since some were deflected.
  • Nuclear model/ Planetary Model

    Nuclear model/ Planetary Model

    Ernest Rutherford created this model with a small nucleus in the center of it. The electrons were distributed around the nucleus. Scientist rejected his model because the chemical properties of the atom were unexplainable.
  • Bohr Model

    Bohr Model

    In 1914, Neils Bohr created the Boh rmodel. Bohr was born on October 7, 1885, in Copenhagen, Denmark. He figured that electrons move around the nuclus like planets rotate around the sun. The electrons would orbit around the nucleus in different levels. Fixed energys would seperate each level from one another. Also, the electrons could jump to another level.
  • The discovery of the proton

    The discovery of the proton

    William Prout was born on January 15, 1785, in Gloucestershire, United Kingdom. He studied at the University of Edinburgh. Porut came up with the idea that every atom has subatomic particles with a positive 1 electric charge. However, the proton later got its name in 1920 by Ernest Rutherford.
  • Quantum mechanical model/ electron could model

    Quantum mechanical model/ electron could model

    Many people took part in the creation of the electron cloud model. However, Erwin Schrodinger, an Austrian physicist came up with most of the model in 1926. The electron cloud was concluded to be on the outside of the nucleus, where the electrons would be stored.
  • The Uncertainty Principle

    The Uncertainty Principle

    Werner Heisenberg was a German theoretical physicist and a key creator of quantum mechanics. The uncertainty Principle is the origin of Heisenburgs uncertainty relations principle. It He uses the formula DxDp>h/2(3.14). The principle shows that the momentum and position of a particle cannot be precisely determined at the same time.
  • The discovery of the neutron

    The discovery of the neutron

    James Chadwick created the idea of the neutron. Chadwick was an English physicist born in Bollington, United Kingdom in 1891. When discovering this particle, he realized it had a neautral charge. He named the particle neutron after the idea that they are neautral. It was also dicovered that these neutrons are so small that they cannot even be seen with a microscope. After his discovery, Chadwick was awarded the Nobel Peace Prize in Physics.
  • Modified nuclear model

    Modified nuclear model

    James chadwick was born in Cheshire, England October 20, 1891. He graduated in 1911 from the Honours School of Physics. In 1932 Chadwick confirmed the existence of the neutron and created the modifed nuclear model. He was laterawarded the nobel prize for physics in 1935.